Гост торцевые фрезы: Фреза торцевая по металлу ГОСТ 26595-85 купить во Владимире
Содержание
Фрезы торцовые с механическим креплением многогранных пластин (гост 26595-85)
Обозначение | D, |
| |||
3-гранной j | 4-гранной j | 5-гранной j | круглой | мм | Z |
2214-0351 2214-0359 2214-0368 2214-0377 2214-0395 2214-0421 2214-0539 2214-0554 2214-0462 2214-0479 2214-0506 2214-0524 | 2214-0353 2214-0362 2214-0371 2214-0379 2214-0397 2214-0423 2214-0542 2214-0556 2214-0464 2214-0482 2214-0508 2214-0526 | 2214-0355 2214-0364 2214-0373 2214-0382 2214-0399 2214-0535 2214-0544 2214-0277 2214-0466 2214-0484 2214-0511 2214-0528 | 2214-0357 2214-0366 2214-0375 2214-0384 2214-0402 2214-0292 2214-0293 2214-0558 2214-0468 2214-0486 2214-0513 2214-0531 | 50 63 80 80 100 125 160 200 250 315 400 500 | 5 6 8 10 10 12 14 12 14 18 40 50 |
Примечание: Пример
условного обозначения торцовой фрезы
диаметром 80 мм, праворежущей, с механическим
креплением трехгранных пластин из
твердого сплава, с числом зубьев 8: Фреза
2214-0368 ГОСТ 26595-85.
То же, для пластин
из безвольфрамового твердого сплава:
Фреза 2214-0368 Б ГОСТ
26595-85.
Таблица 3
Фрезы торцовые насадные со вставными ножами, оснащенными пластинами из твердого сплава (гост 24359-80)
Обозначение | D, | Z | Обозначение | D, | Z |
2214-0001 2214-0003 2214-0005 2214-0007 | 100 125 160 200 | 8 8 10 12 | 2214-0011 2214-0013 2214-0015 2214-0017 2214-0019 | 250 315 400 500 630 | 14 18 20 26 30 |
Примечания: 1.
Главный угол в плане j
может быть 450,
600,
750,
900
Пример условного
обозначения праворежущей торцовой
фрезы
с ножами, оснащенными
пластинами из твердого сплава марки
Т5К10 диметром 200
мм и углом j
= 600:
Фреза 2214-0007 Т5К10
600
ГОСТ 24359-80
Таблица 4
Фрезы торцовые концевые и насадные с механическим креплением круглых твердосплавных пластин
ГОСТ | Обозначение | D, | Z |
22088-76
| 2214-0321 2214-0322 2214-0323 | 50 63 80 | 5 6 8 |
22086-76
| 2214-0291 2214-0292 2214-0293 2214-0294 | 100 125 160 200 | 10 12 14 16 |
Примечание: Пример
условного обозначения фрезы диаметром
80 мм:
Фреза 2214-0323 ГОСТ
22088-76
Таблица 5
Марки твёрдого сплава для торцовых фрез
| Марка | |||
Вид | углеродистой | труднообраба- тываемой стали |
чугуна | |
| стали |
| HB | HB |
черновое | Т5К10, Т5К12Б ТТ7К12Б, ТТ10К8Б | ВК8, ВК10-ОМ, ВК15-ОМ | ВК8 ВК10 ВК15 |
— |
получистовое | Т15К6, Т14К8 | ВК8, ВК6-ОМ, ВК10-ОМ | ВК6 ВК6М
|
ВК6М |
чистовое | Т15К6, Т30К4 | ВК8, ВК6М | ВК2, ВК3, ВК3М, | ВК3М |
Примечание: В
сплаве ВК6М буква М означает мелкозернистую
структуру.
Буквы ОМ — особо
мелкозернистая структура
Таблица 6
Фрезы дисковые, концевые, насадные, отрезные, пазовые, прорезные, торцевые, трехсторонние, червячные, шпоночные | Гамма-Про
| Фреза — инструмент с несколькими режущими лезвиями (зубьями) для выполнения операции фрезерования различных материалов. В нашей компании Вы можете приобрести или заказать поставку либо изготовление следующих видов фрез: |
| Чертеж | Наименование | Стандарт | Характеристики |
| Фрезы дереворежущие дисковые пазовые с напаянными пластинами | ГОСТ 11291-81 | 125-180 мм | |
| Фрезы дереворежущие дисковые пазовые | ГОСТ 11290-80 | 125-180 мм | |
| Фрезы дереворежущие затылованные радиусные | ГОСТ 21893-76 | 100-125 мм | |
| Фрезы дереворежущие концевые цилиндрические | ГОСТ 8994-80 | 4-25 мм | |
| Фрезы дереворежущие насадные с затылованными зубьями для обработки пазов и гребней | ГОСТ 13235-79 | 105-180 мм | |
| Фрезы дереворежущие насадные с затылованными зубьями для обработки четверти и кромки | ГОСТ 18480-73 | 160-180 мм | |
| Фрезы дереворежущие насадные цилиндрические сборные | ГОСТ 14956-79 | 80-180 мм | |
| Фрезы дисковые двусторонние со вставными ножами, оснащенными твердым сплавом | ГОСТ 6469-69 | 90-315 мм | |
| Фрезы дисковые двухсторонние со вставными ножами из быстрорежущей стали для обработки легких сплавов | ГОСТ 16229-81 | 80-315 мм | |
| Фрезы дисковые для нарезания зубьев звездочек к приводным роликовым и втулочным цепям | ГОСТ 28281-89 | 63-200 мм | |
| Фрезы дисковые для разрезки винипласта и органического стекла | ГОСТ 20327-74 | 100-250 мм | |
| Фрезы дисковые для разрезки листов из термопластичных пластмасс | ГОСТ 20325-74 | 160-250 мм | |
| Фрезы дисковые для разрезки органического стекла, полиэтилена и полистирола | ГОСТ 20326-74 | 160-250 мм | |
| Фрезы дисковые для разрезки пластмасс типа гетинакс | ГОСТ 20318-74 | 100-400 мм | |
| Фрезы дисковые для разрезки пластмасс типа текстолит | ГОСТ 20317-74 | 100-400 мм | |
| Фрезы дисковые для разрезки термопластичных пластмасс диаметром 315 и 400 мм | ГОСТ 20328-74 | 315-400 мм | |
| Фрезы дисковые зуборезные мелкомодульные | ГОСТ 13838-68 | 16-32 мм(m=0. 2-1.0) | |
| Фрезы дисковые пазовые | ГОСТ 3964-69 | 50-200 мм | |
| Фрезы дисковые с механическим креплением многогранных твердосплавных пластин | ГОСТ 28437-90 (ГОСТ 28437-2015) | 80-315 мм | |
| Фрезы дисковые с разнонаправленными зубьями для разрезки винипласта и органического стекла | ГОСТ 20324-74 | 100-200 мм | |
| Фрезы дисковые со вставными ножами, оснащенные твердосплавными пластинами, для разрезки пластмасс типов гетинакс, текстолит и стеклопластиков | ГОСТ 20321-74 | 240-400 мм | |
| Фрезы дисковые трехсторонние с разнонаправленными зубьями для обработки легких сплавов | ГОСТ 16227-81 | 50-100 мм | |
| Фрезы дисковые трехсторонние со вставными ножами из быстрорежущей стали для обработки легких сплавов | ГОСТ 16228-81 | 80-315 мм | |
| Фрезы дисковые трехсторонние со вставными ножами, оснащенными твердым сплавом | ГОСТ 5348-69 | 90-315 мм | |
| Фрезы дисковые трехсторонние | ГОСТ 28527-90 | 50-200 мм | |
| Фрезы дисковые, оснащенные твердосплавными пластинами, для разрезки пластмасс типов текстолит, гетинакс и стеклопластиков | ГОСТ 20320-74 | 200-400 мм | |
| Фрезы для обработки пазов сегментных шпонок | ГОСТ Р 53412-2009 | 4-32 мм | |
| Фрезы для обработки пазов типа «Ласточкин хвост» | ГОСТ 29118-91 | 16-31,5 мм | |
| Фрезы для обработки пазов типа «Ласточкин хвост» | ГОСТ Р 52967-2008 | 16-31,5 мм | |
| Фрезы для обработки Т-образных пазов | ГОСТ Р 53004-2008 | 11-95 мм | |
| Фрезы для обработки Т-образных пазов | ГОСТ 7063-72 | 11-95 мм | |
| Фрезы концевые двузубые с резьбовым хвостовиком для обработки легких сплавов | ГОСТ 16226-81 | 8-40 мм | |
| Фрезы концевые диаметром от 12,5 до 50 мм с коническим хвостовиком, оснащенные винтовыми твердосплавными пластинами | ГОСТ 20537-75 | 12,5-50 мм | |
| Фрезы концевые для обработки деталей из высокопрочных сталей и титановых сплавов на станках с программным управлением | ГОСТ 23248-78 | 8-63 мм | |
| Фрезы концевые для обработки деталей из легких сплавов на станках с программным управлением | ГОСТ 23247-78 | 8-63 мм | |
| Фрезы концевые для обработки легких сплавов | ГОСТ 16225-81 | 1,5-50 мм | |
| Фрезы концевые и шпоночные с хвостовиком конусностью 7:24 | ГОСТ Р 50572-93 | 25-80 мм | |
| Фрезы концевые конические с цилиндрическим хвостовиком для обработки штампов | ГОСТ 29129-91 | 2,5-20 мм | |
| Фрезы концевые обдирочные с коническими хвостовиками | ГОСТ 15086-69 | 25-80 мм | |
| Фрезы концевые радиусные с коническим хвостовиком для обработки легких сплавов | ГОСТ 16231-81 | 12-50 мм | |
| Фрезы концевые с коническим хвостовиком, оснащенные твердосплавными коронками | ГОСТ 20534-75 | 10-22 мм | |
| Фрезы концевые с коническим хвостовиком | ГОСТ 17026-71 | 10-63 мм | |
| Фрезы концевые с механическим креплением многогранных твердосплавных пластин | ГОСТ 28435-90 | 16-50 мм | |
| Фрезы концевые с механическим креплением сменных многогранных твердосплавных пластин | ГОСТ 28435-2015 | 16-50 мм | |
| Фрезы концевые с механическим креплением сменных режущих пластин для обработки древесины и композиционных древесных материалов | ГОСТ Р 53926-2010 | 8-125 мм | |
| Фрезы концевые с резьбовым хвостовиком, оснащенные твердосплавными коронками | ГОСТ 20535-75 | 10-22 мм | |
| Фрезы концевые с удлиненной рабочей частью и винтовыми зубьями со сменными твердосплавными пластинами | ГОСТ 28709-90 | 32-100 мм | |
| Фрезы концевые с хвостовиком конусностью 7:24, оснащенные винтовыми твердосплавными пластинами | ГОСТ Р 53414-2009 | 32-63 мм | |
| Фрезы концевые с цилиндрическим хвостовиком, оснащенные винтовыми твердосплавными пластинами | ГОСТ Р 53413-2009 | 10-40 мм | |
| Фрезы концевые с цилиндрическим хвостовиком, оснащенные твердосплавными коронками | ГОСТ 20533-75 | 10-14 мм | |
| Фрезы концевые с цилиндрическим хвостовиком | ГОСТ 17025-71 | 2-28 мм | |
| Фрезы концевые с цилиндрическим, коническим хвостовиками и хвостовиком конусностью 7:24 | ГОСТ Р 53002-2008 | 2-71 мм | |
| Фрезы концевые с цилиндрическим, коническим хвостовиками и хвостовиком конусностью 7:24 | ГОСТ 32831-2014 | 2-71 мм | |
| Фрезы концевые твердосплавные | ГОСТ 18372-73 | 3-12 мм | |
| Фрезы концевые удлиненные диаметром от 20 до 50 мм с коническим хвостовиком, оснащенные винтовыми твердосплавными пластинами | ГОСТ 20538-75 | 20-50 мм | |
| Фрезы концевые цельные со сферическим концом из твердого сплава и керамических материалов с цилиндрическим хвостовиком | ГОСТ ISO 15917-2015 | 0,2-20 мм | |
| Фрезы концевые цельные твердосплавные с закруглением вершин и цилиндрическим хвостовиком | ГОСТ Р ИСО 22037-2013 | 0,5-20 мм | |
| Фрезы концевые цельные твердосплавные | ГОСТ 32405-2013 | 1,0-20 мм | |
| Фрезы концевые, оснащенные винтовыми твердосплавными пластинами, для обработки деталей из высокопрочных сталей и титановых сплавов на станках с программным управлением | ГОСТ 24637-81 | 16-50 мм | |
| Фрезы насадные торцово-цилиндрические с винтовыми зубьями со сменными твердосплавными пластинами | ГОСТ 28719-90 | 50-125 мм | |
| Фрезы отрезные для обработки легких сплавов | ГОСТ 16230-81 | 63-200 мм | |
| Фрезы пазовые затылованные | ГОСТ 8543-71 | 50-200 мм | |
| Фрезы прорезные и отрезные | ГОСТ 2679-93 | 20-315 мм | |
| Фрезы прорезные и отрезные | ГОСТ 2679-2014 | 20-315 мм | |
| Фрезы резьбовые гребенчатые | ГОСТ 1336-77 | 10-100 мм | |
| Фрезы с напаянными твердосплавными пластинами для обработки Т-образных пазов | ГОСТ 10673-75 | 11-95 мм | |
| Фрезы сегментные для разрезки пластмасс типов текстолит и гетинакс | ГОСТ 20319-74 | 250-400 мм | |
| Фрезы торцовые концевые с механическим креплением круглых твердосплавных пластин | ГОСТ 22088-76 | 50-80 мм | |
| Фрезы торцовые концевые с механическим креплением пятигранных твердосплавных пластин | ГОСТ 22087-76 | 63-80 мм | |
| Фрезы торцовые насадные для обработки легких сплавов | ГОСТ 16222-81 | 50-80 мм | |
| Фрезы торцовые насадные мелкозубые со вставными ножами, оснащенными пластинами из твердого сплава | ГОСТ 9473-80 | 100-630 мм | |
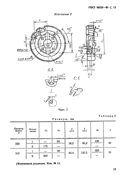
| Фрезы торцовые насадные со вставными ножами с твердосплавными пластинами для обработки легких сплавов | ГОСТ 16223-81 | 100-315 мм | |
| Фрезы торцовые насадные со вставными ножами, оснащенными пластинами из твердого сплава | ГОСТ 24359-80 | 100-630 мм | |
| Фрезы торцовые насадные | ГОСТ 9304-69 | 40-100 мм | |
| Фрезы торцовые насадные | ГОСТ 27066-86 | 40-630 мм | |
| Фрезы торцовые с механическим креплением многогранных пластин | ГОСТ 26595-85 | 50-500 мм | |
| Фрезы торцовые с механическим креплением сменных многогранных пластин | ГОСТ 26595-2014 | 50-500 мм | |
| Фрезы угловые двухсторонние | ГОСТ Р 50181-92 | 50-100 мм | |
| Фрезы фасонные полукруглые выпуклые, вогнутые и радиусные | ГОСТ 9305-93 | 50-160 мм | |
| Фрезы фасонные полукруглые выпуклые, вогнутые и радиусные | ГОСТ 9305-2014 | 50-160 мм | |
| Фрезы цилиндрические | ГОСТ 29092-91 | 50-160 мм | |
| Фрезы червячные для шлицевых валов с прямобочным профилем | ГОСТ 8027-86 | 63-140 мм | |
| Фрезы червячные мелкомодульные для цилиндрических зубчатых колес с эвольвентным профилем | ГОСТ 10331-81 | m=0. 15-0.9 | |
| Фрезы червячные цельные для нарезания зубьев звездочек к приводным роликовым и втулочным цепям | ГОСТ 15127-83 | 56-236 мм | |
| Фрезы червячные чистовые для шлицевых валов с эвольвентным профилем | ГОСТ 6637-80 | m=0.5-10.0 | |
| Фрезы червячные чистовые однозаходные для цилиндрических зубчатых колес с эвольвентным профилем | ГОСТ 9324-80 | m=1.0-25.0 | |
| Фрезы червячные цельные чистовые для цилиндрических зубчатых колес с эвольвентным профилем | ГОСТ 9324-2015 | m=1.0-25.0 | |
| Фрезы шпоночные с цилиндрическим, коническим хвостовиками и хвостовиком конусностью 7:24 | ГОСТ Р 53003-2008 | 2-70 мм | |
| Фрезы шпоночные | ГОСТ 9140-78 | 2-70 мм | |
| Фрезы шпоночные с цилиндрическим, коническим хвостовиками и хвостовиком конусностью 7:24 | ГОСТ 9140-2015 | 2-70 мм | |
| Фрезы шпоночные цельные твердосплавные | ГОСТ 16463-80 | 2-12 мм | |
| Фрезы шпоночные цельные твердосплавные | ГОСТ 16463-2016 | 2-12 мм | |
| Фрезы шпоночные, оснащенные твердосплавными пластинами | ГОСТ 6396-78 | 10-40 мм | |
Фрезы, устанавливаемые на центрирующие оправки с конусом 7:24. Присоединительные размеры. Центрирующие оправки | ГОСТ Р 50560-93 | ||
[TFB GUNFEST] Ghost Gunner AK-47 Kit
Опубликовано в AK-47 / AK-74 / Everything AK, Daily News, Gun Fest 2021 by Nicholas C with No Comments
Метки: ak 47, Defense Distributed, стрелок-призрак, Gun Fest 2021
В последний день GunFest 2021 Коди Уилсон и его команда из Ghost Gunner представили свой Ghost Gunner 3 и новый продукт, который долго ждали в прошлом. год. Комплект Ghost Gunner AK-47 наконец-то здесь.
Photo by Defense Distributed
В январе прошлого года на SHOT Show 2020 Джеймс взял интервью у Стивена из Defense Distributed о Ghost Gunner 3 (GG3), и Стивен рассказал, что GG3 может резать сталь. Тогда дразнили АК.
В сентябре прошлого года я сделал обзор Ghost Gunner 3.
Я вырезал несколько нижних частей AR-15 и вырезал раму Polymer80 с помощью GG3. Поэтому я был очень рад увидеть комплект Ghost Gunner AK-47 80% на GunFest, поскольку он упоминался на веб-сайте Ghost Gunner более года.
Набор Ghost Gunner AK-47 относительно прост. Вы начинаете с предварительно сложенной квартиры. GG3 будет резать сталь за вас.
80% приемник АК скоро будет готов.
Важнейшей частью является зажим для удержания ствольной коробки AK-47 80% в GG3. В отличие от приспособлений AR-15, которые изготовлены из пластика литьем под давлением или, в некоторых случаях, напечатаны на 3D-принтере, комплект Ghost Gunner AK-47 поставляется с алюминиевыми приспособлениями.
Приспособления изготовлены из фрезерованного алюминия, а прокладки внутри ресивера будут либо из делрина, либо из другого материала, который еще предстоит определить.
Приемник AK для GG3 «Вы дополняете меня»
Одной из основных проблем, связанных с использованием GG3, является то, как GG3 исследует деталь, чтобы он знал, где она находится в трехмерном пространстве, и таким образом он может точно фрезеровать области, которые необходимо обработать.
резать.
Посмотрите на фото выше. Есть черный блок с проводом зонда, прикрепленным к болту, проходящему через этот блок. Ниже фото, глядя на блок щупов с другой стороны.
Видите серебристый алюминиевый блок на конце черного кирпича? Это тот же тип блоков зондов, который используется в наборе зажимных приспособлений Polymer 80. Для тех, кто не заглядывал в GG3 или не читал мой обзор, скажу, что концевая фреза действует как зонд, поэтому машина знает, где она находится в трехмерном пространстве. На голом 80% алюминиевом ресивере концевая фреза касается верхней части нижнего ресивера, затем перемещается к углублению для магнита и касается боковой и задней поверхности углубления для магнита. Это работает, только если приемник из чистого алюминия. Провод зонда крепится к винту пистолетной рукоятки. Таким образом, когда концевая фреза касается приемника из необработанного алюминия, она замыкает электрическую цепь, тем самым завершая последовательность зонда.
Та же концепция применима к Polymer80. Поскольку ресивер Polymer 80 не алюминиевый и не токопроводящий, невозможно прикрепить концевую фрезу непосредственно к раме. Та же проблема возникает при сборке Ghost Gunner AK-47. Используя приспособления и блоки датчиков, GG3 может исследовать однородный материал.
Ниже приведены фотографии всего комплекта АК без ствольной коробки, сложенной на 80%. Как вы можете видеть, окончательная версия представляет собой единую цельную приспособление по сравнению с двумя частями, которые мы видели на GunFest.
Фото Defense Distributed
Фото Defense Distributed
Фото Defense Distributed
Сколько времени это займет?
Фото Defense Distributed
По словам Коди и Андреса из Defense Distributed, GG3 фрезерует отверстия, необходимые для изготовления ствольной коробки.
GG3 просверлит переднюю и заднюю цапфы, а также отверстия в спусковой скобе менее чем за 45 минут. И в отличие от сборки рамы AR-15 или Polymer80, комплекту Ghost Gunner AK-47 нужна только концевая фреза. Для резки стали не требуются никакие другие инструменты.
Фото Defense Distributed
Сколько и когда можно получить?
Photo by Defense Distributed
Полный набор Ghost Gunner AK-47 включает шаблон, ствольную коробку AK-80%, концевую фрезу 1/4″, необходимые винты и код для резки AK-47. Комплекты будут стоить 215 долларов, а дополнительные приемники будут стоить 80 долларов на их веб-сайте.
Завершенный AK-47 «Призрачный стрелок»
Чтобы показать, что это можно сделать, Defense Distributed выпустила готовый AK-47, который был выточен на GG3.
Для тех, кто хочет знать, как собрать АК, у Брэндона Эрреры есть видео, объясняющее этот процесс.
Defense Distributed выпустила еще один интересный продукт, но это не то, что они делают.
Это 3D-печатный пистолет под названием FGC-9. Люди, разработавшие FGC-9, являются родственными душами с Defense Distributed.
Некоторым из нас удалось пострелять из FGC-9. Это был интересный опыт стрельбы из распечатанного огнестрельного оружия.
Собирайся, пора домой
Огромное спасибо Коди Уилсону за его работу и свободу, которую он пытается сохранить. Выше — не очень хорошее фото, но все, что мне удалось сделать, это дорожный кейс Defense Distributed для их демо-версии GG3. Я сказал Коди Уилсону, что он должен изменить его, чтобы ему не приходилось постоянно доставать его из коробки, а просто иметь проводные соединения, которые выходят из корпуса, так что все, что ему нужно сделать, это открыть корпус, подключить провода и понеслось, делая свободу. В качестве альтернативы ему следует продать вставку из пенопласта с закрытыми порами или просто начать использовать их для упаковки своих GG3, которые они продают. Таким образом, покупатели могут взять эту пену и пойти купить чехол для пеликана нужного размера и положить пену внутрь.
Теперь они тоже могут перевозить свой GG3 куда захотят. Коди, похоже, воспринял эту идею. Я надеюсь, что это осуществится. Я с нетерпением жду выхода набора Ghost Gunner AK-47. У меня все еще есть GG3, и, возможно, я смогу получить комплект для обзора. Мы увидим.
Тропа города-призрака | Pennsylvania Trails
Аккордеон
40 миль по тропе города-призрака. Из Диллтауна в Эбенсбург и обратно. Хорошая погода. Тропа в хорошем состоянии, но участок между Винтондейлом и Нанти-Гло намного грубее, чем я помню.
июнь 2022 г.
мбассани
C&I Spur в Нанти Гло и обратно в Винтондейл — 2 октября 2021 г.
октябрь 2021 г.
Стефентриада
День 1: Парк Сейлор -> Диллтаун; День 2: C&I Spur Trail
сентябрь 2021 г.
трейлбанни
RT от Диллтауна до тупиковой ответвления к северному ответвлению Блэклик-Крик
июнь 2021 г.
Джессивираго
Верум — мост Клагхорн
ноябрь 2020 г.
davegoll.occ
Групповая поездка
сентябрь 2020 г.
vicki1960
Отличная поездка август 2020 г.
август 2020 г.
cfernscpa
Отличная тропа
август 2020 г.
jcarey52
большая тропа
июль 2020 г.
jens.email436
Поездка с востока на запад!
июль 2020 г.
хбгиргерс
Первые 20 миль я чувствовал себя как в Колорадо
июнь 2020 г.
Полдигельман
Отличная поездка!
июнь 2020 г.
сандрюс0727
хорошая тропа
апрель 2020 г.
Даниэль Франк4
Чудесная поездка
июнь 2019 г.
мвитковскисмит
Твердая тропа, но приготовься к холму
июнь 2019 г.
мстемка
Потрясающая тропа, тонны истории и потрясающие виды
декабрь 2018 г.
повторно разгневан1
Достойная тропа.

июнь 2018 г.
макфдтони
прекрасная тропа
июнь 2018 г.
смк
Мне стало грустно
сентябрь 2017 г.
джвираго
Большая тропа
август 2017 г.
аралварез.альварес
Красиво, но нужен порт-горшок!
август 2017 г.
арниекаф
отличная трасса!
Октябрь 2016 г.
дерек.деан27_tl
Не страшная поездка
сентябрь 2016 г.
Синди.Гернер.5
Отличная тропа для упражнений и еды
август 2016 г.
jcmnbnet
Возвращение домой
июль 2016 г.
старый 11-й
Должен ездить
июль 2016 г.
дан.мейерс1
Очень понравилось!!!
июнь 2016 г.
Дженкрамер1
Большая тропа и живописная местность
сентябрь 2015 г.
crbrcknl
супер веселая поездка!
сентябрь 2015 г.
ЛиндсейстКлэр
Веселье даже под дождем
сентябрь 2015 г.
Джимхопф
Очень веселая поездка
август 2015 г.
сам.золин
Тропа Диллтауна потрясающая
июль 2015 г.
дмк355
Может быть, идеальное развлечение между Уильямспортом и Питтсбургом
июнь 2015 г.
Джекибоб
Супер поездка!
май 2015 г.
деб41ч
Хорошая беговая дорожка
апрель 2015 г.
слэндгсмит
Поездка к 20-летию
сентябрь 2014 г.
бхавенер
Тропа города-призрака… КОНЕЦ ЗА КОНЕЦ!
сентябрь 2014 г.
Рене.т.хилл.1
сентябрь 2014 г.
патч
Хорошая трасса и поездка с достойными удобствами
август 2014 г.
cwallace128
Прекрасная поездка.
июнь 2014 г.
филантус
Винтондейл и далее
апрель 2014 г.
гтбимер
Иди, не беги
Октябрь 2013
гиатиноб
Поездка на 8 миль от Блэклика до Клагхорна
Октябрь 2013
гтбимер
Тропа старого родного города
Октябрь 2013
т.молодой
Блэк-Лик-Крик Радиологическая угроза
Октябрь 2013
Финмайкл
Лучший отель типа «постель и завтрак» на тропе города-призрака — Эбенсбург, Пенсильвания
август 2013
джейфлинн
Поверхность слишком рыхлая для шоссейного велосипеда
Июль 2013
чемпион87
RR Артефакты — Диллтаун Нэнти Гло 6-1-13 и 6-23-13
июнь 2013
богатый баллаш
RR Артефакты — Хешбон в Диллтаун 17.
03.2013
март 2013 г.
богатый баллаш
Железнодорожные артефакты — Черный Лиз в Хешбон 3-11-2013
март 2013 г.
богатый баллаш
Драгоценный камень родного города
Января 2013
кдандреа
Фантастическая тропа
декабрь 2012 г.
эрикдуранте
Люблю эту тропу
июнь 2012 г.
6xchamps
Тропа города-призрака
июнь 2012 г.
Арианна
GTT — Дорога, которой можно гордиться!
июнь 2012 г.
братан7445
Великая тропа с богатой историей добычи полезных ископаемых
август 2011 г.
bob934kindle
Не так уж много призраков, но тем не менее
июль 2011 г.
дрлйсимон
Страна чудес
июнь 2011 г.
бендико
Очень понравилась тропа города-призрака
май 2011 г.
арнесон4
Филиал Rexis
март 2011 г.
бигногг
Прекрасный осенний день.
октябрь 2010 г.
Слармон
Великий Путь.

июль 2010 г.
Райвестон
Теперь открыт из Блэк Лик в Эбенсбург
ноябрь 2009 г.
Пол507
Тропа города-призрака завершена
октябрь 2009 г.
иптамерикорпс
Проект моста через город-призрак — установлены мосты через город-призрак
август 2009 г.
иптамерикорпс
Мосты готовы
август 2009 г.
погладить
Обновление проекта моста через город-призрак (2 апреля 2009 г.)
июнь 2009 г.
иптамерикорпс
Обновление проекта моста через город-призрак
декабрь 2008 г.
pmckinney07
«Вс. 3 сентября 2007 г.»
октябрь 2007 г.
bbeabout
15-16 августа Трейл-райд
октябрь 2007 г.
железный
GT Trail — одобрено финансирование моста
октябрь 2006 г.
indparks_tl
Обновление «Тропа города-призрака»
сентябрь 2006 г.
jsb
Отличная поездка
август 2006 г.
Давидрейер
«Эбенсбург-Нанти Гло и участок Хешбон»
август 2006 г.
Анонимный
Новая информация и новый путеводитель
май 2006 г.
indparks_tl
Дополнения по следу
декабрь 2003 г.
Анонимный
Поездка в июле 2003 г.
июль 2003 г.
Леобеккер
Красота и образование
июнь 2003 г.
Анонимный
Хорошая тропа
март 2002 г.
Анонимный
Беговые лыжи
февраль 2001 г.
..700
2-1.0)
15-0.9
Присоединительные размеры. Центрирующие оправки