Крепление профлиста к стене: Монтаж профлиста на стену
Содержание
Крепление профнастила на кровлю, стены и потолок– инструкция и полезные советы мастера.
Содержание:
- Как крепить профнастил на кровлю
- Технология крепления профнастила на крышу
- Крепление и монтаж профнастила на стены
- Крепление и монтаж профнастила на потолок
В следующей статье рассказывается о процессе крепления профнастила к кровельному или стеновому покрытию и обо всех деталях и нюансах, которые необходимо учитывать при этом.
Само собой разумеется, что у любого современного способа крепления профнастила окажутся какие-то индивидуальные особенности. Сами способы крепления могут различаться в зависимости от используемого оборудования и крепежной техники. Крепеж не в последнюю очередь зависит от материала основания – древесины, стального покрытия или еще какого-нибудь. К тому же сам способ выполнения крепления не менее важен.
Полезно: Когда используют саморезы для крепления профнастила к кровельным прогонам металлического или деревянного типа, то выполнять крепеж начинают с самого нижнего края волны.
При этом обычно используются особенные оцинкованные саморезы, оснащенные уплотнительными шайбами, которые в свою очередь изготовлены из неопреновой резины.
Если Вы выполняете потолочное крепление профнастила, или к металлическому и деревянному основанию, то рекомендовано использовать особенные саморезы для профилированного листа. Надо заметить, что цена на саморезы по металлу несколько больше цены саморезов по дереву.
Как крепить профнастил на кровлю
Крепление профнастила на кровлю
Давайте посмотрим на процесс крепления профнастила на кровле и возможные причины выбора того или иного вида профильного листа для кровли.
Известно, что не только в качестве кровельного покрытия может использоваться профлист – его применяют для отделки заборов, фасадов и других строительных сооружений. Тем не менее, обязательно следует отметить, что в качестве кровли профнастил и смотрится и функционирует лучше всего. Кровля, изготовленная с помощью такого материала, может выдерживать огромные внешние нагрузки и обеспечивать невероятно надежную защиту любого внутреннего помещения.
Поэтому нет ничего удивительного в том, что профлист, прежде всего, сегодня набирает популярность как кровельный материал.
Естественно, никак нельзя обойти стороной простоты кровельного монтажа, при котором используется профильный лист. Несмотря на свой небольшой вес, эти листы отличаются высокими показателями прочности – при их использовании нет необходимости усиливать каким-нибудь образом стропильную систему. Такие очевидные преимущества способствуют и облегчению кровельного монтажа, и ускорению рабочего процесса.
Даже если крыша обладает небольшим наклоном, возможен монтаж ее кровельного покрытия с помощью профнастила. Это тоже, безусловно, преимущество, потому что не со всяким кровельным покрытием возможно такое осуществить.
Не следует также забывать о длительном сроке службы, которым обладает оцинкованная кровельная сталь, изготовленная по новейшим технологиям и которая обеспечивается прекрасной защитой от возможной коррозии.
Кстати: И если установка профилированных листов не требует использование каких-нибудь особенных приспособлений (например, V-образных креплений), то такая установка может быть осуществлена любым человеком, даже не обладающим строительными навыками.
Еще раз отмечаем простоту данного материала в обращении. Он довольно легко может разрезаться и крепиться с помощью саморезов или даже простых болтов.
А еще его можно закреплять практически в любую погоду, так как никакого существенного температурного или атмосферного влияния на профнастил не осуществляется.
Технология крепления профнастила на крышу
Сначала расстилается материал в необходимом порядке с обязательным учетом зависимости перекрытия профильных листов от общего наклонного угла кровли. (можете посмотреть это видео)
Нет ничего сложного в такой зависимости, и в нее входит несколько цифр. Показатель листового нахлеста пропорционален кровельному наклону. Но когда уклон не больше пятнадцати градусов, то рекомендовано выбирать максимальный нахлест (около двадцати сантиметров).
- Если уклон больше тридцати градусов, показатель величины нахлеста становится меньше на пятнадцать сантиметров.
- Если кровельные углы наклона составляют меньше десяти градусов (то есть, просто критично малы), то необходима дополнительная герметизация существующих нахлестов.

- Когда мы говорим о технологии крепежа профнастила на кровлю, нельзя обходит вниманием необходимость изготовления такого элемента, как обрешетки. Обрешетка зачастую зависит от кровельного угла, если говорить о ее размерах. Благодаря увеличению волны или наклонного угла, увеличивается шаг обрешетки. К тому же эти показатели сильно влияют на общее число волн, которые используются в перекрытии. Когда высота волны маленькая, а угол наклона – также небольшой, рекомендовано использовать как минимум две волны в перекрытии.
- После окончательного завершения подготовительных процессов (к примеру, изготовления обрешетки, осуществления разметки листов), выполняется самостоятельный крепеж профнастила. Главным крепежом для профильного листа, который позволяет осуществлять самое качественное крепление, являются особенные кровельные саморезы, оснащенные удобной и простой шляпкой. Благодаря этой шляпке саморезы закручиваются механическими и электрическими инструментами. На краю каждого такого самореза располагается сверло, которое позволяет проделывать аккуратное и достаточно качественное отверстие в листе без каких-либо дополнительных повреждений.
Непосредственно под шляпкой располагается изоляция. Сама же шляпка оснащена специальным покрытием, которое защищает место крепления от возможной коррозии, солнечного воздействия и влаги. Таким образом, повышается срок эксплуатации кровельного покрытия. - При монтаже профнастила нужно учитывать, что болты вкручиваются, как правило, только в профильные впадины. Для основной части кровельного покрытия и коньков используют особенные саморезы, отличающиеся своей длиной. Когда осуществляется ручное вкручивание саморезов, нужно точнее рассчитывать усилие. Если оно будет превышено, то повредится изоляция и нарушится протекционная кровельная функция.
- Когда длина листов профиля совсем перекрывает кровельную конструкцию с одной стороны, они крепятся параллельно карнизной планке с помощью саморезов. При заказе профнастила необходимо помнить про необходимый запас для свеса, который обычно составляет примерно сорок миллиметров. А когда длина профнастила оказывается меньше длины кровельной конструкции, необходимо выполнить укладку кровельного материала в несколько рядов так, чтобы покрыть всю крышу.
Начинать, естественно, следует с нижних рядов, и двигаться вверх. На каждый последующий ряд используется нахлест в размере около двадцати сантиметров. - Рекомендовано размещение крепления примерно по центру в то время, как длина конькового крепежа может зависеть от показателя высоты гофры профильного листа.
- Когда листы профиля крепятся к обрешетке, то зачастую используется около семи саморезов на один квадратный метр кровельной площади. Соединяются же листы друг с другом посредством особенных вытяжных заклепок. Естественно, что цвет таких заклепок полностью совпадает с цветом кровельного покрытия.
Крепление и монтаж профнастила на стены
Для того чтобы обеспечить надежность и высокую эффективность кровельного основания, которое будет использоваться под профнастил, необходимо заранее продумать возможные защитные меры от сырости и даже конденсата, которые могут образоваться при эксплуатации.
Крепление и монтаж профнастила на потолок
- С целью прокладки всевозможных коммуникаций в современном строительстве обычно используются специальные v-образные крепления в виде особенных кронштейнов, с помощью которых осуществляется крепеж под перекрытием из профнастила.

Схема крепления на потолок
- Такое крепление довольно легко регулировать при необходимости под самые разнообразные профили трапециевидной формы. С этой целью заранее выясняется и отмечается точка сгиба.
- Потом кронштейн закрепляется посредством штифтов – в находящихся по бокам отверстиях даже имеется специальная резьба для них.
И если говорить о главных методах крепления профнастила, то предоставлена самая нужная и основная информация. В дальнейшем потребуется только внимательное соблюдение рекомендаций и осуществление правильного подбора кровельного материала или же материала для облицовки стены, изготовления забора и так далее.
Монтаж профнастила на стену инструкция
Инструкция по монтажу стенового профнастила.
Прочность и долговечность профилированных стальных листов, а также простота, скорость их монтажа и сравнительно небольшая стоимость позволяют интенсивно использовать профнастил как стеновой строительный материал.
Стеновой профнастил применяется, в основном, при строительстве утеплённых фасадов зданий, при изготовлении сэндвич-панелей и при возведении различных ограждений.
Стеновой вариант профнастила имеет низкую или среднюю высоту профиля, например, профнастил марок С-13 (типы А и Б, двух видов каждый), С-25 (двух видов), С-44. Рассмотрим, как происходит обшивка стен профлистом при строительстве утеплённого фасада здания.
Возможны три варианта облицовки стен профлистом:
- первый вариант предусматривает утепление уже построенной стены,
- во втором варианте профнастил выступает в качестве внутреннего и наружного облицовочного материала сборной стеновой конструкции,
- в третьем варианте профлист выполняет функции стены.
Вариант утепления уже построенной стены.
При утеплении фасада профлистом к несущей стене крепятся кронштейны. После установки кронштейнов производят монтаж плит утеплителя. Крепление плит утеплителя к основанию производится полиамидными дюбелями тарельчатого типа.
Для защиты утеплителя от ветра применяется ветровлагозащитная пленка. Далее к кронштейнам крепят вертикальные П-образные направляющие, крепление производят при помощи заклепок. С помощью направляющих выполняют выравнивание стены. Между направляющими и ветрозащитной плёнкой создаётся воздушный зазор. К вертикальным направляющим крепятся горизонтальные П-образные профили с шагом, необходимым для надежного крепления профлиста. Стеновой профлист закрепляют самонарезающими шурупами с уплотнительными прокладками.
Вариант, когда профнастил выступает в качестве внутреннего и наружного облицовочного материала сборной стеновой конструкции:
Рассмотрим вариант утеплённой панели, когда в качестве внутренней и внешней облицовки применяются листы стенового профнастила . Прежде чем начать монтаж панелей, выполняется горизонтальная гидроизоляция фундамента, обычно это рубероид, уложенный в 2 слоя. Нижний направляющий профиль крепят к фундаменту универсальными анкерными шурупами.
Стойки устанавливают вертикально в нижний направляющий профиль и закрепляются. Таким образом из направляющих и стоечных термопрофилей собирается каркас панели.
Пароизоляционная пленка монтируется горизонтальными слоями с закреплением её на внутреннюю сторону панели саморезами с потайной головкой. Утеплитель укладывается в каркас из термопрофилей. Дополнительное крепление утеплителя к стойкам панелей не предусматривается, утеплитель держится за счет своих упругих свойств, от проседания фиксируется перемычками панели. Ветрозащитную мембрану крепят к стеновой панели горизонтальными полосами снизу вверх с вертикальными и горизонтальными нахлёстами.
Поверх пленки, прижимая её к стеновой панели, монтируется шляпный профиль, закрепляясь к стойкам панели саморезными болтами. Монтаж профлиста на стену осуществляется самосверлящими болтами с уплотнительной прокладкой через одну волну в нижний прогиб. Вертикальные стыки профлистов закрепляются заклепками.
Обрамление оконных проёмов выполняется наружными уголками, верхним отливом, водоотливом оконным – комплектующими элементами из окрашенной оцинкованной стали. В углах здания устанавливаются наружными уголки, закрывающие стык профлистов. Комплектующие элементы придают стене законченный внешний вид.
Вариант, не требующий утепления: профлист выполняет функции стены
В случае, когда здание не требует утепления, профлист выступает в качестве стены, защищающей внутреннее пространство от ветра и осадков. В данном случае профлист крепится к стеновым ригелям каркаса самосверлящими болтами с уплотнительной прокладкой. Крепление профнастила к стене производится через одну волну в нижний прогиб, стыки профлистов скрепляются заклепками с шагом 300 мм.
Транспортировка, погрузка и выгрузка
Для того чтобы продукция была доставлена без повреждений, наши специалисты соблюдают следующие требования по транспортировке:
- погрузка осуществляется на ровное основание кузова.
Длина кузова не превышает длину коробок с продукцией; - во время транспортировки обеспечивается защита продукции от перемещения и механического повреждения;
- скорость транспортного средства не превышает 80 км/ч. Движение автотранспорта производится без резких разгонов и торможений.
Требования по погрузке и выгрузке продукции:
- погрузка и выгрузка коробок с продукцией осуществляется при помощи специальной подъёмной техники с мягкими стропами. При длине коробок более 5 метров применяются траверсы;
- при ручной выгрузке листы поднимают и переносят аккуратно, в вертикальном положении. Не допускаются перегибы листов.
Цена обшивки стен профлистом
Точная цена монтажа стенового профнастила определяется после осмотра здания и зависит от объема и сложности работ. Проконсультироваться со специалистами по поводу стоимости обшивки стен профлистом Вы можете по телефону 8 800 555 48 06 или воспользовавшись формой обратной связи.
Cпособы монтажа стенового профнастила
На практике уже давно доказано, что монтаж профилированных листов является несложным процессом.
Технология монтажа профнастила относится к одному из основных его преимуществ, которое можно выделить из огромного числа достоинств этого материала.
Схема обшивки стены профлистом.
Благодаря именно простоте выполнения монтажных работ профнастил стал материалом, который особенно любят использовать не только профессиональные строители, но и любители. А если еще сюда приплюсовать разнообразие цветов профнастила, то сразу понятно, почему он стал так востребован и популярен сегодня.
Виды профилированных листов
Говорить сегодня о листах профнастила, как только о материале для кровли, уже нет абсолютно никакого смысла. Так как профнастил с огромным успехом применяется и как отделочный материал для облицовки стен, и оградительных конструкций. Исходя из этого, по назначению листы профнастила делятся на два типа:
Монтаж стенового профлиста имеет свои отличительные особенности. Чтобы он был выполнен на качественном уровне, следует правильно провести весь процесс монтажа и уделить пристальное внимание нюансам.
Итак, чем больше у профлиста высота гребня, тем его показатели прочности выше. Отсюда вывод, профлист для кровли должен иметь повышенные показатели прочности, а это значит, что материал, имеющий более высокий гребень – кровельный профнастил. Исходя из этого, существуют некоторые ограничения по высоте гребня волны. Стеновой профилированный лист ограничен высотой гребня от 8 до 20 мм. Под эти размеры попадают следующие марки профнастила:
Буква “С” обозначает, что данный профлист относится к категории стенового профнастила, цифра – высота гребня волны. Чем сильнее нагрузки ветра, тем данная цифра должна быть больше. Все довольно-таки просто.
Порядок выбора профилированного листа
Остановимся более подробно на назначении различных марок материала. Если в вашем проекте строительства здания заложена облицовка фасада профнастилом, то есть крепление его на стену строения, то для данной цели необходимо применять профнастил с маркой С8. Не нужно понапрасну тратить свои средства, приобретая более прочный материал, а соответственно и более дорогостоящий.
По мнению специалистов, профилированный лист марки С8 отлично подходит для отделки стены.
А вот если вы планируете соорудить забор из профлиста, который должен надежно защищать ваш загородный участок, то для этой цели лучше всего применить, как минимум, материал марки С18, так как он обладает повышенной прочностью. Именно такой материал способен хорошо справиться с высокими нагрузками ветра.
Выбирая профнастил, следует учесть, что приобретать материал необходимо только лишь с полимерным покрытием. На сегодняшний день существует много производителей профнастила, в зависимости от которых покрытие материала может быть исполнено из пурала, пластизола или полиэстера. Следует также уделить некоторое внимание выбору толщине профилированного листа. Профнастил производится со следующими стандартными параметрами материала: 1,00 мм, 0,8 мм, 0,7 мм, 0,55 мм и 0,5 мм. Как правило, выбор толщины материала зависит от климатических характеристик среды его применения. Наибольшую популярность имеют профили толщиной 0,7 мм и 0,5 мм.
Порядок выполнения монтажных работ
Схема монтажа профлиста на утепленную стену.
Крепление профилированных листов к стене можно разделить на три способа:
- крепление к уже возведенной стене;
- крепление к сборной конструкции стены. Инструкция монтажа профлиста данным способом предусматривает применение его как для внутренних, так и для внешних отделок помещений;
- крепление профлиста, который будет выполнять функцию самой стены.
Инструкция монтажа профнастила к стене первым способом отличается тем, что материал будет играть двойную функцию, где облицовка стены – это первая, а защита материала теплоизоляции – это вторая. То есть монтаж профилированного листа на стену требует ее первоначальное утепление с применением листовых или рулонных материалов теплоизоляции. Процесс монтажа профлиста в первую очередь начинается с монтирования кронштейнов, путем крепления их к стене саморезами или дюбелями. После этого на стены крепятся утеплительные плиты при помощи специальных саморезов (грибков) или же обычных саморезов с широкими шайбами.
Дальше поверх плит прокладывается полиэтиленовая пленка, она будет выполнять роль защиты утеплителя от проникновения в него влаги. Далее выполняется монтаж каркаса для крепления профлистов.
Как правило, для этой цели используется металлический направляющий профиль (П-образной формы). В первую очередь монтируются вертикальные профили, крепить которые нужно к предварительно установленным кронштейнам, после этого устанавливаются между ними горизонтальные перемычки. Выполняя монтаж поперечных профилей, следует учесть, что их расположение должно быть удобным для крепления листов профнастила. После того, как будет готова конструкция каркаса под профнастил, можно выполнять крепление стенового профнастила. Крепить материал к профилям необходимо саморезами по металлу, которые имеют подкладку под шляпку.
Второй способ монтажа профилированных листов
Материал к каркасу крепить необходимо саморезами по металлу, которые имеют подкладку под шляпку.
Данный способ монтажа, как правило, применяется в каркасном строительстве, где роль каркаса играет металлический профиль, как основа стены.
Инструкция монтажа профнастила к стене вторым способом требует предварительного проведения гидроизоляции фундамента. Для этого необходимо установить на верхней поверхности фундамента сложенный в два раза рубероид. Этого будет вполне достаточно. После чего на фундамент монтируется профиль, крепить его к фундаменту необходимо с помощью универсальных саморезов. Затем в установленный профиль монтируются стойки, которые крепить можно так же саморезами. Таким образом, получится своеобразный каркас строения в виде панелей. После этого с внутренней стороны панелей нужно уложить пароизоляционный материал, крепление которого выполняется с помощью саморезов имеющих потайную головку. Далее можно укладывать утеплительный материал, который с его внешней стороны необходимо закрыть полиэтиленовой пленкой.
На этом все, стена готова, можно приступать к монтажу стенового профнастила. Перед началом монтажа профилированных листов по всей длине стены монтируется шляпный профиль, который и будет местом фиксации профлистов.
Точно так же, как и в первом способе, материал к каркасу крепить необходимо саморезами по металлу, которые имеют подкладку под шляпку. Стыки листов профнастила крепятся заклепками. Для того чтобы завершить внешний вид строения, нужно применить дополнительные элементы. К примеру, для обрамления окон дома используются отливы и уголки, для закрытия углов строения также применяются уголки. Все дополнительные элементы производятся из оцинкованной стали и имеют такие же цвета, как и листы основного материала.
Третий способ монтажа профилированных листов
Данный способ является самым простым, так как не имеет никакой сложности подхода к выполнению всего процесса монтажа. В этом способе крепление профлистов выполняется точно по технологии монтажа забора. Но инструкция этого способа имеет определенные отличия в крепеже материала. Все остальное это точный монтаж профнастила на забор. Крепление листов материала нужно производить в его нижнюю часть волны, при этом через волну, иначе говоря, очень часто.
Места стыковки листов скрепляются заклепками через каждые 30 см.
Способы монтажа стенового профнастила
Расчет количества саморезов на 1м2 профилированного листа + видео урок
Нормы расхода профнастила на 1м2 — как рассчитать
Крепление профнастила на крыше саморезами: особенности и типы крепежной фурнитуры
Стеновой профнастил имеет высокую волну. Его можно устанавливать, как вертикально, так и горизонтально. Чаще всего его используют для перекрытий, ограждений, а также отделочных работ. На сегодняшний момент различные виды профнастила, а том числе и стеновой – самый популярный и доступный строительный материал.
Сегодня хотелось бы поговорить о монтаже данного профнастила.
Благодаря своей пластичности, данный строительный материал способен принимать различные формы. Именно поэтому его часто используют в кровельных работах, для облицовки потолков и стен, а также для возведения заборов и прочих ограждений.
Монтаж стенового профнастила
Осуществлять крепления листов профнастила необходимо после подготовки стен.
Для начала необходимо утеплить стену. Используя специальные анкера необходимо по всей площади стен сделать теплоизоляцию. Только после данной процедуры можно приступать к установке профиля (Г-образного).
Нужно помнить о том, что необходимо предусмотреть обветривание стен, чтобы исключить скопление влаги между стеной и профнастилом. Поэтому вы должны сделать нужное расстояние.
После того, как создан каркас профиля, к нему можно начинать крепить листы стенового профнастила. Крепится он с помощью саморезов по металлу, под шляпку которых, лучше всего положить пластиковую шайбочку. Непосредственно для работы с саморезами используйте шуруповерты.
Есть еще вариант монтажа листов профнастила, когда в качестве каркасов, в роли основы стены, применяются металлические профили. Поэтому, не нужно спешить с монтажом, для начала необходимо выполнить грамотную гидроизоляцию фундамента. Для этого будет достаточно обычного рубероида. После этого можно приступить к прикручиванию профиля к фундаменту.
Затем в профиль вставляются стойки, которые также крепятся универсальными саморезами. Теперь каркас готов.
Теперь на внутренней стороне панелей необходимо сделать пароизоляцию, который крепится все теми же саморезами. Можно приступать к установке утеплителя, который необходимо защитить ветрозащитной пленкой. Наступает речь о монтаже стенового профнастила на установленный по всей ширине стены шляпный профиль.
Крепится он также как и в предыдущем варианте, с помощью саморезов, под которые подкладываются пластиковые шайбы. Остается с помощью заклепок закрепить стыки листов.
Еще один самый простой вариант крепления стенового профнастила, так как он не требует практически никакой подготовки. Данный способ крепления не сложнее установки забора, только выглядеть все будет немного иначе. Для установки листов потребуется более частое крепление саморезов, которые вкручиваются в нижнюю часть, через волну (т.е. чаще чем обычно). Стыки также необходимо крепить заклепками, через каждые 30 см.
Чтобы окончательно завершить строительство, можно использовать специальные элементы в виде уголков.
С монтажом мы разобрались, осталось определиться с выбором профнастила.
Маркировка стенового профнастила
Необходимо выбирать листы с высотой волны от 8 до 20 мм, чаще всего используют листы со следующими маркировками:
1. С8;
2. С10;
3. С18;
4. С20;
5. С21.
Буква «С» говорит о том, что профнастил является стеновым, цифра говорит о высоте волны профиля. Выше я говорил о том, что высота профиля применятся до 20 мм, однако при высокой нагрузке можно (суровые погодные условия) использовать высоту волны в 21 мм.
Выбор стенового профнастила
Перед покупкой стенового профнастила нужно определиться с условиями, в которых он будет использован и исходя из этого выбирать лучший вариант. Для облицовки дома можно использовать профиль высотой в 8 мм, этого вполне хватит.
Не нужно переплачивать большие деньги, так как листы более высокой маркировки будят стоять гораздо дороже. Для строительства забора, лучше всего использовать марку не ниже С18. Это необходимо, чтобы выдержать суровые погодные условия. При очень высокой нагрузке, можно использовать более высокую маркировку.
Чтобы увеличить и без того большой срок эксплуатации листов, можно приобрести полимерные стеновые профлисты, срок службы которых может превышать 50 лет.
Говоря о цвете, стоит помнить о том, что такой строительный материал можно красить. Поэтому можете приобретать листы серого цвета, а потом перекрашивать в наиболее подходящий вам цвет.
Монтаж профнастила: рекомендации по укладке
Профнастил представляет собой материал в виде холодногнутых изготовленных из оцинкованной стали высокого качества листов, пользующийся в последнее время заслуженной популярностью среди застройщиков.
Данная статья расскажет о том, как выполняется монтаж профнастила своими руками на различные поверхности и какие нюансы при этом следует учитывать.
Пластичность профнастила позволяет придавать данному материалу любые формы и размеры, что позволяет широко применять его при выполнении таких работ, как облицовка потолков и стен, покрытие кровель, а также возведение заборов и прочих ограждений, чему способствует и достаточно простой монтаж – профнастил обладает достаточно низким весом, что облегчает его транспортировку и установку.
Данный материал обладает целым рядом преимуществ:
- Высокий срок службы и неподверженность коррозии;
- Неприхотливость кровельного материала и неподверженность воздействию солнечных лучей;
- Высокая прочность материала при небольшой толщине листа;
- Экологическая безопасность.
Еще одно важное качество, которым обладает профнастил – монтаж его может производиться на самых разных элементах конструкции – как на стенах и заборах, так и на кровле.
Независимо от внешнего вида здания для него можно подобрать подходящий вариант профнастила, поскольку на рынке представлен широкий ассортимент различных цветовых решений и конфигураций профилей.
Следует также выделить довольно простой монтаж – видео профнастила наглядно показывает, что легкость возведения забора или покрытия крыши заслуженно делает его наиболее популярным материалом покрытия.
Крепление профнастила стенового
Монтаж стенового профнастила включает в себя три разновидности: утепление уже имеющейся стены, облицовка стены профнастилом снаружи и изнутри, и использование профнастила в качестве самой стены.
Рассмотрим стеновой профнастил – монтаж всех трех вариантов более подробно:
- Утепление имеющейся стены здания. К несущей стене здания крепят кронштейны, после чего выполняют непосредственно монтаж – стеновой профнастил крепится к основанию при помощи полиамидных тарельчатых дюбелей.
Для защиты утеплителя от потоков ветра используются ветровлагозащитные пленки. К кронштейнам с помощью заклепок крепят вертикальные П-образные направляющие, необходимые для выравнивания стены, причем между направляющими и пленкой создают зазор для вентиляции. Далее к направляющим крепят горизонтальные также П-образные профили, шаг которых должен позволять выполнять крепление профнастила достаточно надежно.
Читайте также: Металлочерепица на круглой крыше
Это все, что хотелось рассказать о монтаже профнастила. Более подробно о выполнении данного типа работ можно узнать, посмотрев видео — монтаж профнастила, чтобы иметь наглядное представление о различных тонкостях и нюансах применения данного материала.
Он обладает рядом преимуществ перед другими кровельными материалами, например, профнастил имеет повышенную несущую способность, технология монтажа профлиста позволяет отлично защитить крышу от осадков, этот материал не подвержен коррозии, но самое главное, что цена на профильный лист небольшая.
Также монтаж профнастила можно выполнить без привлечения специалистов, что является еще одним существенным плюсом данного материала.
Установка профнастила, прежде всего, должна производиться с учетом типа материала. На сегодняшнем рынке представлены следующие типы профильных листов:
Следовательно, профлист имеет обширную область применения не только благодаря тому, что инструкция по монтажу профнастила предельно проста, но и потому, что данный материал является универсальным и его можно устанавливать повсеместно.
Выполнить монтаж профнастила самостоятельно — это довольно простая задача, ведь материал очень легок, практичен и несложен в обработке.
Прежде чем начинать какие-либо работы, необходимо составить обмеры, измерить прямоугольность крыши и диагонали скатов. Основным показателем, определяющим длину листов, является длина ската (расстояние от конька до карниза), которая определяется с учетом свеса профлиста с крыши на 40 мм. Еще одним важным показателем в установке контрольных обмеров является нахлест, который необходимо делать при любой технологии монтажа профнастила.
Величина нахлеста напрямую зависит от угла наклона крыши:
Для начала работ по установке профнастила листы необходимо доставить на место проведения работ. Чтобы не повредить материал при его транспортировке и разгрузке, нужно следовать следующим правилам:
После завершения подготовки профлиста к дальнейшей установке приступают к подготовке крыши.
Согласно инструкции по монтажу профнастила, перед началом установки материала требуется подготовить крышу. Делать это необходимо по ряду причин: во-первых, потому что суточные перепады температур приводят к образованию конденсата на нижней поверхности профлиста, во-вторых, испарения, исходящие от внутренних помещений дома, также приводят к образованию воды на поверхности листа, что отрицательно влияет не только на состояние кровли, но и на всю конструкцию крыши. Чтобы избежать таких неприятных ситуаций, как намокание и снижение теплотехнических характеристик утеплителя, промерзание крыши, образование наледей на кровле, гниение стропил и появление плесени, необходимо тщательнейшим образом подойти к подготовке крыши.
Инструкция по подготовке крыши к монтажу профнастила включает в себя следующие этапы:
На первом этапе работ устраивается слой гидроизоляции. Пленку необходимо раскатывать от карниза горизонтально относительно стропил. Провес пленки должен составлять 20 мм, а нахлест — 150 мм.
Второй этап работ включает в себя монтаж утеплителя изнутри чердачного помещения. Независимо от типа утеплителя (маты или плиты) он должен устанавливаться враспор между стропилами с 20-миллиметровым вентиляционным зазором.
На третьем этапе работ поверх теплоизоляции необходимо устроить пароизоляционный слой. Пленку крепят к стропилам степлером, а нахлесты герметично проклеиваются клейкой лентой.
И, наконец, четвертый этап подготовки — сооружение обрешетки. Для обрешетки подойдут обработанные антисептиком бруски сечением 50х50 и доски 32х100 мм. Первым делом поверх стропил на гидроизоляцию, начиная от конька, вертикально прибиваются бруски 50х50 мм, к которым горизонтально крепятся доски.
Первая доска от карниза должна быть на 10-15 см больше остальных. Шаг обрешетки нужно делать в 50 см.
Размер бруса и досок можно подобрать самостоятельно при учете обязательного вентиляционного зазора между кровлей и гидроизоляцией не менее 40 мм.
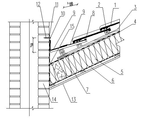
Монтаж профильного листа можно начинать только после обеспечения страховки монтажникам и наличия у них специальной строительной обуви с мягкой подошвой, в противном случае возникает угроза жизни и возможность повреждения профлиста. Передвигаться можно только по закрепленным листам в местах их крепления к балкам. После того как необходимые меры предосторожности выполнены, можно приступать к монтажу, для этого понадобится:
Стоит отдельно сказать о резке листов. Ни в коем случае нельзя резать профлисты абразивным кругом (болгаркой), иначе из-за высокой температуры будет выжжено полимерное покрытие и цинк, что в дальнейшем повлечет за собой процесс окисления и образование ржавчины и подтеков.
Наконец, можно приступать к монтажу профнастила.
Прежде всего необходимо установить карнизную планку и закрепить ее несколькими саморезами с резиновыми уплотнителями. Инструкция по монтажу профлиста предусматривает его крепление, начиная от нижнего края крыши здания. Начиная от карниза, укладывают первый лист со свесами в 35-40 мм и крепят его у свеса крыши саморезами с уплотнительными резинками. После чего устанавливают второй лист внахлест на первый (нахлест зависит от угла ската крыши). Края второго листа выравниваются относительно первого, лист закрепляется аналогично у края свеса.
Установив таким способом 3-4 профильных листа, их выравнивают и закрепляют окончательно саморезами. Крепление профлиста к обрешетке необходимо делать на дне волны профиля, минуя каждую вторую волну.
При дальнейшем наращивании листов необходимо помнить о боковом нахлесте минимум в 20 см.
Правильное крепление профильных листов поможет избежать многих проблем, связанных с эксплуатацией крыши. Крепление профнастила к обрешетке должно производиться в зависимости от следующих факторов:
Чтобы обеспечить надежное и правильное крепление профильных листов к деревянной конструкции крыши, рекомендуется использовать кровельные саморезы, специально предназначенные для профнастила, с размером 4,8х35 мм.
Нижний край листа крепится в подошву волны через каждую вторую волну, а следующие ряды саморезов вкручиваются в шахматном порядке через одну волну. В местах нахлеста листов крепление производится по гребню каждой волны. Общее количество саморезов для крепления должно быть 6-8 штук на один квадратный м.
Завинчивать саморезы рекомендуется с помощью шуруповерта или дрели с низкой скоростью вращения. Крепление профлиста с помощью гвоздей категорически запрещено, так как повышается риск отрыва листа при сильном ветре.
Технические характеристики, простота монтажа и относительно невысокая стоимость профильного листа делают данный материал все более востребованным на строительном рынке. При правильной подготовке и монтаже профнастила конструкции прослужат намного дольше и будут радовать своей красотой.
Кровля со скрытым креплением
— Стеновые панели со скрытым креплением
Что такое стеновые панели со скрытым креплением?
Стеновые панели со скрытым креплением крепятся к основанию без видимых креплений.
Вместо этого панели со скрытым креплением устанавливаются с помощью зажимов и/или винтов, спрятанных за лицевой стороной панели.
Из-за меньшей ширины покрытия и увеличения затрат на установку системы скрытого крепления дороже, чем панели с открытым креплением. Тем не менее, эта категория продуктов по-прежнему предлагает очень экономичное архитектурное решение по сравнению с другими системами, такими как IMP и композитные панели.
Стеновые панели McElroy со скрытым креплением представляют собой уникальный эстетический и архитектурный интерес, сочетающий в себе высокую привлекательность, экономичность и длительный срок службы.
Преимущества панелей со скрытым креплением
Чистый внешний вид
Для проектов, где важна эстетика, трудно превзойти чистые непрерывные линии стеновых панелей со скрытым креплением.
Уменьшение риска утечки
Панели со скрытым креплением имеют меньшую вероятность протечки, так как крепления и/или зажимы расположены за панелью и защищены от непогоды.
Гибкость дизайна
Панели со скрытым креплением обычно можно устанавливать вертикально или горизонтально, а такие опции, как тиснение и различная ширина панели, обеспечивают практически неограниченную гибкость дизайна.
Стеновые панели со скрытым креплением
Ознакомьтесь с нашими доступными стеновыми панелями со скрытым креплением.
Стеновые панели со скрытым креплением
Ознакомьтесь с нашими доступными стеновыми панелями со скрытым креплением.
Панель MSR
MSR сочетает в себе прочность и эстетику в одном профиле, что делает его привлекательным практически для любого проекта, обеспечивая при этом технические характеристики и характеристики водонепроницаемости, требуемые архитекторами и владельцами. MSR также часто называют панелью «Shadow Rib».
Узнать больше
Панель Wave
Панель Wave — это привлекательная стеновая панель, предлагающая превосходную гибкость дизайна.
Чтобы соответствовать архитектурным предпочтениям, Wave можно устанавливать как вертикально, так и горизонтально на сплошную подложку или подрамник. Волна также может быть спроектирована как плавучая система длиной более 40 футов.
Узнать больше
Панель FW
Панель FW представляет собой металлическую панель глубиной 1 1/2 дюйма, предназначенную для использования в вертикальном и горизонтальном исполнении. Панели FW также имеют возможность создания нестандартных откосов от 1 до 3 дюймов.
Узнать больше
Visionline F-Series
Visionline F-Series — система плоских пластин, которая идеально подходит для фасадов и дождевых экранов Visionline доступна в стандартных архитектурных цветах McElroy со стальной основой толщиной 22.
Узнать больше
Меридиан
В Меридиане есть все! Эстетически приятная, собираемая вместе кровельная панель со стоячим фальцем, экономичная и простая в установке.
Без зажимов панели Meridian просто крепятся к кровельному покрытию с помощью крепежных элементов типа «блинообразной головки». Meridian одинаково хорошо подходит как для коммерческих, так и для жилых помещений. Это всегда отличный выбор!
McElroy Metal обеспечивает заводскую надрезку карниза на панелях со стоячим фальцем Meridian.
Узнать больше
Medallion-Lok
Medallion-Lok эффектно подчеркивает красоту и элегантность фальцевой кровли. Добавляя привлекательности любому проекту, узкий вертикальный шов высотой 1,75 дюйма создает четкие, чистые визуальные линии. Medallion-Lok имеет скрытые зажимы и защелкивающийся шов, который устраняет необходимость сшивания на стройплощадке. также является отличным выбором для больших индивидуальных домов.0005
Узнать больше
Instaloc
Instaloc представляет собой защелкивающуюся систему со стоячим фальцем, которая имеет 1-дюймовый шов и устанавливается с помощью скрытых зажимов.
Instaloc предназначен для использования с массивным настилом, а низкопрофильный шов делает панель отличным вариантом для небольших коммерческих и жилых помещений.
Узнать больше
Medallion I
Medallion I — это архитектурная система со стоячим фальцем, в которой используются отдельные узкие накладки на рейки, которые устанавливаются поверх смежных кровельных панелей. Системы Medallion устанавливаются поверх массивного настила. Medallion I также может быть изогнут в соответствии со спецификациями панели радиуса.
Узнать больше
Medallion II
Medallion II — это архитектурная система со стоячим фальцем, в которой используются отдельные широкие накладки на обрешетку, которые устанавливаются поверх смежных кровельных панелей. Системы Medallion устанавливаются поверх массивного настила.
Подробнее
138T
Панели 138T представляют собой технологические достижения в области кровли, которые устанавливают новый стандарт качества стоячего фальца.
Система 138T классифицируется как симметричная система со стоячим швом, в которой используются крышки с механическим швом. Этот продукт предлагает множество преимуществ, в том числе запатентованные решения по восстановлению с использованием лучшего в отрасли метода восстановления существующих металлических или гонтовых крыш. Наиболее важным преимуществом системы 138T является то, что ее легко ремонтировать или изменять после установки. В отличие от асимметричных систем со стоячим фальцем, отдельные панели 138T можно снимать и заменять.
Узнать больше
238T
В то время как кровельные системы со стоячим фальцем использовались на протяжении нескольких поколений, панели 238T представляют собой технологические достижения в области кровли, которые устанавливают новый стандарт характеристик стоячих фальцев. Система 238T классифицируется как симметричная система со стоячим швом, в которой используются крышки с механическим швом. Это семейство продуктов предлагает множество преимуществ, в том числе запатентованные решения по восстановлению с лучшим в отрасли методом восстановления существующих металлических или гонтовых крыш.
Наиболее важным преимуществом системы 238T является то, что ее легко ремонтировать или изменять после установки.
Узнать больше
Стеновые панели McElroy Metal со скрытым креплением
- Панель MSR
- Волновая панель
- Панель FW
- Visionline серии F
- Меридиан
- Медальон-Лок
- Инсталок
- Медальон I
- Медальон II
- 138Т
- 238Т
Страница не найдена — PAC-CLAD
Выполните поиск по всему сайту по ключевому слову или воспользуйтесь одним из параметров расширенного поиска.
Ключевое слово SearchSearch
Advanced Search
Отмена
Поиск по продукту ProductProductmodular Alhighline B1Highline B2Highline C1Highline C2Highline M1Highlin Гофрокартон ″ и 7/8″R-36Snap-CladTite-LocTite-Loc PlusЗащелкивающийся фальцВысокая защелкивающаяся фальцевая панельЗащелкивающаяся рейкаRedi-Крыша со стоячим фальцемPAC-150 90° Single LockPAC-150 180° Double LockPAC T-250PAC-750 SoffitPAC-850 SoffitFlush/Real SoffitPrecision TilesPAC-TITE Angular FasciaPAC-TITE WT Наклонная лицевая панельPAC-TITE WT FasciaPAC-TITE WT Расширенная лицевая панельPAC-LOC FasciaPAC Snap Edge FasciaPAC Snap Edge Расширенная лицевая панель PAC-TITE Gold CopingPAC-TITE CopingPAC-Continuous Cleat CopingPAC-TITE Gold GutterPAC-TITE LT GutterПромышленный водосточный желобPAC-TITE LT Водосточный желобThru-Wall ScupperThru-Wall Сборник PAC-1000C Крышка колонкиPAC-1000F Крышка колонкиPAC-1000R Крышка колонкиPAC-2000C Крышка колонкиPAC- Крышка колонки 2000FPAC-2000R Крышка колонкиPAC-CLAD Система удержания снега HTColorGard®
cancel
Search By ColorColorAcrylic-coated GalvalumeAged BronzeAged CopperAlmondAnodic ClearArcadia GreenAward BlueBeechwoodBerkshire BlueBlack AluminumMatte Black SteelBlack OreBone WhiteBright AnnealedBurgundyBurnished SlateCardinal RedChampagneCharcoalCharwoodCherrywood OakChromium OreCinnamon OreCityscapeClear AnodizedColonial RedCopperCopper MetalCopper PennyCustom ColorDark BronzeDark OakDesert OreEvergreenForest GreenGalvalume PlusGolden BambooGolden MapleGraniteGraphiteGraphite OreGreen Zinc OreHartford GreenHemlock GreenHunter GreenInterstate BlueLight OakLong Grain CherryLong Зерно Oakluxore Baruchluxore Dynastyluxore Onyxluxore Tiger’s Eyeluxore Zincmansard Brownmedium Bronzemedium Oakmercury Oremidnight Bronzemilitary Bluemusket Blue Slate Slate Blate) патина -грин -эр -элеолизиллеровский патиля -салонсмиллеровский патиля -салонсмиллеровский патиля -элеолизиллеровский салонсмиллеровский салон.


Непосредственно под шляпкой располагается изоляция. Сама же шляпка оснащена специальным покрытием, которое защищает место крепления от возможной коррозии, солнечного воздействия и влаги. Таким образом, повышается срок эксплуатации кровельного покрытия.
Начинать, естественно, следует с нижних рядов, и двигаться вверх. На каждый последующий ряд используется нахлест в размере около двадцати сантиметров.
Длина кузова не превышает длину коробок с продукцией;
Для защиты утеплителя от потоков ветра используются ветровлагозащитные пленки. К кронштейнам с помощью заклепок крепят вертикальные П-образные направляющие, необходимые для выравнивания стены, причем между направляющими и пленкой создают зазор для вентиляции. Далее к направляющим крепят горизонтальные также П-образные профили, шаг которых должен позволять выполнять крепление профнастила достаточно надежно.