Роликовый листогиб своими руками чертежи: элементы, устройство и чертежи, сборка
Содержание
Роликовый листогиб ручной: фото, видео, конструкция
Один из видов кровельного покрытия – фальцевая кровля. Листовой металл, соединённый между собой при помощи фальцев, использованный в качестве кровельного материала, позволяет создать красивое, долговечное, а главное, одно из самых надёжных кровельных покрытий.
Выбираем ручной роликовый листогиб
Сегодня многие владельцы загородных домов выбирают фальцевую кровлю. Но стоимость профессиональных услуг кровельщиков немалая, поэтому при возведении собственного дома возникает вполне здравая мысль оптимизировать бюджет строительства, сделав покрытие кровли своими руками. Не секрет, что для выполнения любой работы требуется соответствующий инструмент. Необходим он и для создания фальца и его закрывания.
Содержание:
- Что собой представляет фальц
- Про инструмент
- Как выбрать
- Самостоятельное изготовление
Что собой представляет фальц
Для создания фальцевой кровли используются листы металла, соединённые между собой при помощи фальцевого соединения.
При традиционном способе покрытие состоит из отдельных листов – картин, соединённых стоячими (вертикальные швы) или лежачими (для соединения картин горизонтальными швами) фальцами.
Какой бывает?
Сегодня чаще всего используют рулонный материал, позволяющий делать покрытие только с вертикальными швами. На фото показано, как выглядит фальцевое соединение. Закрывающиеся фальцы бывают двойные и одинарные.
При монтаже фальцевой кровли своими руками чаще всего пользуются традиционным способом – сборке покрытия из отдельных картин.
Про инструмент
Сделать одинарный фалец можно и при помощи молотка и киянки. Однако если предстоят масштабные работы, лучше запастись специальным инструментом – работа пойдёт быстрее и результат будет качественнее.
Для создания фальца обычно используют специальные фальцеобразующие станки. Листогибные станки применяют для изготовления картин стандартного размера для покрытия основной площади кровли. Также листогибы применяются для изготовления фасонных изделий: ендов, коньковых элементов, отливов и прочего.
При монтаже кровли или иных гнутых изделий из листового металла, помимо стандартных изделий, возникает необходимость в изготовлении нестандартных элементов. Для их профессионального изготовления используют дополнительные ручные листогибы.
Одни из самых распространённых моделей ручных бендеров (листогибов) выпускаются австрийской фирмой WUKO Maschinenbau GmbH.
Ручной роликовый листогиб WUKO Bender предназначен для создания элементов кровли или системы водостоков или воздуховодов «по месту». Применение ручного листогиба позволяет добраться до труднодоступных мест, а также производить гибку по криволинейной траектории с различными радиусами, что в принципе не возможно сделать на листогибочном станке.
Как выбрать
В линейке инструментов от фирмы WUKO присутствует несколько моделей различных ручных листогибов, подходящих под разные требования. Принцип их действия одинаков: роликовый механизм загибает кромку при протягивании инструмента вдоль листа вручную.
Инженерами компании в конструкции листогиба оригинально реализован процесс отбортовки металлического листа: роликовые направляющие одновременно служат рукоятью инструмента и метрической шкалой, позволяющей выставить необходимое расстояние для гибки. Видео демонстрирует, как работает инструмент.
- Wuko Mini Bender. Самая простая модель ручного листогиба – Wuko Mini Bender имеет одну пару роликов. Модель 2020 позволяет делать загиб от 5 до 20 мм. Существуют варианты с возможностью получения более высокого борта: 2030 и 2050.
- WUKO DUO BENDER. Для более высокой производительности выпускаются модели с двумя парами роликов. Они также различаются по величине загиба – от 200 мм (модель 3200) до 350 (модель 3350). Так же есть разновидность WUKO DUO Bender 3350 PLUS, укомплектованная дополнительной съемной ручкой и планкой для опоры. Модели с двумя рядами роликов предназначены для работы на прямолинейных участках.
- WUKO Uni Bender. Для работы на криволинейных участках, особенно при устройстве купольных конструкций, целесообразно применять специальные ручные роликовые листогибы.
Они имеют дополнительный опорный ролик, упрощающий движение инструмента по радиусу. - DISC-O-BENDER. Этот инструмент предназначен для формирования лежачего фальца при изготовлении горизонтальных швов, примыканий ендов, и прочих работах.
Самостоятельное изготовление
Конструкция ручного бендера проста и элегантна. В интернете можно найти чертежи, позволяющие при наличии доступа к токарному и фрезерному станкам и умении ими пользоваться повторить инструмент самостоятельно. Однако нужно учитывать, что инструмент заводского изготовления имеет специальное покрытие роликов – наиболее нагружаемой части.
| Познавательный блог | Мобильная врсия | |||
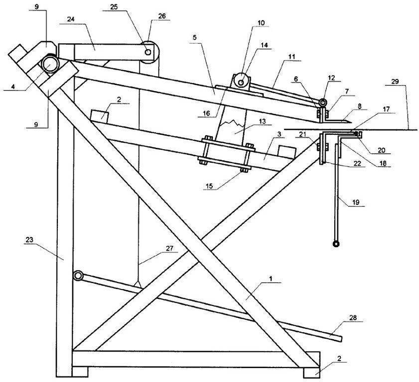
СтраницыПромо | Делаем листогиб своими руками из подручных материаловПри работе с жестью используются два основных инструмента. Конечно, при изготовлении желоба для крыши сарая, можно воспользоваться старым дедовским способом – обстучать киянкой лист оцинковки о край верстака, или при помощи металлического уголка. Примеры таких работ можно увидеть на кровле в частном секторе. Однако качество изделия оставляет желать лучшего, да и металл повреждается в месте ударов. К тому же, кустарное сгибание металла подойдет лишь для простых конструкций. Если профиль изгиба имеет несколько разнонаправленных граней – без профессионального инструмента не обойтись. Например, правильный конек для крыши «на коленке» не согнешь, да и внешний вид будет всегда напоминать о нерадивости хозяина. Покупать промышленный листогиб – непростительная роскошь. Дело мастера боится – мы расскажем, как сделать своими руками столь полезное в частном домовладении приспособление. Для понимания процесса рассмотрим виды листогибов:ВальцовыйВторое название – трехвалковый. Листогибочный прессЗаготовка кладется между двумя пуансонами (шаблонами), под большим давлением они смыкаются, придавая необходимую форму листу металла. Как правило, используется для работы с толстыми заготовками. В бытовом применении бесполезны. Траверсный механизмПринцип действия конструкции – заготовка зажимается линейкой-фиксатором, а подвижная траверса загибает край на нужный угол. Пожалуй, самый популярный вид листогибов. Существуют как промышленные стационарные станки, так и ручные настольные приспособления. Фактически не имеет ограничений по углу загиба – от 0 до 180 градусов. Это единственный недостаток конструкции. Согнуть цельную полосу проката длиной несколько метров в домашних условиях будет проблематично. Зато можно быстро изготовить составную конструкцию любой длины с загибами для сращивания торцов. С траверсными конструкциями часто применяется нож для листогиба, который входит в комплект поставки. Торцевые ножи роликового типа предназначены для качественного выравнивания края заготовки. Роликовый листогибПравильнее будет назвать — листогиб торцовый ручной. Хотя с помощью роликового механизма можно гнуть заготовки и далеко от края. Просто процесс слишком неудобный. Применяются в основном в качестве вспомогательного устройства. Как изготовить самодельный листогибПростейшая конструкция – зажать край листа между стальным уголком и правилом (или двумя уголками) при помощи струбцины, и гнуть заготовку руками. ВАЖНО! Все работы с металлом необходимо выполнять в защитных рукавицах. Однако траверсный листогиб вполне реально изготовить самостоятельно. Требуется точность разметки и терпение. Конструкция и принцип работы видны на чертежах. Рассмотрим сборку пошагово. Для изготовления траверсного листогиба нам понадобятся:
Уголок нарезаем болгаркой на куски по 1 метру. Если есть необходимость работать с металлом большей ширины – длина уголков увеличивается. К ширине рабочей поверхности надо прибавить минимум 100 мм. Из стойки стабилизатора – делаем ось, на которую петли будут опираться. ВАЖНО! От качества подгонки этих элементов зависит будущий люфт поворотного механизма. Тщательно измеряем и размечаем на уголке выборку для крепления оси. Строго по размеру стачиваем лыски для установки полуосей. Это нужно сделать максимально точно, чтобы не тратить время и материал на последующую подгонку. Наносим разметку точно по центру оси, и совмещаем ее с вершиной уголка – траверсы. Этот момент важен. поскольку при неправильной центровки качество изгиба заготовки на станке ухудшится, или же листогиб будет непригоден для работы. Привариваем к выборкам полуоси с соблюдением параллельности вершине уголка. Для повышения точности, при сварке следует воспользоваться кондуктором. Например, тисками и струбциной. В результате должна получиться конструкция, с идеальной соосностью в торцах. Приставляем уголки друг к другу. Делаем разметку выборки на втором уголке строго напротив осей первого уголка. Углы относительно друг друга должны быть расположены следующим образом: Складываем обе траверсы, соблюдая плоскость, и фиксируем их для сварки. Привариваем петли на второй уголок с обеих сторон. Уголки должны свободно вращаться друг относительно друга на петлях. При повороте на 180 градусов не должно быть зацепов и подклинивания. При этом щель между траверсами должна быть минимальной. Прижимной уголок будет располагаться следующим образом: Предварительно разметив, вырезаем при помощи болгарки выборку вокруг оси на прижимном уголке. Нижняя сторона прижимного уголка стачивается под углом 45 градусов. ВАЖНО! Кромка должна остаться идеально ровной, именно по ней будет проходить линия сгиба. В случае неровностей возможны заломы и складки на заготовке. Напротив осей размечаем и сверлим отверстия под болты 10 мм. Болты привариваем резьбой вверх к нижней неподвижной траверсе. В центре траверсы также делаем отверстие, но болт не привариваем. Это будет съемный элемент, поэтому к нему Т-образно привариваем короткую ось. Болты нужны для прижима заготовки к траверсе при изгибе. Центральный болт используется в случае, когда заготовка имеет ширину, вдвое меньшую, чем траверса. При работе с широкими заготовками болт убирается. Из круга 15-20 мм нарезаем две рукоятки длиной 30 см. Более тонкий прут не подойдет, поскольку усилие на рукоятях может быть значительным, и можно их просто согнуть. Рукояти привариваем с нижней части поворотного уголка (траверсы). Далее изготавливаем станину для листогиба. Четвертый уголок привариваем к нижней неподвижной траверсе с обеих сторон, для прочности. В станине сверлим отверстия. Вся конструкция обязательно должна быть закреплена на устойчивой поверхности, например – на стальном верстаке. Листогиб прикручиваем к верстаку, проверяем свободный ход подвижной траверсы. Конструкция позволяет работать с листами железа толщиной до 2 мм и шириной 92 см. Углы загиба можно выбирать любой величины, гнуть заготовку можно как в одном направлении, так и ступенчато. При работе с толстой заготовкой удлиняется рукоятка металлической трубой, прочности уголка всегда хватает. Работа со стандартной оцинковкой не вызывает сложностей, приспособление гнет ее с легкостью картона. Дополнительные приспособленияДля удобства работы, прижимной уголок можно подпружинить, а вместо обычных гаек применить барашковые. Временная конструкция по упрощенной схемеРассмотренный вариант листогиба делается для регулярных работ, и фактически является стационарным устройством. Если вам необходимо срочно выполнить разовую работу по изготовлению жестяных изделий – можно создать более простое устройство. Для изготовления понадобятся:
Два уголка скрепляются между собой петлями, как можно более плотно. Третий, более короткий уголок, при помощи струбцин прижимает заготовку и нижнюю траверсу к верстаку. Такой станок не слишком удобен, но это компенсируется простотой изготовления. Вариант изготовления выбирать вам. Ну а если все это делать некогда, то можно заказатьэту сулугу вот здесь — Гибка листового металла Рубрики: Железо Автор: admin | 07. | Поиск по сайтуСтатистикаМета | ||
| Разработка и дизайн — StvPromo.ru |
Планы для гибочного станка для листового металла своими руками
Etsy больше не поддерживает старые версии вашего веб-браузера, чтобы обеспечить безопасность пользовательских данных. Пожалуйста, обновите до последней версии.
Воспользуйтесь всеми преимуществами нашего сайта, включив JavaScript.
Загрузка
Нажмите, чтобы увеличить
857 продаж
|
4,5 из 5 звезд
Цена:
162,91 датских крон
Первоначальная цена:
203,65 датских крон
(скидка 20%)
Загрузка
Включен НДС
Внесен в список 27 ноября 2022 г.
464 избранных
Сообщить об этом элементе в Etsy
Выберите причину… С моим заказом возникла проблемаОн использует мою интеллектуальную собственность без разрешенияЯ не думаю, что это соответствует политике EtsyВыберите причину…
Первое, что вы должны сделать, это связаться с продавцом напрямую.
Если вы уже это сделали, ваш товар не прибыл или не соответствует описанию, вы можете сообщить об этом Etsy, открыв кейс.
Сообщить о проблеме с заказом
Мы очень серьезно относимся к вопросам интеллектуальной собственности, но многие из этих проблем могут быть решены непосредственно заинтересованными сторонами. Мы рекомендуем связаться с продавцом напрямую, чтобы уважительно поделиться своими проблемами.
Если вы хотите подать заявление о нарушении авторских прав, вам необходимо выполнить процедуру, описанную в нашей Политике в отношении авторских прав и интеллектуальной собственности.
Посмотрите, как мы определяем ручную работу, винтаж и расходные материалы
Посмотреть список запрещенных предметов и материалов
Ознакомьтесь с нашей политикой в отношении контента для взрослых
Товар на продажу…
не ручной работы
не винтаж (20+ лет)
не ремесленные принадлежности
запрещены или используют запрещенные материалы
неправильно помечен как содержимое для взрослых
Пожалуйста, выберите причину
Расскажите нам больше о том, как этот элемент нарушает наши правила. Расскажите нам больше о том, как этот элемент нарушает наши правила.
Все категории
Товары для рукоделия и инструменты
Детали из уретана, машины для гибки листового металла
Перейти к содержимому
Стандартный уретан
Индивидуальный уретан
Валкогибочные машины
Производственный процесс Acrotech включает литье и прессование уретана K•Prene.
Ассортимент продукции Acrotech Inc. включает множество отраслевых деталей в дополнение к листам, круглым стержням, стержням, рулонам Versa и бамперам нескольких типов. Изделия представлены в 6 различных твердостях/дюрометрах различных размеров. Литье под заказ из уретана K•Prene; включая изготовление пресс-форм, производство металлических вставок и вторичную механическую обработку.
Мы изменили дизайн нашего веб-сайта для более удобной навигации и составили конкурентоспособные цены на будущее.
Мы приглашаем вас оглянуться вокруг и узнать для себя, почему Acrotech является лидером в отрасли уретанов. Наши продукты и услуги не имеют себе равных и предлагают действительно сделанное в США решение с быстрым оборотом и отличным обслуживанием клиентов. Если у вас есть вопросы или вы хотите разместить заказ, свяжитесь с нами в любое время. Предпочитаете просматривать нашу продукцию на бумаге? Без проблем! Запросите бесплатный каталог здесь. Готовы сделать заказ и получить распечатку для рассмотрения? Отправьте сюда. Мы с нетерпением ждем, чтобы помочь вам.
Уретан, изготовленный по индивидуальному заказу
Литье под заказ
Детали из полиуретана, изготовленные методом литья и прессования, любой твердости и любого цвета.
Просмотреть продукт
Заливка партиями
Ручная заливка в форму по индивидуальному заказу для малых объемов производства, а также многократная машинная заливка для больших объемов.
Посмотреть продукт
Механическая обработка
Изготовление пресс-форм и инструментов из стали, алюминия или гибких материалов на собственном обрабатывающем центре с ЧПУ.
Посмотреть продукт
Проверка
Каждой формованной детали из уретана в Acrotech присваивается номер детали, и перед отправкой она проверяется на качество.
Посмотреть продукт
Индивидуальные твердомеры
Получите точный класс и размер с нестандартными твердомерами, отлитыми из уретана в диапазоне от 10A до 85D.
Посмотреть продукт
Пользовательские цвета
Уретан может быть окрашен в один из наших (20) пользовательских цветов. Есть фирменная цветовая схема? Продукт, который должен выделяться? Мы поможем сделать цвет вашим!
Посмотреть продукт
Промышленный уретан
Шайбы
Компания Acrotech предоставляет заказы на шайбы различных размеров, твердости, размера и цвета, от малых до крупных, в зависимости от ваших спецификаций.
Просмотр продукта
Восстановление роликов
Ролики, восстановленные с помощью промышленного уретана, обеспечивают лучшую производительность, точные размеры и снижение затрат.
Посмотреть товар
Бамперы
Бамперы доступны в размерах 40A, 60A, 80A, 90A и 95A. Мы добавляем стальные сердечники с наружной или внутренней резьбой к нашим бамперам.
View Product
Versa Rolls™
Versa Rolls, изготовленные из сверхпрочного промышленного уретана, являются недорогой альтернативой колесам, роликам, роликам, шкивам и т. д.
View Product
3
Уретановые шарики 9008 Обратные клапаны, предохранительные клапаны и легкие подшипники с твердыми уретановыми шариками. Доступны индивидуальные варианты дюрометра.
Посмотреть продукт
Листы на металлической основе
Точечная фиксация механизмов, бамперов, износостойких пластин и многого другого с прочными уретановыми листами на металлической основе от Acrotech.
Посмотреть продукт
Деревообработка
Откройте для себя нашу линейку продуктов, которые являются прямой заменой существующему оборудованию, роликам подачи древесины и многому другому.
Просмотр продукта
Автомобильная промышленность
Уменьшите вес и увеличьте скорость и скорость работы с промышленными уретановыми автомобильными приложениями.
Просмотр продукта
Уретан, одобренный FDA
Уретан, одобренный для использования в пищевой промышленности, согласно разделу № 177.21000 подраздел F. Мы можем производить бункеры, лопасти, смесители, детали конвейеров и многое другое.
Посмотреть продукт
Кобура для инструментов и молоток
Кобура для инструментов Acrotech идеально подходит для небольших электрических шлифовальных инструментов, а наш уретановый молоток долговечен и очень надежен.
Просмотр продукта
Уретан для обработки металлов давлением
Acro-Hyde™
Ультратонкая уретановая пленка Acro-Hyde™ предотвращает появление следов штамповки на нержавеющей стали, алюминии, окрашенном или полированном материале.
Посмотреть продукт
Плашки листогибочного пресса
Плашки листогибочного пресса Acrotech K•Prene® имеют тонкую конструкцию, легкую, несущую и простую в обращении.
Посмотреть продукт
Вставки Acroform™
Избегайте следов штамповки на нержавеющей стали и предварительно окрашенных материалах с помощью вставок Acroform™, которые подходят для различных наконечников пуансона.
Посмотреть продукт
Съемники перфоратора
Съемники перфоратора SurStrip™ представляют собой идеальное решение для пробивки отверстий необычной формы при высокой несущей способности.
Посмотреть продукт
Трубки / пружины
Сжимаемые уретановые пружины заменяют стальные пружины в условиях вибрации, коррозии и магнетизма.
Посмотреть продукт
Формование большого радиуса
Наш изготовленный на заказ фиксатор штампа удерживает уретановую прокладку штампа на месте, а пуансон специально изготовлен для вашего применения.
Посмотреть продукт
Уретановые детали Piranha®
Компания Acrotech, Inc с гордостью предлагает уретановые изделия для поддержки металлообрабатывающих станков Piranha ® .
Посмотреть продукт
Съемники Wiedeman®
Сделано для моделей Wiedeman ® W-20, W-30, W45 и Centrum.
Посмотреть продукт
Стандартный уретан
Прецизионные литые листы
Стандартные полиуретановые прецизионные литые листы обеспечивают более строгий контроль размеров толщины, чем открытые литые листы.
Посмотреть продукт
Круглые стержни
Круглые стержни, изготовленные из стандартного уретана, можно обрезать по размеру, сохраняя высокие допуски для любого применения.
Посмотреть продукт
Квадрат/прямоугольник
Acrotech производит стандартные уретановые квадратные и прямоугольные стержни твердостью 40A, 60A, 80A, 90A, 95A и 75D.
Посмотреть продукт
Трубки/пружины
Выберите надежные, эффективные и безопасные стандартные уретановые трубки и пружины для вырубки, штамповки и волочения штампов.
Посмотреть продукт
Гибка вальцов
О двухвалковой гибке
Наши услуги двухвалковой гибочной машины «за один проход» удовлетворяют потребности больших объемов в полных или частичных цилиндрах.
Посмотреть продукт
Искусство гибки
Гибка вальцами означает производство деталей из листового металла, которые прокатываются в цилиндрические формы или формы, имеющие гладкий радиус, связанный с ними.
Посмотреть продукт
Роликовое восстановление
Acrotech снимает и восстанавливает валы различных размеров, твердостей, профилей и отделки за небольшую часть стоимости OEM.
Просмотреть продукт
Восстановление
Мы осуществляем капитальный ремонт, модернизацию и ремонт листогибочных машин собственными силами, чтобы максимизировать производительность при снижении затрат.
Посмотреть продукт
Вальцовка на заказ
Позвольте компании Acrotech выполнить заказ на гибку вальцов короткого тиража с помощью нашего запатентованного уретанового валика K•Prene®.
Они имеют дополнительный опорный ролик, упрощающий движение инструмента по радиусу.
Ножницы по металлу и листогибочный станок.
Станок применяется для создания плавных согнутых поверхностей – труб большого диаметра, полукруглых водостоков и прочих конструкций без острых углов. Работает по принципу прокатного станка. Лист профилируется между двумя опорными вальцами и одним упорным, при перемещении которого задается радиус изгиба заготовки.
Ширина обрабатываемого листа определяется длиной траверзы.
Именно так обычно создаются простейшие элементы кровли.
Это будут рабочие петли подвижной траверсы.
Длина выступающей части оси не превышает 1 см.

На таком приспособлении удобно работать роликовым ножом, используя верхний прижим в качестве направляющей линейки.
08.2018 | Камменты: нет