Схема гидравлическая пресса: устройство, схема, своими руками, чертеж
Содержание
Электрическая схема гидравлического пресса
Электрооборудование гидравлических прессов и связанное с ним разнообразное описание граничащее с рабочими документами, на самом деле является одним из важнейших факторов или моментов связанных с работой прессового оборудования. Действительно, ведь зачастую именно представленный раздел будет содержать в себе чертёж или информацию под названием электрическая схема гидравлического пресса. А как известно, в случае изучения возможностей гидравлической машины и применении её технологических качеств уже непосредственно в условиях производства будет касаться именно и в том числе как раз наличия электрических схем, что присутствуют в описании как на главных ролях но так же и на второстепенных. Вообще, конечно, если рассматривать подобные издания, на основании которых и будет строиться работа этого оборудования, то здесь безусловно всё исполнено согласно определённой иерархии, так сказать от простого подхода к сложному, что в общем обусловлено производственной подачей.
Речь идёт о том, что в первую очередь есть смысл ознакомиться с теоретической частью раздела под названием электрооборудование, а он в наиболее частом исполнении содержит в себе пункт под названием краткая техническая характеристика электрооборудования.
Ведь, именно здесь в наиболее частой подаче содержится та информация на основании которой как раз и можно понять какие применяются блоки или напряжение, характеристики аппаратов и прочая информация, что направлена на реализацию как можно более подробных и успешных возможностей машины. К тому же, в этом разделе появляется возможность ознакомиться и с электрикой гидросистемы, с данными насосной станции и моментов подключения её к прессу. Ну, а описание всех затрагиваемых символов, которые как раз отвечают за технические параметры как внутренних, но так же и внешних источников задают определённый момент, который всё так же будет задействован в работе.
Ведь, как известно, что именно гидравлический пресс электросхема которого может содержать довольно широкую и конечно же развёрнутую информацию станет одним из источников манипуляций в случае всё той же поломки оборудования, которая так или иначе но всё же может произойти в моментах наибольшей нагрузки на гидравлику пресса. И на самом деле, чем больше машина задействована в производстве, чем дольше она работает, тем конечно же увеличивается вероятность её износа или износа её каких-либо элементов, деталей. Что в общем просто обязует обзавестись столь важным документом для решение подобных задач.
Конечно, в том случае если пресс только появился в цехе, а пуск его обязательно будет представлять некоторые сложности, сложности к примеру с подключением и вводим в работу. То и здесь в документации отображается очередной важнейший раздел. Речь идёт уже о сведении о первоначальном пуске гидропресса, что так же обязательно задействует возможности электросхемы.
Ведь, непосредственно главная эл схема пресса будет тем самым элементом, на основании которого электрик в обязательном порядке произведёт подключение гидравлического пресса и его возможности станут в очень скором времени доступны в производстве. Таким образом, задуманную реализацию машины получится конечно же реализовать в наиболее обширной подаче и применить для решение разнообразных операций связанных как с работой термопластичных материалов с целью получения заготовок или уже некоторых изделий. Вообще, схемы электрические прессов присутствуют в нашем техническом архиве в весьма широкой подаче, на основании которой мы можем предложить по необходимости заказчику. Ведь именно электрика относится к тем самым инструментам на возможностях которых будет строиться вся работа по взаимодействию с данными машинами, что в производственной практике станет основным и важнейшим моментом. И вот как раз наличие электрооборудования со всеми необходимыми схемами станет отличным выходом из ситуации, к тому же количество техпаспортов в нашем архиве постоянно увеличивается и пополняется.
Схема гидравлическая гидравлического пресса ДГ2432 / Гидравлические прессы / Stanok-online.ru
Рубрикатор
Разделы документации
Гидравлические прессы
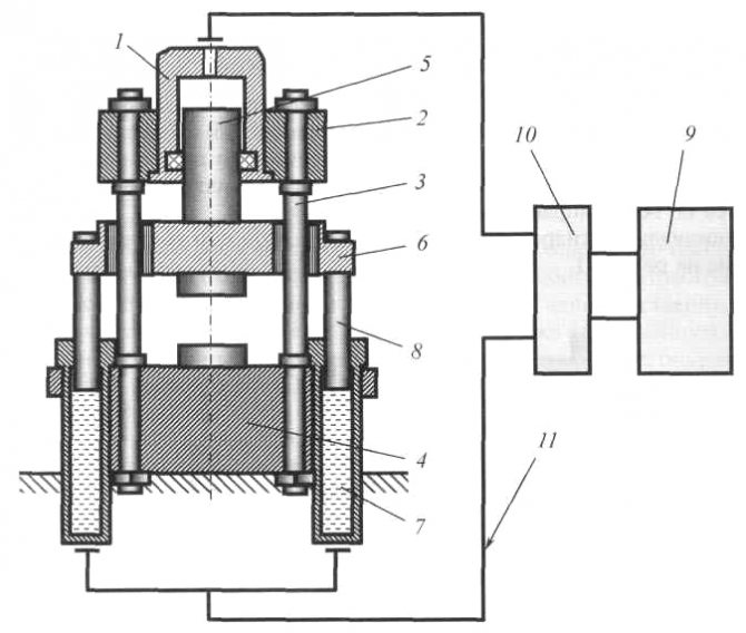
Схема гидравлическая, гидравлического пресса модели ДГ2432. Гидрооборудование пресса скомпоновано в отдельный гидроагрегат.Подвод жидкости к рабочим цилиндрам пресса осуществляется трубами. В качестве насосной установки применяется насосный агрегат типа АНС он состоит из секционного насоса типа НС и электродвигателя.
Секционный насос состоит из поршневого (оксиально-плунжерного) насоса высокого давления и пластинчатого насоса низкого давления, питающего линию управления гидроаппаратов. Распределители Р1 и Р2 служат для управления движениями ползуна и выталкивателя. Распределитель Р3 управляет работой гидрозамка Г3В20 на линии возвратных цилиндров для обеспечения свободного падения ползуна во время холостого хода, соединяя полости цилиндра возврата со сливом.
Распределитель Р4 управляет работой клапана предохранительного КП1 на линии поршневого насоса.
Скачать бесплатно схему гидравлическую гидравлического пресса ДГ2432
Комментарии
Новости компаний
все
Индустриальный парк «ОКА» приветствует первого резидента
Новости сферы
Завод УГМК «Электросталь Тюмени» признан главным событием 2013 года в металлургии России
Новости сферы
Правительства края ждет 100 миллиардов инвестиций в металлургию
Новости сферы
Рельсы для российских железных дорог изготовят в Челябинске по уникальной технологии
Новости сферы
Новые компании
все
Индустриальный парк ОКА МУРОМ
Индустриальный парк «ОКА» — это промышленная территория, обладающая полноценной инфраструктурой и полностью обеспеченная энергоносителями и сетями
Презентация — *.
pdfМеталлообработка
ООО ПКФ КРИСТАЛЛ
Крупнейший в России производитель серийных портальных машин термической (плазменной и газовой) резки металла с ЧПУ с двадцатилетним производственным опытом. Собственные разработки, полный производственный цикл, высокий профессионализм сотрудников, клиентоориентированность, техническое сопровождение оборудования на протяжении всего цикла эксплуатации – сильные стороны завода ПКФ Кристалл.
Металлообработка
ООО «НеоИнжиниринг»
Металлообработка. Изготовление даже одной детали. По чертежам, по образцу, по изношенному образцу, и даже со слов заказчика. Из отечественных, импортных материалов или подберем аналог.
Металлообработка
ООО «ФЕТ»
ООО «ФЕТ» многопрофильная транспортно-экспедиторская компания по международному аутсосингу.
Мы ведем свою деятельность по трём основным направлениям: грузовые перевозки, поставка станков и оборудования из Китая под индивидуальный заказМеталлообработка
Портал Stanok-online.ru
На сайте представлены материалы такие как: паспорта на станки, паспорта на пресса и другое КПО, схемы и чертежи, технические характеристики и другая дополнительная литература…
Документация на станки
Услуги
все
Металлообработка, токарные работы, фрезерные работы, конструкторские работы
Металлообработка. Изготовление даже одной детали. По чертежам, по образцу, по изношенному образцу, и даже со слов заказчика. Из отечественных, импортных материалов или подберем аналог.
Металлообработка
Производство крученой сетки из проволоки
Сетки изготавливаются из низкоуглеродистой термически обработанной проволоки без покрытия или оцинкованной
Металлообработка
Вакансии
все
Начальник цеха металлообработки
Вакансии в металлообработке
Гидравлический пресс: основные компоненты, конструкция, работа и применение
от редакции
Содержание
Что означает гидравлический пресс?
Гидравлический пресс – это механический пресс, в котором используется гидравлический цилиндр для создания силы сжатия.
Гидравлические системы используют закон Паскаля, который гласит, что
Внешнее статическое давление, приложенное к замкнутой жидкости, распределяется или передается равномерно по всей жидкости во всех направлениях.
Проще говоря, мы можем сказать, что давление, приложенное к замкнутой жидкости, передается без изменения величины в каждую точку жидкости. Давление в любой точке жидкости одинаково во всех направлениях.
Закон Паскаля определяется формулой F=P*A
где
F= приложенная сила,
P= передаваемое давление
A= площадь поперечного сечения
В гидравлическом прессе действует тот же принцип. используется для подъема тяжестей с приложением гораздо меньшей силы.
Основные компоненты системы гидравлического пресса
Основным компонентом гидравлического пресса являются
- Шланг
- Гидравлический мотор
- Резервуар
- Клапан управления направлением
- Клапан сброса давления
- Манометр
- Концевой выключатель
- Гидравлический цилиндр
- Прижимная плита.

Основные компоненты системы гидравлического пресса |
| Основные компоненты системы гидравлического пресса |
Шланг
Гидравлический шланг используется для подачи гидравлической жидкости к гидравлическим компонентам или между ними.
Гидравлический двигатель
Гидравлический двигатель используется для перекачки гидравлической жидкости в системе. Двигатель обычно оснащен насосом для перекачки.
Подробнее: Различные типы гидравлических насосов.
Резервуар
Гидравлическое масло хранится в резервуаре.
Клапан управления направлением
Клапан управления направлением (DCV) используется для управления направлением привода/цилиндра. Как правило, в гидравлическом прессе используется DCV с ручным управлением.
Подробнее: Клапаны управления направлением и их типы
Клапан сброса давления
Используется для регулирования давления в системе.
Концевой выключатель
Используется для контроля положения поршня цилиндра. Это предотвращает перемещение цилиндра после заданной точки.
Гидравлический цилиндр
Это механический привод, который используется для создания однонаправленной силы за счет однонаправленного хода.
Подробнее: Различные типы гидравлических цилиндров.
Схема контура и моделирование гидравлического пресса
В части моделирования красные линии обозначают линии давления контура. Это означает, что если линия становится красной, через нее протекает гидравлическая жидкость, которая отвечает либо за ход вперед, либо за ход назад.
Мы использовали измерительную схему, которая регулирует скорость прямого хода цилиндра, изменяя регулировку потока клапана управления потоком, который регулирует поток масла, идущего к головной части цилиндра.
Следует отметить, что управление потоком в данном контуре осуществляется только в прямом направлении. При обратном ходе обратный поток из цилиндра проходит через обратный клапан.
Подробнее: Цепь счетчика | Преимущества, недостатки и применение
Принцип работы гидравлического пресса
| Принцип работы гидравлического пресса |
Принцип работы гидравлического пресса основан на законе Паскаля, который гласит, что сила давления в статической жидкости передается одинаково во всех направлениях.
Гидравлический пресс состоит из двух разных цилиндров двух разных диаметров.
Один цилиндр меньшего диаметра содержит поршень, а другой цилиндр большего диаметра содержит поршень.
Эти два цилиндра соединены трубой/шлангом, который содержит гидравлическую жидкость, через которую передается давление.
При воздействии на поршень меньшей силы F в жидкости создается давление.
По закону Паскаля это давление передается одинаково во все стороны и действует на барана. Таким образом, Ram толкается вперед, и более тяжелые предметы можно легко поднимать.
Применение гидравлических прессов
- Обрабатывающая промышленность
Гидравлические прессы широко используются для складывания и формовки автомобилей. Тормозные колодки, уплотнительные элементы, вкладыши, облицовка кузова грузовика, электрические разъемы и изоляторы, детали подачи топлива и т. д. являются частями автомобиля, изготовленными с использованием гидравлических прессов.
- Производство электрических деталей
Они широко используются для сборки корпусов и переключателей, используемых в коммутационных станциях.
Термостаты также изготавливаются с помощью гидравлического пресса.
- Военное применение
Прессы используются на большинстве баз ВВС. Они обычно используются для загрузки снарядов.
- Строительство самолетов
В аэрокосмической промышленности они используются для обработки металлов давлением и производства машин. Щетки стеклоочистителей, узлы зубчатых колес, панели корпуса самолета и крылья изготавливаются с использованием гидравлических прессов.
- Операции обработки металлов давлением
- Операции глубокой вытяжки
- Штамповочные работы
- Операции по вырубке
- Формовочные операции
- Зажимные операции
- Кузнечные операции
Гидравлический машинный пресс: работа, типы, детали, схема,
Гидравлический пресс представляет собой машинный пресс, создающий сжимающее усилие за счет использования гидравлического цилиндра. Это устройство, которое используется для подъема тяжестей с приложением гораздо меньшей силы.
Гидравлический пресс изобрел Джозеф Брама в Англии. Он выполнил проект в 17 -й век (1795 год). Bramah, который также разработал материал для смыва унитаза, используемый в нашей повседневной жизни.
Прочтите: Все, что вам нужно знать о сверлильном станке
Работа гидравлического пресса основана на законе Паскаля. Этот закон гласит, что интенсивность давления в статической жидкости передается одинаково во всех направлениях.
Содержимое
- 1 Принцип работы
- 2 Применение гидравлического пресса
- 3 Детали
- 3.1 Подпишитесь на нашу рассылку новостей
- 4 Типы
- 5 Спецификация
- 6 Преимущества и недостатки гидравлического пресса
- 6.1 Преимущества:
- 6.2 Недостатки Поделись:
- 6 9.3
Принцип работы
Принцип работы гидравлического пресса достаточно интересен и прост. Как упоминалось ранее, он использует закон Паскаля для своей работы.
Два цилиндра разного диаметра. Первый цилиндр большего диаметра несет плунжер, другой маленький цилиндр несет плунжер.
Эти два цилиндра соединены трубой, в которой находится жидкость, по которой передается жидкость. Всякий раз, когда небольшое усилие прикладывается к поршню в направлении вниз, создается давление. Это давление создается жидкостью, находящейся в контакте с плунжером.
Давление одинаково передается во всех направлениях, и пусть поршень играет свою роль в направлении вверх. В то время как более тяжелый вес, размещенный на поршне, движется вместе с ним.
Вы можете просмотреть видео ниже, чтобы получить полное представление о том, как работает гидравлический пресс:
Применение гидравлического пресса
Ниже приведены области применения гидравлического пресса:
Благодаря широкому применению этого пресса, он используется для преобразования любого металлического блока в лист. Станок используется для штамповки, ковки, обжимки, формовки, глубокой вытяжки, штамповки, обработки металлов давлением.
Некоторые другие области применения включают:
- Термопласты
- RTM (трансферное литье смолы)
- Композиты
- Литье из углеродного волокна
- GMT (перенос стеклянных матов) и
- SMC (листовые формованные композиты)
Детали
Защитная дверца: защитная дверца представляет собой корректирующие ворота, которые позволяют зафиксировать любую заготовку при повреждении.
Концевой выключатель : эта часть предотвращает перемещение предмета в механизме. Он механически управляется движением объекта.
Клапан ручного управления : помогает выполнять операцию вручную с помощью клапана.
Предохранительный клапан: предохранительный клапан используется для сброса или регулирования давления всякий раз, когда оно превышает предел клапана.
Манометр : эта часть используется для измерения давления.
Гидравлический цилиндр : представляет собой механический привод, который используется для создания однонаправленной силы за счет однонаправленного хода.
Масляный бак : это резервуар, который используется для хранения и подачи гидравлического масла.
Присоединяйтесь к нашей рассылке новостей
Проходная пластина: эта пластина высокой прочности используется для оказания давления на заготовку.
Жиклерное отделение : заготовка размещается в этой части так, чтобы ее можно было прижать. Его можно подогнать под любую форму и размер изделия.
Типы
Гидравлические прессы делятся на пять различных типов, которые играют свою эффективную роль в зависимости от функции. К ним относятся:
Четырехколонный гидравлический пресс: этот тип отличается широкими возможностями, что делает его полезным для большинства операций прессования, таких как гибка, штамповка и т.
д.
Универсальный гидравлический пресс: штамповка, ковка и т. д. Без каких-либо внешних креплений.
Одностоечный гидравлический пресс: также известен как C-тип. Он имеет только один столбец и фрейм c-типа, как и было названо.
Горизонтальный гидравлический пресс: давление прикладывается горизонтально или параллельно оси машины. Заготовка остается между вертикальной пластиной.
Вертикальный гидравлический пресс: в отличие от одностоечного пресса, этот тип имеет две колонны и перекладину, соединенную с колоннами. Тем не менее, давление применяется вертикально.
Прочтите: Все, что вам нужно знать о строгальном станке
Спецификация
Гидравлический пресс может быть указан в соответствии со следующими параметрами:
- Вертикальное или нисходящее движение.
- Рамка, которую они несут.
- Максимальная нагрузка прессования.

- Возвратная емкость машины.
- Номер цилиндра внутри машины.
- Ход поршня.
- Типы цилиндров одинарного или двойного действия.
- Скорость ползуна в мм/сек.
- Электроэнергия, потребляемая машиной в кВт. Наконец,
- Метод работы (автоматический или полуавтоматический).
Преимущества и недостатки гидравлического пресса
Преимущества:
Ниже приведены преимущества гидравлического пресса:
- Он работает прохладно и тихо, потому что меньше движущихся частей.
- Создается высокое давление.
- Высокая грузоподъемность.
- Большая универсальность. Это способность адаптироваться.
- Перегрузка или повреждение веса не являются проблемой.
- Плавное нажатие.
- Простой дизайн.
- Занята небольшая площадь.
- Простота в эксплуатации.
- Повышена жесткость и прочность заготовки.
- Увеличенный срок службы инструмента.

pdf
Мы ведем свою деятельность по трём основным направлениям: грузовые перевозки, поставка станков и оборудования из Китая под индивидуальный заказ

