Станок токарный тв 7 характеристики: ТВ-7 (ТВ7) Станок токарно-винторезный учебный. Схемы, описание, характеристики
Содержание
ТВ-7М (тв7м) Станок токарно-винторезный настольный. Схемы, описание, характеристики
Сведения о производителе учебного токарно-винторезного станка ТВ-7М
Производителем учебного токарно-винторезного станка тв-7м является Ростовский завод малогабаритного станочного оборудования МАГСО, КомТех-Плюс, основанный в 1956 году.
Производимые этой фирмой станки хорошо известны на российском рынке и ряд стран СНГ, благодаря первым моделям токарно-винторезных станков ТВШ, ТВШ-2, ТВШ-3, ТВ-4, ТВ-6, ТВ-7. Модель ТВ-7М, заслуженно пользуясь репутацией качественного и надежного оборудования. Важная особенность станка — экономичность и низкий уровень эксплуатационных расходов.
Станки, выпускаемые Ростовским заводом малогабаритного станочного оборудования МАГСО
- НС-16 — станок сверлильный настольный Ø 16
- НГФ-110Ш3 — станок фрезерный небольшой мощности 0,6кВт, размер стола 100х400 мм
- НГФ-110Ш4 — станок фрезерный небольшой мощности 0,75кВт, размер стола 100х400 мм
- СНВШ — станок сверлильный настольный Ø 16
- СНВШ-2 — станок сверлильный настольный Ø 16
- ТВ-4 — станок токарно-винторезный учебный Ø 200, РМЦ 350 мм
- ТВ-6 — станок токарно-винторезный учебный Ø 200, РМЦ 350 мм
- ТВ-6М — станок токарно-винторезный учебный Ø 200, РМЦ 350 мм Дубно
- ТВ-7 — станок токарно-винторезный учебный Ø 220, РМЦ 330 мм
- ТВ-7М — станок токарно-винторезный учебный Ø 220 мм, РМЦ 275 мм
- ТВ-9 — станок токарно-винторезный учебный Ø 220 мм, РМЦ 525 мм
- ТВ-11 — станок токарно-винторезный учебный с частотным преобразователем Ø 240, РМЦ 750 мм
ТВ-7М станок токарно-винторезный настольный учебный.
Назначение, область применения
Токарно-винторезный станок ТВ-7М заменил в производстве устаревшую модель ТВ-7.
Станок ТВ-7М является настольным универсальным токарно-винторезным станком и предназначается для обучения профессии токаря, также выполнения всевозможных токарных работ при массе детали 5 кг, в том числе:
- проточка и расточка цилиндрических и конических поверхностей
- сверление
- отрезка
- нарезка резьб
- подрезка торцов
Принцип работы и особенности конструкции станка
Универсальный токарно-винторезный станок ТВ-7М сконструирован более 35 лет назад и выпускается в настоящее время.
ТВ-7М вновь обрел 6-и ступенчатую коробку скоростей, удаленную у его предшественника — станка ТВ-7 с целью упрощения конструкции.
Шпиндель токарно-винторезного станка ТВ-7М установлен на трех радиально-упорных подшипниках — два в передней и один в задней опорах.
Диаметр отверстия для обработки прутка — 18 мм
Передний конец шпинделя — резьбовой М45 х 4,5 под промежуточный фланец ГОСТ 3889 исполнение 1. Стандартный патрон Ø100, Ø125 мм с наибольшим диаметром зажимаемой детали Ø90 и Ø110 мм соответственно.
Коробка подач обеспечивает 8 механических подач и 6 размеров метрических резьб без перестановки зубчатых колес гитары.
Традиционная наглядная компоновка станка в сочетании с отработанной кинематической схемой позволяет уверенно обеспечить токарную обработку с классом точности «Н» в течение длительного срока эксплуатации.
В сравнении с предлагаемыми на рынке малогабаритными станками — он прост в эксплуатации, надежен и долговечен.
Станок ТВ-7М отличается от токарных станков и ТВ-9 и ТВ-11 межцентровым расстоянием, РМЦ:
- ТВ-7М — РМЦ 275 мм
- ТВ-9 — РМЦ 525 мм
- ТВ-11 — РМЦ 750 мм
Общий вид токарно-винторезного станка ТВ-7М
Фото токарно-винторезного станка ТВ-7м
Фото токарно-винторезного станка ТВ-7м.
Смотреть в увеличенном масштабе
Фото токарно-винторезного станка ТВ-7м
Фото токарно-винторезного станка ТВ-7м
Фото токарно-винторезного станка ТВ-7м
Расположение составных частей токарно-винторезного станка ТВ-7М
Расположение составных частей токарного станка ТВ-7М
Спецификация составных частей токарно-винторезного станка ТВ-7М
- Станина
- Передняя бабка
- Задняя бабка
- Суппорт
- Гитара
- Фартук
- Коробка подач
- Электродвигатель
- Переключатель
- Электрошкаф
- Кожух защитный
- Щитки защитные
- Светильник
- Экран защитный
Расположение органов управления токарно-винторезным станком ТВ-7М
Расположение органов управления токарным станком ТВ-7М
Спецификация органов управления токарно-винторезного станка ТВ-7М
- Рукоятки установки частоты вращения шпинделя
- Рукоятки установки частоты вращения шпинделя
- Рукоятка изменения направления подач
- Рукоятка установки величины подач и шага резьбы
- Рукоятка включения ходового валика и ходового винта
- Рукоятка ручного перемещения поперечных салазок
- Рукоятка крепления резцовой головки
- Рукоятка ручного перемещения верхних салазок
- Рукоятка крепления пиноли задней бабки
- Рукоятка крепления задней бабки к направляющим станины
- Маховичок перемещения пиноли задней бабки
- Кнопка включения и выключения реечной шестерни
- Рукоятка включения гайки ходового винта
- Рукоятка включения продольной механической подачи
- Маховичок ручного перемещения продольной каретки
- Кнопка аварийного отключения станка
- Рукоятка реверсивного включения электродвигателя
- Пакетный выключатель местного освещения
- Пакетный выключатель сети
Схема кинематическая токарно-винторезного станка ТВ-7М
Кинематическая схема токарного станка ТВ-7М
Схема кинематическая токарно-винторезного станка ТВ-7М.
Смотреть в увеличенном масштабе
Управление станком ТВ-7М
Пуск и остановка электродвигателя станка производится рукояткой 17 (см. рис. 2).
При включении рукоятки 17 вверх — вращение двигателя «Вперед», при включении вниз — вращение двигателя «Назад». В среднем положении рукоятки двигатель отключен.
В зависимости от характера выполняемых на станке работ рукоятки и рычаги управления (см. рис. 2) должны находиться в определенных положениях.
I. Положение рукояток и рычагов при работе по нарезанию резьб (механическая подача ходовым винтом):
- На передней бабке — положение рукоятки трензеля 3 в зависимости от направления подачи суппорта (левое или правое).
- На коробке подач — положение рукоятки 4 в зависимости от выбранной величины подачи. Рукоятка 5 «Винт — Вал» в левом положении «Винт».
- На фартуке — рукоятка самохода 14 в нижнем выключенном положении «От себя».
- Рукоятка включения реечной шестерни 12 — в положении «На себя».

- Рукоятка включения маточной гайки 13 — в нижнем крайнем положении.
II. Положение рукояток и рычагов при работе с ходовым валом (механическая подача):
- На передней бабке — положение рукоятки реверса 3 в зависимости от направления подачи суппорта (левое или правое).
- На коробке подач — положение рукоятки 4 в зависимости от выбранной величины подачи. Рукоятка 5 «Винт—Вал» в правом положении «Вал».
- На фартуке — рукоятка самохода 14 во включенном положении «На себя».
- Рукоятка включения маточной гайки 13 — в верхнем положении.
- Рукоятка включения реечной шестерни 12 — в положении «От себя».
III. Положение рукояток и рычагов при ручной продольной подаче:
- На передней бабке — положение рукоятки трензеля 4 в среднем положении.
- На коробке подач — положение рычага «Винт—Вал» безразлично.
- На фартуке — рукоятка самохода в выключенном положении. Рычаг маточной гайки в верхнем положении.

IV. Положение рукояток управления для получений необходимых режимов резания согласно рис. 12.
Механика токарно-винторезного станка ТВ-7М
Механика токарно-винторезного станка ТВ-7М
Конструкция токарно-винторезного станка ТВ-7М
Станина токарно-винторезного станка ТВ-7М — литая, чугунная, коробчатой формы с окнами. Имеет две призматические и две плоские направляющие.
Передняя призматическая и задняя плоская направляющие служат для перемещения суппорта, а задняя призматическая и передняя плоская направляющие служат для перемещения задней бабки.
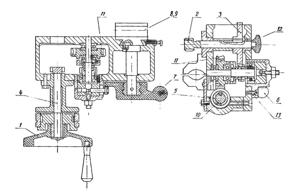
Передняя бабка токарно-винторезного станка ТВ-7м
Передняя бабка токарно-винторезного станка тв-7м
Чертеж передней бабки токарного станка ТВ-7М
Чертеж передней бабки токарного станка ТВ-7М. Смотреть в увеличенном масштабе
Передняя бабка служит для закрепления или поддержания обрабатываемой детали и сообщения ей вращательного движения.
Передняя бабка крепится на левой части станины. В станке модели ТВ-7М передняя бабка является и коробкой скоростей, поэтому в дальнейшем будет применяться этот термин.
Вращение на входной вал 2 коробки скоростей передается от электродвигателя клиноременной передачей через шкив 1.
С входного вала 2 на вал 3 вращение передается зубчатой парой с внутренним зацеплением 4 и 5.
На валу 3 неподвижно закреплены шестерня 6 и блок-шестерня 7.
На валу 8 находятся блок-шестерни 9 и 10, которые перемещаются по шлицам вала при помощи рукояток 1 и 2 (рис. 2). Рукоятка 1 имеет три фиксированных положения, получаемые поворотом вправо и влево.
Рукоятка 2 имеет два положения.
Тройная блочная шестерня 9 имеет возможность находиться в зацеплении с шестерней 6 и блок-шестерней 7 и тем самым передавать, вращение валу 8 (три различные скорости).
Вращение с вала 8 на шпиндель 12 передается через блочные шестерни 10 и 11.
Таким образом, шпиндель имеет 6 ступеней скоростей (см.
табл. 5) от 60 до 975 об/мин.
Шпиндель передаст вращение обрабатываемой детали при помощи трехкулачкового патрона или планшайбы с поводком, которые навинчиваются на его резьбовую часть. При обработке деталей в центрах, в шпиндель вставляется центр.
Движение подач суппорта заимствуется от шпинделя. Вал 13 получает вращение через шестерни 14—15. С вала 13 движение передается шестерне гитары — 17.
В передней бабке смонтировано устройство, позволяющее изменять направление перемещения суппорта — реверсировать подачу. Реверсирование вращения производится перемещением шестерни 15 в левое и правое крайние положения рукояткой 3.
При левом крайнем положении шестерня 15 получит прямое вращение непосредственно от блока шестерен 14, расположенного на шпинделе.
При правом крайнем положении шестерня 15 получит обратное вращение через паразитную шестерню 16, которая находится в постоянном зацеплении со второй ступенью блока шестерен 14.
На лицевой стороне корпуса передней бабки расположен маслоуказатель 18.
С обратной стороны имеется пробка 19 для слива масла.
Гитара токарно-винторезного станка ТВ-7М
Гитара (рис. 5) служит для передачи вращения от шпинделя передней бабки коробке подач.
В узел гитары входит кронштейн 6, запрессованные в него две оси 5, на которых свободно вращаются шестерни.
Вращение с шестерни 1 сидящей на выходном валу передней бабки, передается на сменную шестерню, а затем через шестерни 2—3—4 передается на входной вал коробки подач.
Коробка подач токарно-винторезного станка ТВ-7М
Движение от шпинделя передней бабки станка через передаточный механизм (гитару) передается валу 1 коробки подач (рис. 6).
При повороте рукоятки 4 (рис. 2), которая имеет три фиксированных положения, блок-шестерня 6 перемещается по шлицам вала 5 и ее венцы поочередно входят в зацепление с шестернями 2, 3, 4, неподвижно сидящими на валу 1 (рис. 6).
Это дает возможность вместе со сменными шестернями гитары получить метрическую резьбу с шагом 0,8; 1,0; 1,25; 1,5; 2,0; 2,5 мм и продольную механическую подачу суппорта 0,1; 0,12; 0,15; 0,16; 0,18; 0,20; 0,24; 0,32 мм/об.
Фартук
С помощью фартука (рис. 7) можно производить механическую продольную подачу суппорта от ходового валика и от ходового винта, а также ручную продольную подачу.
Ручная подача осуществляется вращением маховика 1, насаженного на вал-шестерню 4, входящего в зацепление с шестерней 3, сидящей на валике реечной шестерни 2.
Реечная шестерня входит в зацепление с зубчатой рейкой, жестко прикрепленной к станине. Механическая подача от ходового валика 10 осуществляется червяком 5, связанным с валиком скользящей шпонкой. Червяк приводит во вращение червячную шестерню 11 и далее через кулачковую муфту и шестерни 13, 3 вращение передается на реечную шестерню. Для включения механической подачи надо рукоятку 6 повернуть на себя, при этом включается кулачковая муфта.
Суппорт токарно-винторезного станка ТВ-7М
Суппорт (рис. 8) предназначен для закрепления и перемещения резца. Суппорт имеет четыре салазки.
Салазка 1 перемещается в продольном направлении по направляющим станины.
Салазка 2 перемешается по поперечным направляющим салазки 1 и служит для поперечного перемещения резца.
Салазка 4, несущая четырехпозиционную резцовую головку, имеет только продольное перемещение по направляющим салазки 3, которая имеет возможность поворачиваться на 40° от среднего положения в ту или иную сторону.
Поперечное перемещение салазки 2 по направляющим нижней салазки 1 производится винтом 6 и гайкой 5.
Винт 6 приводится во вращение от руки рукояткой 12.
Сверху салазка 2 имеет углубление, куда входит выступ поворотной части верхнего суппорта; для закрепления поворотной части имеются 2 болта, головки которых входят в Т-образный паз салазки 2.
Верхнюю салазку 4 суппорта можно перемещать по направляющим вручную рукояткой 7, которая вращает винт 8. Направляющие станины, салазок и клиньев от продолжительной работы изнашиваются настолько, что между ними может появиться зазор.
Задняя бабка токарно-винторезного станка ТВ-7М
Задняя бабка служит для поддержания второго конца обрабатываемой детали.
Корпус 1 расположен на основании 2, перемещающемся по направляющим станины станка.
В корпусе продольно переметается пиноль 3.
Пиноль имеет коническое отверстие (конус Морзе 2), в которое вставляется упорный центр или другой инструмент; сверла, развертки, патрон сверлильный и т. д. Перемещение пиноли производится маховичком 4, вращающим винт 5.
Схема электрическая токарно-винторезного станка ТВ-7М
Электрическая схема токарно-винторезного станка ТВ 7м
Система смазки
Перечень точек смазки дан в таблице 7.
Смазка основных узлов станка
Внимательное отношение к смазке станка является гарантией безотказной работы станка и его долговечности.
Для смазки станка следует применять масло индустриальное И-20 Л, ГОСТ 20799—75 и солидол Ж, ГОСТ 1033—79.
Передняя бабка
Шестерни и подшипники передней бабки смазываются разбрызгиванием масла из масляной ванны. Масло заливается при снятой верхней крышке.
Уровень масла в передней бабке должен быть на середине глазка маслоуказателя.
Коробка подач
Для смазки механизма коробки подач в верхней ее части имеется лоток для заливки масла. Из лотка масло на шестерни и трущиеся поверхности подается фитилями. Во время работы станка в корыте постоянно должно находиться небольшое количество масла.
Для слива скопившегося масла в нижней части имеется сливная пробка.
Фартук
Смазка механизма фартука осуществляется вручную через отверстие в нижней каретке суппорта.
Направляющие станины суппорта, задней бабки, ходовые винты и подшипники ходовых винтов смазываются вручную.
Для смазки ходового винта и ходового валика необходимо снять защитные щитки, установленные на корпусе фартука.
Регулирование станка ТВ-7М
Устранение осевого зазора в подшипниках передней опоры шпинделя
Устранение осевого зазора в подшипниках передней опоры шпинделя осуществляется гайкой 1, которая от самоотвинчивания стопорится винтом 2 (рис. 13).
При появлении в процессе работы станка вибрации шпинделя необходимо проверить затяжку гайки 1.
Если затяжкой гайки вибрация шпинделя не устраняется, это говорит о том, что износились подшипники передней опоры шпинделя и станок требует ремонта.
Зазор в подшипниках передней опоры шпинделя устраняется шлифовкой торцов компенсационного кольца 3.
Натяжение ремня
Для продления срока службы клиноременной передачи и более полного использования электродвигателя по мощности необходимо следить за натяжением ремня и своевременно подтягивать его.
Для натяжения ремня (1) (рис. 14) клиноременной передачи от электродвигателя (2) к передней бабке необходимо создать натяг ремня винтом 3.
Уход за станком
Переключение рукояток изменения чисел оборотов и реверса подач передней бабки, а также рукояток коробки подач необходимо производить при выключенном двигателе после полной остановки станка. В случае если необходимая пара шестерен или зубчатая муфта не включились, необходимо, взявшись рукой за патрон, провернуть шпиндель и ввести шестерни или муфту в зацепление (при выключенном электродвигателе).
При переключении передач в период неполной остановки шпинделя происходят резкие удары зубчатых муфт и шестерен, вследствие чего они быстро изнашиваются и приходят в негодность.
Перед тем как навернуть патрон на шпиндель, нужно тщательно прочистить резьбу на шпинделе и в патроне.
Загрязнение резьбы вызывает заедание патрона на шпинделе и может вывести шпиндель из строя.
Необходимо тщательно следить за состоянием сальников суппорта, так как со временем в них скапливается мелкая стружка, которая может вызвать задиры на направляющих станины. Сальники необходимо промывать керосином.
За направляющими станины требуется весьма тщательный уход. Ни в коем случае не следует допускать, чтобы при движении суппорта на направляющих оставался грязный след. Слой масла на направляющих станины при движении суппорта должен быть всегда чистым.
При появлении грязного следа нужно немедленно тщательно промыть керосином направляющие.
Грязный след образуется мельчайшими частицами металла, которые попадают между трущимися поверхностями суппорта и станины и при движении суппорта образуют царапины на направляющих.
Особое внимание необходимо обращать на то, чтобы не перегружать станок. У перегруженного станка во время работы наблюдается повышенный шум, происходит пробуксовывание ремня, перегревание подшипников шпинделя и перегревание электродвигателя.
Пиноль при проточке деталей в центрах следует выдвигать на небольшую величину; это сохранит ее от преждевременного износа, обеспечит более прочное крепление детали.
Рекомендации по изготовлению и использованию держателей для метчиков и плашек и упоров продольного перемещения суппорта при работе на ручных подачах (см. приложение 3).
Ремонт станка
При эксплуатации станка в соответствии с требованиями и рекомендациями, изложенными в соответствующих разделах, и соблюдении рекомендуемого графика плановых ремонтных работ (см. табл. 9) его межремонтный цикл (срок работы до первого капитального ремонта) равен 7 годам при двухсменной работе.
Читайте также: Школьные токарные станки
ТВ-7М (тв7м) Станок токарно-винторезный настольный.
Видеоролик.
Технические характеристики станка ТВ-7М
* Токарно-винторезный станок ТВ-11 заводом больше не выпускается
| Наименование параметра | ТВ-7М | ТВ-9 | ТВ-11* |
|---|---|---|---|
| Основные параметры станка | |||
| Класс точности | Н | Н | Н |
| Наибольший диаметр заготовки над станиной, мм | 220 | 220 | 240 |
| Наибольший диаметр заготовки над суппортом, мм | 100 | 100 | 110 |
| Высота центров над плоскими направляющими станины, мм | 120 | 120 | 130 |
| Наибольшая длина заготовки в центрах (РМЦ), мм | 275 | 525 | 750 |
| Наибольшая длина заготовки в патроне, мм | 250 | 500 | |
| Наибольшая высота держателя резца, мм | 16 х 16 | 16 х 16 | 16 х 16 |
| Наибольшая масса обрабатываемой заготовки, кг | 5 | 10 | |
| Шпиндель | |||
| Резьбовой конец шпинделя, мм | М45 х 4,5 | М45 х 4,5 | М45 х 4,5 |
| Диаметр стандартного патрона, мм | 125 | 125 | 125 |
| Диаметр сквозного отверстия в шпинделе, мм | 18 | 18 | 18 |
| Конус Морзе шпинделя | №3 | №3 | №3 |
| Число ступеней частот прямого вращения шпинделя | 6 | 6 | б/с |
| Частота прямого вращения шпинделя, об/мин | 60, 105, 185, 315, 555, 975 | 60, 105, 185, 315, 555, 975 | 40. .2000 |
| Торможение шпинделя | нет | нет | |
| Блокировка рукояток | нет | нет | |
| Суппорт. Подачи | |||
| Наибольшее продольное перемещение суппорта, мм | |||
| Перемещение суппорта продольное на одно деление лимба, мм | 0,25 | 0,25 | 0,25 |
| Наибольшее поперечное перемещение суппорта, мм | |||
| Перемещение суппорта поперечное на одно деление лимба, мм | 0,025 | 0,025 | 0,025 |
| Наибольшее перемещение верхних (резцовых) салазок, мм | 85 | 85 | 85 |
| Перемещение резцовых салазок на одно деление лимба, мм | 0,025 | 0,025 | 0,025 |
| Угол поворота резцовых салазок, град | ±40° | ±40° | ±40° |
| Число ступеней продольных подач суппорта | 6 | 6 | |
| Пределы продольных рабочих подач суппорта, мм/об | 0,1; 0,12; 0,16; 0,20; 0,24; 0,32 | 0,1; 0,12; 0,16; 0,20; 0,24; 0,32 | 0,04. .0,31 |
| Пределы рабочих поперечных подач суппорта, мм/об | нет | нет | нет |
| Количество нарезаемых резьб метрических | 6 | 6 | |
| Пределы шагов нарезаемых резьб метрических, мм | 0,8; 1,0; 1,25; 1,5; 2,0; 2,5 | 0,8; 1,0; 1,25; 1,5; 2,0; 2,5 | 0,8..2,5 |
| Пределы шагов нарезаемых резьб дюймовых | нет | нет | нет |
| Пределы шагов нарезаемых резьб модульных | нет | нет | нет |
| Пределы шагов нарезаемых резьб питчевых | нет | нет | нет |
| Задняя бабка | |||
| Конус Морзе задней бабки | №2 | №2 | №2 |
| Наибольшее перемещение пиноли, мм | 65 | 65 | 65 |
| Электрооборудование | |||
| Электродвигатель главного привода, кВт | 0,75 | 1,1 / 380 | 1,1 / 380 |
| Габариты и масса станка | |||
| Габариты станка (длина ширина высота), мм | 1120 х 640 х 680 | 1405 х 620 х 730 | 1600 х 650 х 690 |
| Масса станка, кг | 220 | 230 | 245 |
- Станок токарно-винторезный (учебный) ТВ-7М.
Паспорт, 1993 - Ачеркан Н.С. Металлорежущие станки, Том 1, 1965
- Батов В.П. Токарные станки, 1978
- Белецкий Д.Г. Справочник токаря-универсала, 1987
- Денежный П.М., Стискин Г.М., Тхор И.Е. Токарное дело, 1972. (1к62)
- Денежный П.М., Стискин Г.М., Тхор И.Е. Токарное дело, 1979. (16к20)
- Локтева С.Е. Станки с программным управлением, 1986
- Модзелевский А. А., и др. Токарные станки, 1973
- Пикус М.Ю. Справочник слесаря по ремонту станков, 1987
- Схиртладзе А.Г., Новиков В.Ю. Технологическое оборудование машиностроительных производств, 1980
- Тепинкичиев В.К. Металлорежущие станки, 1973
- Чернов Н.Н. Металлорежущие станки, 1988
Список литературы:
Связанные ссылки. Дополнительная информация
Настольный токарный станок ТВ-7М — цена, отзывы, характеристики с фото, инструкция, видео
Настольный токарный станок ТВ-7М (ТВ7М) предназначен для механической обработки изделий из металлов, древесины и пластмасс.
Виды работ, производимых на станке ТВ-7М
- проточка и расточка цилиндрических и конических поверхностей
- сверление
- отрезка
- нарезка резьбы
- подрезка торцов
Токарные станки ТВ-7М, ТВ-9, ТВ-9У, ТВ-11 обеспечивает высокое качество обработанных поверхностей по форме и шероховатости. При обработке материала сталь 45 с использованием алмазных резцов при проведении отделочных операций достигается шероховатость поверхности Ra не более 0.2 мкм (для класса П).
Рациональная компоновка станков ТВ-7М, ТВ-9, ТВ-9У, ТВ-11, высокая надежность узлов, оптимальное расположение органов управления делают их удобными в эксплуатации и обслуживании.
В опорах шпинделя станков ТВ-7М, ТВ-9, ТВ-9У, ТВ-11 установлены прецизионные радиально-упорные шарикоподшипники, что в сочетании с жесткой конструкцией основных узлов обеспечивает высокую точность обработки.
Станки комплектуются различными принадлежностями и приспособлениями, позволяющими расширить их технологические возможности. Изготавливаются классов точности Н и П.
По желанию заказчика, ТВ-11 может быть укомплекктован приводом с бесступенчатой регулировкой оборотов шпинделя, а также подставкой.
| Характеристика | Значение |
|---|---|
| Наибольший диаметр заготовки, устанавливаемый: | |
| — над станиной, мм | 220 |
| — над суппортом, мм | 100 |
| Наибольшая длина обрабатываемого изделия, мм | 275 |
| Наибольшая длина обрабатываемого изделия в патроне, мм | 250 |
| Диаметр сквозного отверстия в шпинделе, мм | 18 |
| Центр в шпинделе, Морзе | 3 |
| Значение шага обрабатываемых метрических резьб, мм | 0,8; 1. 0; 1.25; 1.5; 2.0; 2,5 |
| Число ступеней частот вращения шпинделя | 6 |
| Пределы частот вращения шпинделя, мин -1 об/мин | 60/105/185/315/555/975 |
| Электродвигатель, кВт/В | 0,75/380 |
| Значение продольных рабочих подач суппорта, мм/об | 0,1 ÷ 0,32 |
| Перемещение на одно деление лимба, мм | |
| — продольное | 0,25 |
| — поперечное | 0,025 |
| Центр пиноли в задней бабке Морзе | 2 |
| Значение продольных рабочих подач суппорта, мм | 0,1; 0,12; 0,16; 0,20; 0,24; 0,32 |
| Наибольшее сечение державки резца, мм | |
| — ширина | 16 |
| — высота | 16 |
| Центр пиноли в задней бабки, Морзе | 2 |
| Габаритные размеры станка, мм, не более | 1144х585х735 |
| Масса станка, кг, не более | 210±5% |
Масса брутто: 235 кг.
Габариты в упаковке ДхШхВ, мм: 1281x655x823
Настольный токарный станок ТВ-7М с доставкой в г. Москва: подробные условия и стоимость
VEVOR 7 «X14» Mini Precision Wreek Tarete 550W Metal Benche Turte Machine
Избранные предметы. Вы можете как
SJ7X1455006184EKKV5
Часто покупаются вместе
, которые купили товар. Также купили
Описание и ответы. Настольный токарный станок по металлу 7 x 14 дюймов
Прецизионный токарный станок оснащен мощным двигателем. Модернизированная металлическая шестерня и маховик могут продлить срок службы. Светодиодная подсветка помогает работать в темноте. Он предназначен для токарной обработки, сверления и нарезания резьбы
Прочное оборудование и инструменты, меньше платите
VEVOR — ведущий бренд, специализирующийся на оборудовании и инструментах. Наряду с тысячами мотивированных сотрудников VEVOR стремится предоставлять нашим клиентам прочное оборудование и инструменты по невероятно низким ценам.
Сегодня VEVOR оккупировал рынки более чем 200 стран с более чем 10 миллионами членов по всему миру.
Почему выбирают ВЕВОР?
- Высокое качество
- Невероятно низкие цены
- Быстрая и безопасная доставка
- Бесплатный возврат в течение 30 дней
- Внимательное обслуживание 24/7
Прочное оборудование и инструменты, платите меньше
VEVOR — ведущий бренд, специализирующийся на оборудовании и инструментах. Наряду с тысячами мотивированных сотрудников VEVOR стремится предоставлять нашим клиентам прочное оборудование и инструменты по невероятно низким ценам. Сегодня VEVOR оккупировал рынки более чем 200 стран с более чем 10 миллионами членов по всему миру.
Почему выбирают ВЕВОР?
- Прочное качество премиум-класса
- Невероятно низкие цены
- Быстрая и надежная доставка
- 30-дневный бесплатный возврат
- Внимательное обслуживание 24/7
Мощный двигатель 550 Вт
Настольный мини-токарный станок оснащен двигателем мощностью 5,50 Вт малые и средние проекты.
Удобный дизайн
Алюминиевый маховик более прочный. Цифровой дисплей удобен для вас, чтобы следить за обработкой. Светодиодный свет может помочь вам закончить работу в мрачных местах.
Прочные металлические шестерни
В этом обновлении токарных станков по металлу вместо нейлона используются металлические шестерни, что значительно увеличивает срок службы.
Множественная скорость вращения
Фрезерный станок может регулировать скорость от 0 до 2500 об/мин с помощью ручки. Регулируемая скорость вращения шпинделя для нескольких операций
Профессиональная подставка для инструмента
4-позиционная стойка инструмента обеспечивает больший контроль над вашей работой. Откройте замок и смените инструмент легким поворотом.
Регулируемая задняя бабка
Заднюю бабку можно перемещать вперед и назад, потеряв фиксированную рукоятку. Мертвая точка MT2 может быть отрегулирована с помощью ослабленного замка пиноли и поворота маховика задней бабки.
Технические характеристики
Мощность двигателя: 550W DC Один фаза
Tailstock Taper: MT#2
Скорость шпинделя: 50-2250 ± 10% RPM
- 9000
.
Материал шестерни: металл
Напряжение: 110 В / 60 Гц
Отверстие в шпинделе: 0,8 « / φ 21 мм
Скаль на кровать: 7,09″ / 180 мм
Центральное расстоя Нитковая нить: 12-52 T.P.I
Метрическая нить: 0,5-2,5 мм
Размер продукта: 30 «x 11,8» x 11,4 «
. Сетчатый вес: 40 кг / 88,18 фунтов
333333333333333333399
. Содержание
Прочное оборудование и инструменты, платите меньше
VEVOR — ведущий бренд, специализирующийся на оборудовании и инструментах. Наряду с тысячами мотивированных сотрудников VEVOR стремится предоставлять нашим клиентам прочное оборудование и инструменты по невероятно низким ценам.
Сегодня VEVOR оккупировал рынки более чем 200 стран с более чем 10 миллионами членов по всему миру.
Почему выбирают ВЕВОР?
- Высокое качество Tough Quality
- Невероятно низкие цены
- Быстрая и безопасная доставка
- 30-дневный бесплатный возврат
- Круглосуточный внимательный сервис
Прочное оборудование и инструменты, платите меньше
VEVOR — ведущий бренд, специализирующийся на оборудовании и инструментах. Наряду с тысячами мотивированных сотрудников VEVOR стремится предоставлять нашим клиентам прочное оборудование и инструменты по невероятно низким ценам. Сегодня VEVOR оккупировал рынки более чем 200 стран с более чем 10 миллионами членов по всему миру.
Почему выбирают ВЕВОР?
- Высокое качество
- Невероятно низкие цены
- Быстрая и безопасная доставка
- 30-дневный бесплатный возврат
- Внимательное обслуживание 24/7
7″x14″ Настольный токарный станок по металлу
Прецизионный токарный станок оснащен мощным двигателем.
Модернизированная металлическая шестерня и маховик могут продлить срок службы. Светодиодная подсветка помогает работать в темноте. Предназначен для токарной обработки, сверления и нарезания резьбы
- Precise Engineering
- Большая рабочая емкость
- Модернизация конструкции
- Полное управление
Мощный двигатель 550 Вт
Настольный мини-токарный станок по металлу оснащен мощным двигателем 550 Вт и отлично подходит для выполнения небольших и средних проектов.
Удобный дизайн
Алюминиевый маховик более прочный. Цифровой дисплей удобен для вас, чтобы следить за обработкой. Светодиодный свет может помочь вам закончить работу в мрачных местах.
Прочные металлические шестерни
В этом обновлении токарных станков по металлу вместо нейлона используется металлическая шестерня, что значительно увеличивает срок службы.
Множественная скорость вращения
Фрезерный станок может регулировать скорость от 0 до 2500 об/мин с помощью ручки.
Регулируемая скорость вращения шпинделя для нескольких операций
Профессиональная подставка для инструмента
4-позиционная стойка инструмента обеспечивает больший контроль над вашей работой. Откройте замок и смените инструмент легким поворотом.
Регулируемая задняя бабка
Заднюю бабку можно перемещать вперед и назад, потеряв фиксированную рукоятку. Мертвая точка MT2 может быть отрегулирована с помощью ослабленного замка пиноли и поворота маховика задней бабки.
Содержание пакета
- 1 X Mini Metal Tale
- 1 X Рабочий свет
- 1 X Токарный центр
- 1 X Oil Gun
- 3 X Jaws
- 7 x Tools
- 1 x Заряда
- 7 x Tools
- 1 x Заряда
- 7 x. x Аккумулятор
- 9 x Metal Gears
- 6 x Шестигранные ключи
- 2 x Гаечные ключи
- 1 x Ящик для хранения
- 1 x Комплект аксессуаров
Технические характеристики
- Мощность постоянного тока 9 Вт:
- Конус задней бабки: MT#2
- Скорость вращения шпинделя: 50–2250 ± 10 % об/мин
- Точность вращения шпинделя: 0,01 мм
- Материал шестерни: металл
- Напряжение: 110 В / 60 Гц мм
- Откидывание над станиной: 7,09″ / 180 мм
- Расстояние между центрами: 13,78″ / 350 мм
- Дюймовая резьба: 12-52 T.
P.I - Метрическая резьба: 0,5-2,5 мм
- » x 1,08″ Размер изделия: 308″ x 11,4 дюйма
- Вес нетто: 40 кг / 88,18 фунта
24
- Power of Motor
- 550W DC Single Phase
- Tailstock Taper
- MT#2
- Spindle Speed
- 50-2250 ± 10% RPM
- Spindle Accuracy
- 0.01 mm
- Материал шестерни
- Металл
- Напряжение
- 110 В / 60 Гц
- Отверстие шпинделя
- 0,8 дюйма / φ 21 мм
- 7.09″ / 180 mm
8 Над станиной0270
- Center Distance
- 13.78″ / 350 mm
- Inch Thread
- 12-52 T.P.I
- Metric Thread
- 0.5-2.5 mm
- Product Size
- 30″ x 11,8″ x 11,4″
- Вес нетто
- 40 кг / 88,18 фунта
Вопросы и ответы
0
0 Вопросы 9 0349 8
Задайте вопрос
Вопросы
Заготовка какого наименьшего диаметра может вместиться?
Ответить
Посмотреть больше
Он может зажимать заготовки более 2 мм.
Вевор
(0)
(0)
Вопросы
Q1. Учитывая, что 3-х кулачковый патрон может захватить цилиндр, можно ли изменить положение кулачков так, чтобы патрон надежно захватил пластину? Q2. В таком случае, каков максимальный диаметр такой пластины?
Ответить
Посмотреть больше
1. Да, он может инвертировать положение челюстей. 2. Диапазон зажима 32-93мм.
Вевор
(0)
(0)
Вопросы
Является ли передняя бабка конусом Морзе №3?
Ответить
Посмотреть больше
Главный сток — МТ4.
Вевор
(0)
(0)
Отзывы покупателей
Цена
4.8Качественный
4,6Функции
4.6Легко использовать
4.7
7 Отзывов
Сортировать:
Все
- Все
- Только фотографии
- Только видео
Все звезды
- Все звезды
- Только 5 звезд
- Только 4 звезды
- Только 3 звезды
- Только 2 звезды
- Только 1 звезда
Самые последние
- Самые последние
- Самый полезный
Очистить фильтры
Джеймс
это мой первый токарный станок и будет первым, который я использовал.
он прибыл вовремя, в деревянном ящике с машиной, прикрученной к дну ящика. однако все, что не было прикреплено к машине, оставалось лежать в ящике, включая инвентарь. было небольшое изображение повреждения, и я не знаю, было ли это от складского запаса или коробок с инструментами, шестернями или инструментами, но плексигласовый щиток над патроном был сломан. все остальное кажется в порядке, часть случая, когда питание дисплея оборотов переключается, другие элементы управления выглядят так, как будто они могут быть согнуты, но нет никаких признаков того, что что-то ударилось, и все выровнено, так что я не думаю, что он получил удар, но скорее просто Я не уверен в форме, которую они выбирают для дела, но он не погнут от удара, но в остальном все выглядит так, как я полагаю. нижняя сторона деревянного ящика, в какой-то момент он получил удар и сломал часть дерева, внутри которого остались небольшие древесные стружки, поэтому, прежде чем включить машину, я снял боковую крышку и проверил, чтобы убедиться, что все в порядке.
я обнаружил маленькие кусочки древесной стружки, застрявшие в смазке на шестернях, поэтому я вычистил все это и все масло из машины, чтобы очистить ее от дерева, а затем попытался включить ее, но ничего, затем понял, что удалил щит и левая рука откинулась назад, а когда я перевернул ее назад вперед, загорелся дисплей, так что это была функция безопасности, которую я не ожидал от этой машины, так что я был доволен этим, затем повернул ручку, чтобы вперед, и ручку оборотов, и медленно заставил мой путем, я смог заставить его работать с 50-й на 2260-ю, поэтому я суперклеил сломанный щит обратно, чтобы что-то было на машине, и пока с моим очень небольшим опытом кажется, что он работает так, как должен, я начал с небольшой кусок дерева затем превратился в алюминий и Было очень приятно работать с машиной, даже не зная, что я делаю, но мне удалось заставить алюминий отрываться в длинной катушке, поэтому я воспринял это как хороший, а не на 100%, если это то, что я должен сделать или если это фишки, я
Подробнее См.
меньше
0
Bobby H.
Хороший токарный станок
Были проблемы с первым станком, и его заменили новым. Заменой пока доволен.
Показать больше Показать меньше
0
MJ
Пришли со всеми деталями
Не ожидал многого от токарного станка, который работал хорошо после всех плохих отзывов. тюнинг. На самом деле пришлось наждачной шкуркой один из способов заставить кровать двигаться плавно. В целом неплохо.
Подробнее См. меньше
0
Kennybobenny
Приятно удивлен
Этот токарный станок доставил массу удовольствия. Я очень доволен операцией. В основном я буду делать алюминий и латунь, но я обнаружил, что это хорошо работает с деревом.
Показать больше Показать меньше
0
Джастин Гудвин
Великий токарный станок
Я часовщик, так что этот токарный станок должен быть очень точным.
Поперечный салазок очень точен, и я обычно использую его для изготовления корпусов и обрезки деталей. Он может резать председательские части. Имейте в виду, что я обучен и терпелив, изучите свой токарный станок и найдите время, чтобы испортить некоторые вещи. Я использовал его для многих вещей и деталей, надеюсь, вам всем он тоже понравится.
Показать больше Показать меньше
0
Mary
токарный станок vevor
Хороший продукт, но руководство пользователя не содержит всех функций. Было трудно определить, как работает движение инструмента для протектора
Показать больше Показать меньше
0
токарный станок
мини токарный станок
купил бы снова все пришло со всем нужно было бы работать отлично, все пришло, все было нужно, все работало бы отлично, все пришло без нареканий использовать немедленно.
See more See less
0
People Who Viewed This Item Also Viewed
The Lathe of Heaven (TV Movie 1980)
- Awards
- 1 nomination
Photos29
Top актерский состав
Брюс Дэвисон
- Джордж Орр
Пейтон Э. Парк
- Мэнни Аренс
- (как Пейтон Парк)
9038 54 Ники Флэкс0575 Penny Crouch
Kevin Conway
- Dr. William Haber
Vandi Clark
- Aunt Ethel
Bernedette Whitehead
- George’s Mother
- (as Bernadette Whitehead)
Jo Livingston
- Отец Джорджа
Джейн Робертс
- Бабушка
Том Мэттс
- Дедушка
Фрэнк Миллер
- Parole Officer
Joye Nash
- Woman on Subway
Gena Sleete
- Woman on Subway
Margaret Avery
- Heather LeLache
Ben McKinley III
- Orderlie
R.
A. Михаилофф
- Орденли
Джеймс Бодин
Джон Рейнон
- Серый Человек
Бен Стефенсон
- Scientist
- Fred Barzyk
- David R. Loxton
- Roger Swaybill(teleplay)
- Diane English(teleplay)
- Ursula K. Le Guin(novel)
- All cast и съемочная группа
- Производство, кассовые сборы и многое другое на IMDbPro
Еще нравится это
Z.
P.G.
День преступника
Резня в День святого Валентина
Колосс: проект Форбин
Silent Running
The Man in the White Suit
The Masque of the Red Death
Tales of Terror
Lathe of Heaven
Mona Lisa
Zardoz
Saloum
Storyline
Did you know
- Цитаты
[Цитируя Чжуан Цзе.]
Джордж Орр: Тех, кому небеса помогают, мы называем сыновьями небес. Они не учатся этому путем обучения. Они не работают, работая. Они не рассуждают, используя разум. Позволить пониманию остановиться на том, что не может быть понято, — это высокое достижение.
Те, кто не сможет этого сделать, будут уничтожены на небесном станке.
Обзоры пользователей65
Обзор
Избранный обзор
Любителям научной фантастики следует посмотреть — будьте осторожны со своими мечтами » начинали свою серию «Фильмы, достойные записи». Я рад, что случайно включил телевизор, так как это был фильм, который стоит посмотреть! Он был снят в 1987 году как первый фильм для общественного телевидения и основан на романе Урсулы Ле Гуин.
Этот фильм исследует понятие «эффективного сновидения», когда мечты действительно сбываются. Он исследует странные сны Джорджа Орра (Брюс Дэвисон). Когда ему снятся эти сны, он просыпается и обнаруживает, что его придуманные ситуации теперь не только реальность, но и другие люди внезапно адаптировались, как будто эта реальность была с миром в течение некоторого времени.
Эти сны травмируют Джорджа, и он обращается за помощью к доктору Уильяму Хаберу (Кевин Конвей). Намерения доктора Хабера благие: использовать силу этих эффективных снов для улучшения мира, но он явно злоупотребляет отношениями между врачом и пациентом и гипнотизирует Джорджа, чтобы ему снились определенные виды снов.
Одним из девизов этого фильма может быть «будь осторожен со своими мечтами»!
Я нашел спецэффекты иногда интересными, но часто неуклюжими и не очень гладко выполненными. Место действия, происходящее где-то в ближайшем будущем в Портленде, штат Орегон, было необъяснимо тоскливым, если не считать дождя, которым хорошо известен этот город. Развитие персонажей могло бы быть сильнее, а второстепенные персонажи, такие как секретарь доктора Хабера и очень немногие другие, казались сделанными из картона и лишенными эмоций. Однако Джордж и Хизер ЛеЛаш (Маргарет Эйвери) наслаждались более убедительными и правдоподобными изображениями.
Несмотря на эту критику, фильм стал захватывающим путешествием во внутреннее пространство, позволяющим задуматься над глубокими философскими вопросами. Что такое реальность? Существуют ли параллельные реальности? Что есть или должно быть известно о природе существования (мне это немного напоминает «2010», один из моих любимых научно-фантастических фильмов)? Что произойдет, если мы вообразим друг друга в реальности или вне ее? «Величайшее благо для наибольшего числа» или права личности? Можем ли мы спроектировать утопию, или мы будем обречены на несчастные случаи, о которых мы никогда не думали и которые делают предложенную утопию далеко не идеальной? «Небесный токарный станок» не имеет свежих и захватывающих визуальных эффектов, как в более ранних научно-фантастических фильмах, таких как «2001» или более поздние, но это интересный фильм, который обязательно стоит посмотреть любителям научной фантастики.
Полезно • 17
0
- DILIP
- 12 марта 2001 г.
IMDB Best of 2022
IMDB Best of 2022
Displaster Artister Artiret Skyrcocke Arpyrocke Arpyer Skyrcocke Arpyer Skyrcocke Arpyer Skyrcocke Artarter Artarter Artarter Artarter. Лучшее за 2022 год; включая лучшие трейлеры, плакаты и фотографии.
Подробнее
Подробнее
- Дата выпуска
- 9 января 1980 г. (США)
- США
- West Germany
- Thirteen/WNET
- English
- Also known as
- La rueda celeste
- Filming locations
- Fort Worth, Texas, USA
- Производственные компании
- Служба общественного вещания (PBS)
- Taurus Film
- Thirteen / WNET
- См.



.2000
.0,31
Паспорт, 1993
0; 1.25; 1.5; 2.0; 2,5
P.I
Те, кто не сможет этого сделать, будут уничтожены на небесном станке.