Вал токарного станка: Распределительный вал токарного станка
Содержание
Распределительный вал токарного станка
Главная / ЧПУ станок / Токарный станок / Распределительный вал токарного станка
Распределительный вал токарного станка предназначен для управления автоматическим циклом станка. Распределительные валы станка несут кулачки разного типа и назначения. Сложность валов зависит от числа и места расположения исполнительных органов автомата. Для упрощения конструкции передаточных механизмов в некоторых автоматах кулачки располагают ближе к исполнительным органам, распределительные валы выполняют составными. Так, некоторые модели токарно револьверных автоматов имеют несколько распределительных валов, В токарно револьверных автоматах кроме распределительных валов имеется вспомогательный вал, предназначенный для выполнения части холостых ходов при периодическом включении однооборотных зубчатых муфт по команде от командных кулачков распределительного вала.
Распределительный вал фасонно отрезного станка
Распределительный вал токарного станка фасонно отрезного типа несет кулачок подачи материала, кулачок зажима материала, кулачки подачи инструментальных суппортов резцовой головки и кулачок переднего зажима материала.
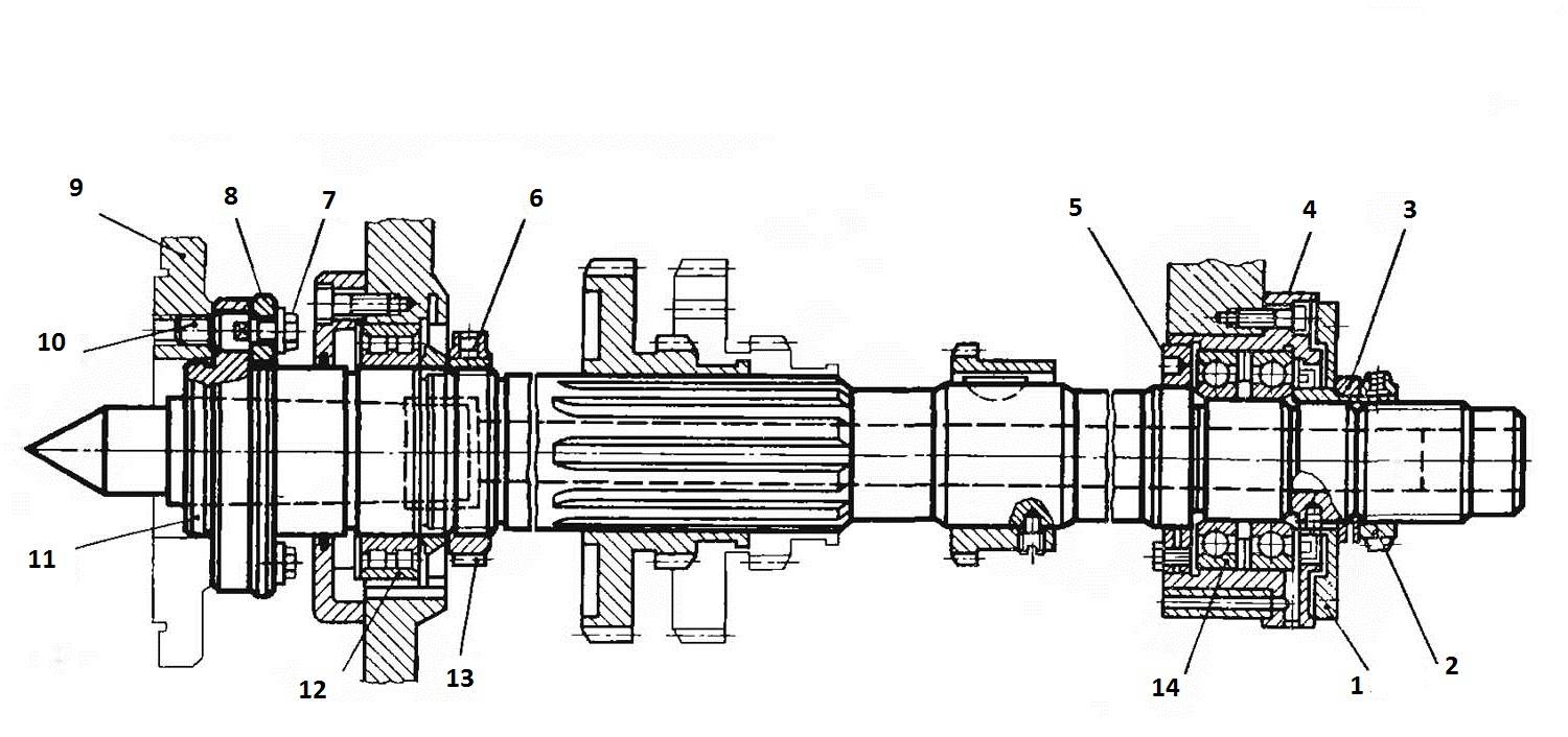
Распределительный вал автомата продольного точения
Распределительный вал 3 токарного автомата продольного точения 1П12 (рис. 1) установлен на трех опорах скольжения 2, 5 и 12. Опора 2 может быть снята при наладке специальных приспособлений. Вращение распределительный вал 3 получает от червячного редуктора 8. Кулачки 1 предназначены для управления специальными приспособлениями, кулачки 4 — для привода балансира, кулачок 6 — для привода улавливателя деталей, кулачки 7 — для привода суппортов, командные кулачки 9 — для включения и выключения ускоренного хода распределительного вала, кулачки 10 — для зажима и разжима мате риала, командные кулачки 11 — для останова станка при использовании прутка и кулачки 13 — для подачи шпиндельной бабки.
Рис. 1. Распределительный вал токарного автомата продольного точения
Распределительный вал токарно револьверного станка
На рис.
2 показана компоновка распределительных валов станка 1Б136, а также его вспомогательного вала. Вспомогательный вал 3 получает вращение от отдельного червячного редуктора 1 включением муфты 2. На валу установлены однооборотные муфты 4, управляемые от командных кулачков 12 и 13 продольного распределительного вала 11. Маховиком 6 вращают вспомогательный вал при наладке автомата. Вращение посредством сменных зубчатых колес αc/bd и червячной пары 7 сообщается поперечному распределительному валу 8 с расположенным на нем кулачком 5 подачи револьверного суппорта. Продольный распределительный вал получает вращение от поперечного через конические зубчатые колеса 9, 10.
На продольном распределительном валу токарного
станка
закреплены командные кулачки 12 и 13 включения и выключения однооборотных муфт 4 и кулачки 14 подачи поперечных суппортов. Кулачки 14 и полумуфты 15, 16 имеют на торцах по 100 зубьев. При наладке кулачков полумуфты поворачивают относительно друг друга на целое число зубьев (минимум на один), а затем затягивают гайками 19.
Поэтому в токарно револьверных автоматах угол поворота распределительных валов считают не в градусах, а в сотых делениях (числах зубьев). Для настройки командных кулачков 12 и 13 каждый барабан их имеет по 100 делений. Дополнительный распределительный вал станка 17 получает вращение от вспомогательного вала через зубчатую передачу и несет на себе цилиндрический кулачок 18 подачи и зажима материала.
Рис. 2. Компоновка распределительных и вспомогательного валов токарно револьверного автомата
Распределительный вал многошпиндельного автомата
Распределительный вал токарного станка типа — многошпиндельный прутковый автомат, имеет более сложную конструкцию вследствие большего числа исполнительных органов. Он состоит из двух частей. На левой части вала установлены кулачки зажима и подачи материала, рычаг поворота цилиндрического барабана и промежуточный блок его поворота, на правой части — кулачок привода продольного суппорта, приводная червячная шестерня, приводная шестерня командоаппарата, барабан для кулачков независимой подачи, коническая шестерня привода указателя цикла, шестерня привода верхних поперечных суппортов, кулачок управления упором материала, диски с кулачками привода нижних и средних поперечных суппортов, кулачок механизма фиксации.
Распределительные валы станков многошпиндельных горизонтальных полуавтоматов не отличаются от валов многошпиндельных горизонтальных автоматов.
Многорезцовые гидрокопировальные и вертикальные многошпиндельные полуавтоматы распределительных и вспомогательных валов станка не имеют.
Статьи по станкам ЧПУ
Более 1000 статей о станках и инструментах, методах обработки металлов на станках с ЧПУ.
Предыдущая статья
Следующая статья
Остались вопросы?
Заполните форму и наши менеджеры свяжутся с вами
Как к вам обращаться:
Ваш номер телефона:
Нажимая кнопку «Отправить», Вы принимаете Условия и даёте своё согласие на обработку Ваших персональных данных, в соответствии с Политикой конфиденциальности
Токарная обработка валов по лучшим ценам!!!
Каталог продукции / Судовая арматура / Атомная арматура / Нефтегазовая арматура / Металлоообработка / Cправочная информация
В качестве заготовки для токарной обработки валов используется удлиненная цилиндрическая деталь из стали.
Токарное оборудование работает с валами разной протяженности, а обработка производится специальными режущими инструментами. Помимо самого обтачивания, токарный станок включает в себя систему охлаждения, так как во время обработки заготовка подвергается нагреву, что приводит к возникновению деформаций.
Процесс обработки
Для токарной обработки валов используется специальное оборудование, в котором заготовка закрепляется между специальными зажимами. Процесс удаления лишнего металла производится режущим инструментом, а глубина и направление среза контролируются расположением заготовки.
Валы используются для разных целей, габаритные размеры таких деталей могут достигать в длину 1,5 метров. Для обработки таких элементов используется специальная система зажимов, которые удерживают заготовку в неподвижном состоянии. Сложность и продолжительность процесса обтачивания зависят от параметров детали, которые нужно получить. Черновая обработка допускает небольшие неточности и деформацию заготовки.
При чистовой обработке соблюдаются глубина среза, расположение и геометрия каждой части детали.
Различают два основных типа деталей, получаемых токарной обработкой валов:
• Гладкий вал. Деталь такого типа обладает ровной и гладкой поверхностью, не имеет глубоких срезов, обтачка производится только путем срезания верхнего слоя металла.
• Ступенчатый вал. Более сложная деталь состоит из нескольких частей, разделенных между собой заглублением.
Основной заготовкой для получения валов служит калиброванная сталь, что избавляет от необходимости проводить токарную обработку вала с внешней стороны цилиндра до получения ровной поверхности.
Высокое качество от производителя металлопроката
Токарная обработка валов – это сложный процесс, который можно осуществить только при наличии специального оборудования. Помимо токарного станка, используется специальный сверлильный инструмент для получения отверстий, а от качества производственного процесса зависит правильность геометрии детали.
Компания «ЛТ-Групп» производит металлопрокат разного рода и обладает необходимыми техническими ресурсами для проведения самых сложных работ по обработке металлов разного типа. Предприятие имеет широкую производственную платформу и использует только современное оборудование, а также реализовало строгий контроль качества всей продукции своего производства.
Сотрудничество с производителем обладает многочисленными плюсами, можно выделить несколько главных достоинств такого предложения:
• быстрые сроки изготовления;
• доступные цены на все виды услуг металлообработки;
• современное оборудование;
• квалифицированный рабочий персонал.
Предприятие способно провести токарную обработку валов любой сложности и в любых объемах.
Токарный станок по стеклу с регулируемой высотой и прямым валом 1 дюйм
Перейти в конец галереи изображений
Перейти к началу галереи изображений
Описание
Токарный станок с регулируемой высотой JIM9000 — идеальный токарный станок для общественного магазина или учебного заведения, где необходимо удовлетворить потребности различных работников холодного производства или даже обеспечить доступ к шлифовальному станку для людей с ограниченными возможностями.
Его можно опустить, чтобы удобно работать сидя, или поднять достаточно высоко, чтобы шлифовать снизу. Точный противовес позволяет регулировать токарный станок так же просто, как поднять палец, а удобный регулятор скорости позволяет быстро и просто выполнять работу от шлифовки до полировки. Весь токарный станок совместим с промывкой для быстрой очистки в конце рабочего дня, а прецизионный 1-дюймовый вал подходит для всех современных колес с 1-дюймовым отверстием. Эта версия JIM9000 имеет прямой 1-дюймовый вал. Если вам нужны другие аксессуары для вашего токарного станка, обратите внимание на версию JIM9000 с цангой ER.
Токарные станки JIM доставляются из Канады, и для их доставки в США потребуется посредник.
отзывов
Напишите свой отзыв
Вы пишете отзыв на товар: Токарный станок по стеклу с регулируемой высотой и прямым валом 1 дюйм
Псевдоним
Резюме
Обзор
Вопросы по продукту
Вопросы клиентов
Нет вопросов
Пожалуйста, имейте в виду, что только зарегистрированные пользователи могут задавать вопросы
Детали
- Регулируемая высота шпинделя от 28 до 54 дюймов
- В стандартную комплектацию входит водосборник, вода сливается в ведро для удобного слива или может быть спущена непосредственно в канализацию.
Легко настраивается в соответствии с потребностями пользователей. Ручной распылитель также включен для очистки - Marathon 1HP 3-х фазный инверторный двигатель для мойки. Регулируемая скорость с помощью ручки с однофазным входом 120 В. Требуется выделенная цепь на 15 ампер.
- Число оборотов шпинделя отображается на приводе с регулируемой скоростью
- Интегрированный мотор-шпиндель для тихой и плавной работы в диапазоне от 600 до 2500 об/мин
- Прямой 1-дюймовый вал для установки колес с 1-дюймовым отверстием.
- Конструкция ножек позволяет машине выравниваться с помощью резиновых прокладок, нет необходимости прикручивать болты к полу, но на ножках также имеются отверстия для болтов
- Включает в себя все необходимое, чтобы сразу приступить к работе
- Площадь пола, необходимая для установки, 36 x 36 дюймов
- Рабочая зона вокруг токарного станка, 40 дюймов в ширину и 56 дюймов в глубину. Для инвалидной коляски глубина должна увеличиться до 79 дюймов.

Компактный полировальный станок с дополнительным гибким валом
Магазин будет работать некорректно, если файлы cookie отключены.
Похоже, в вашем браузере отключен JavaScript.
Для наилучшего взаимодействия с нашим сайтом обязательно включите Javascript в своем браузере.
Переключить навигацию
Содержание
Поиск
Поиск
| Артикул № | Описание | Размер | Цена | Кол-во | |
|---|---|---|---|---|---|
310-029 | Мотор, шпиндели и баффы | 79,55 $ шт. | − + Сохранить избранное | ||
310-029-15 | Гибкий вал (с оболочкой): длина 36 дюймов. | 18,90 $ шт. | − ++; Сохранить избранное | ||
236-971-01 | Наконечник типа № 30 (с зажимным ключом) | 21,20 $ шт. | − + Сохранить избранное | ||
310-029-12 | Сверлильный патрон: используется для удержания боров, щеток и т. д. и имеет зажимную способность от 0,6 до 6,5 мм. Диаметр отверстия 8 мм, только правая сторона. | 15,90 $ шт. | − + Сохранить избранное | ||
310-029-03 | Фланцевая оправка: изготовлена специально для этого двигателя. Имеет вал с резьбой 10 мм и используется для поддержки колеса из волокна или войлочного круга, показанного ниже. Диаметр отверстия 8 мм, только правая сторона. | 5,25 $ каждый | − + Сохранить избранное | ||
140-782 | Колесо с волокнистой атласной отделкой, 3 x 3/4 дюйма | 4,05 $ каждый | − + Сохранить избранное | ||
140-780 | Войлочный баф, толщиной 3 x 1/2 дюйма | $13,50 каждый | − + Сохранить избранное | ||
130-784 | Щетка из щетины, диаметр 3 дюйма (обрезка 3/4 дюйма) | 3,75 $ шт. | − ++; Сохранить избранное | ||
310-029-01 | Сменный правый конический шпиндель, 8 мм | 4,35 $ каждый | − + Сохранить избранное | ||
310-029-02 | Сменный левый конический шпиндель, 8 мм | 4,35 $ каждый | − + Сохранить избранное | ||
140-784 | Запасной желтый баф (для отделки), 3″x40 слоёв | $3,35 каждый | − + Сохранить избранное | ||
140-786 | Запасной белый баф (для первоначальной полировки), 3 дюйма x 40 слоев | 2,79 $ шт. |
Легко настраивается в соответствии с потребностями пользователей. Ручной распылитель также включен для очистки



