Вращающийся центр для токарного станка чертеж: Неподвижные и вращающиеся центры для токарных станков
Содержание
Центр вращающийся — конструкция, применение, виды, ГОСТы
На рисунке выше изображена конструкция центра предназначенного для фиксации в конический паз пиноли задней бабки токарного станка. Рабочая часть или центр (1) вращается благодаря шариковым подшипникам (2) и (4), в других вариантах конструкции применяются игольчатые подшипники. Возникающее в процессе работы осевое давление компенсирует упорный шариковый подшипник (5). Крепление в пиноли обеспечивает конический хвостовик (3). Для точного определения осевых усилий некоторые конструкции имеют встроенный прибор.
Более надежную фиксацию заготовок, особенно при работе с тяжелыми деталями на больших скоростях, обеспечивают встроенные в пиноль центры. Данное конструктивное исполнение, приведенное на рисунке ниже, даёт более высокую жесткость фиксации, оптимально при подготовке стружек большого сечения.
В передней части пиноли (1) имеется специально расточенное отверстие. В нем установлены подшипники для втулки (4) – упорный (3) расположенный в передней части для восприятия осевой нагрузки и радиальный (2).
Во втулке выточено коническое отверстие под центр (5). Данную конструкцию можно использовать для крепления сверла или любого другого осевого инструмента, для чего втулка соединяется стопором с пинолью.
Вращающийся центр для токарного станка своими руками
Многие домашние мастера задумываются о том, как самостоятельно изготовить токарный станок по металлу.
Такое желание объясняется тем, что при помощи подобного устройства, стоить которое будет совсем недорого, можно эффективно выполнять большой перечень токарных операций, придавая заготовкам из металла требуемые размеры и форму.
Казалось бы, намного легче приобрести простейший настольный станок и использовать его в своей мастерской, но учитывая немалую стоимость такого оборудования, есть смысл потратить время на то, чтобы сделать его своими руками.
Самодельный токарный станок — это вполне реально
Использование токарного станка
Токарный станок, который одним из первых появился в линейке оборудования для обработки деталей из разных материалов, в том числе из металла, позволяет изготавливать изделия различных форм и размеров.
С помощью такого агрегата можно выполнять обточку наружных и внутренних поверхностей заготовки, высверливать отверстия и растачивать их до требуемого размера, нарезать наружную или внутреннюю резьбу, выполнять накатку с целью придания поверхности изделия желаемого рельефа.
Серийный токарный станок по металлу — это габаритное устройство, управлять которым не так просто, а его стоимость очень сложно назвать доступной.
Использовать такой агрегат в качестве настольного оборудования нелегко, поэтому есть смысл сделать токарный станок для своей домашней мастерской самостоятельно.
Используя такой мини-станок, можно оперативно производить обточку заготовок, выполненных не только из металла, но также из пластика и древесины.
На таком оборудовании обрабатываются детали, имеющие круглое сечение: оси, рукоятки инструментов, колеса, конструктивные элементы мебели и изделия любого другого назначения.
В подобных устройствах заготовка располагается в горизонтальной плоскости, при этом ей придается вращение, а излишки материала снимает резец, надежно зафиксированный в суппорте станка.
Проточка тормозного диска на самодельном токарном станке
Несмотря на простоту своей конструкции, такой агрегат требует четкой согласованности движений всех рабочих органов, чтобы обработка выполнялась с предельной точностью и наилучшим качеством исполнения.
Пример самодельного токарного станка с чертежами
Рассмотрим подробнее один из рабочих вариантов собранного собственными силами токарного станка, довольно высокое качество которого по праву заслуживает самого пристального внимания. Автор данной самоделки даже не поскупился на чертежи, по которым данное устройство и было успешно изготовлено.
Конечно, далеко не всем требуется настолько основательный подход к делу, зачастую для домашних нужд строятся более простые конструкции, но в качестве донора для хороших идей данный станок подходит как нельзя лучше.
Токарный станок, сделанный своими руками
Внешний вид станка Основные узлы Суппорт, резцедержатель и патрон Вид сбоку Задняя бабка Вид снизу на заднюю бабку Направляющие валы Конструкция суппорта Привод от двигателя
Чертеж №1 Чертеж №2 Чертеж №3
Конструкционные узлы
Любой, в том числе и самодельный, токарный станок состоит из следующих конструктивных элементов: несущей рамы — станины, двух центров — ведущего и ведомого, двух бабок — передней и задней, шпинделя, суппорта, приводного агрегата — электрического двигателя.
Конструкция малогабаритного токарного станка про металлу
На станине размещают все элементы устройства, она является основным несущим элементом токарного станка.
Передняя бабка — это неподвижный элемент конструкции, на котором располагается вращающийся шпиндель агрегата.
В передней части рамы находится передаточный механизм станка, с помощью которого его вращающиеся элементы связаны с электродвигателем.
Именно благодаря такому передаточному механизму вращение получает обрабатываемая заготовка.
Задняя бабка, в отличие от передней, может перемещаться параллельно направлению обработки, с ее помощью фиксируют свободный конец обрабатываемой заготовки.
Простая схема узлов самодельного станка по дереву подскажет простой вариант изготовления станины, передней и задней бабок
Самодельный токарный станок по металлу можно оснастить любым электродвигателем даже не слишком высокой мощности, но такой двигатель может перегреться при обработке крупногабаритных заготовок, что приведет к его остановке и, возможно, выходу из строя.
Обычно на самодельный токарный станок устанавливают электродвигатели, мощность которых находится в пределах 800–1500 Вт. Даже если такой электродвигатель отличается небольшим количеством оборотов, проблему решают при помощи выбора соответствующего передаточного механизма.
Для передачи крутящего момента от таких электродвигателей обычно используют ременные передачи, очень редко применяются фрикционные или цепные механизмы.
Токарные мини-станки, которыми оснащаются домашние мастерские, могут даже не иметь в своей конструкции такого передаточного механизма: вращающийся патрон агрегата фиксируется непосредственно на валу электродвигателя.
Станок с прямым приводом
Кроме того, необходимо обеспечить надежную фиксацию детали, что особенно важно для моделей лобового типа: с одним ведущим центром.
Решается вопрос такой фиксации при помощи кулачкового патрона или планшайбы.
По сути, токарный станок своими руками можно сделать и с деревянной рамой, но, как правило, для этих целей применяют профили из металла.
Высокая жесткость рамы токарного станка обязательна для того, чтобы на точность расположения ведущего и ведомого центра не оказывали влияние механические нагрузки, а его задняя бабка и суппорт с инструментом беспрепятственно перемещались вдоль оси агрегата.
Использование швеллеров при изготовлении рамы и передней бабки станка
Собирая токарный станок по металлу, важно обеспечить надежную фиксацию всех его элементов, обязательно учитывая нагрузки, которым они будут подвергаться в ходе работы.
На то, какие габариты окажутся у вашего мини-станка, и из каких конструктивных элементов он будет состоять, станет оказывать влияние и назначение оборудования, а также размеры и форма заготовок, которые на нем планируется обрабатывать. От этих параметров, а также от величины планируемой нагрузки на агрегат будет зависеть и мощность электродвигателя, который вам необходимо будет использовать в качестве привода.
Вариант исполнения станины, передней бабки и привода
Для оснащения токарных станков по металлу не рекомендуется выбирать коллекторные электродвигатели, отличающиеся одной характерной особенностью.
Количество оборотов вала таких электродвигателей, а также центробежная сила, которую развивает обрабатываемая заготовка, резко возрастают при уменьшении нагрузки, что может привести к тому, что деталь просто вылетит из патрона и может серьезно травмировать оператора.
Такие электродвигатели допускается использовать в том случае, если на своем мини-станке вы планируете обрабатывать некрупные и нетяжелые детали.
Но даже в таком случае токарный станок необходимо оснастить редуктором, который будет препятствовать бесконтрольному увеличению центробежной силы.
Асинхронный трехфазный электродвигатель, подключаемый к сети 220 Вольт через конденсатор
Уже доказано практикой и конструкторскими расчетами, что для токарных агрегатов, на которых будут обрабатываться заготовки из металла длиной до 70 см и диаметром до 10 см, лучше всего использовать асинхронные электродвигатели мощностью от 800 Вт. Двигатели такого типа характеризуются стабильностью частоты вращения при наличии нагрузки, а при ее снижении в них не происходит ее бесконтрольного увеличения.
Если вы собираетесь самостоятельно сделать мини-станок для выполнения токарных работ по металлу, то обязательно следует учитывать тот факт, что на его патрон будут воздействовать не только поперечные, но и продольные нагрузки. Такие нагрузки, если не предусмотреть ременную передачу, могут стать причиной разрушения подшипников электродвигателя, которые на них не рассчитаны.
Сфера применения и особенности
Центры вращающиеся применяются в токарных станках для обточки деталей при скорости вращения более 75 м/мин. При этой скорости начинается процесс повышенного износа конуса центра и центрового отверстия обрабатываемой заготовки. Частичным путем решения проблемы является применение смазки и твердосплавных напаек, но оптимальным вариант – применение вращающегося центра.
Основные преимущества оснастки:
- Универсальность. При использовании центров со сменной насадкой можно обрабатывать детали с различными конусными осевыми отверстиями.
- Высокие характеристики воспринимаемой нагрузки, значительно превышающие показатели упорных фиксаторов.

- Длительная эксплуатация благодаря уменьшенному износу.
- Возможность работы при высоких показателях нагрузки.
Основным недостатком является наличие радиального биения. Данная проблема решается применение оснастки с допустимым показателем биения, либо финишной обработкой на малых скоростях с использованием неподвижного центра.
Виды вращающихся центров
В зависимости от формы фиксирующей части выпускается два типа вращающихся центров:
- с рабочим конусом для крепления заготовок с центровыми отверстиями;
- с грибообразной насадкой для заготовок с внутренним отверстием – труб, полых валов и т. д.
По конструкции оснастка подразделяется на:
- Центр с постоянным валиком (тип А)
- Центр со сменной насадкой (тип Б)
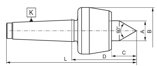
Конус центрового валика проточен под 60° (исполнение 1) или может иметь дополнительную выточку под конус 30° (исп. 2).
Условное обозначение оснастки: Центр А-1-4-НП ГОСТ 8742-75
Тип А, исполнение 1 с конусом Морзе 4 повышенной точности и нормальной серии.
Таблица основных параметров оснастки
| Центры вращающиеся станочные ГОСТ 8742-75 Тип А — с постоянным центровым валиком Тип Б — с насадкой на центровой валик | ||||||||||
| Центр вращающийся тип-исполнение-конус морзе-серия | d | D | L 1 рядL 2 ряд | L 1 рядL 2 ряд | D1 | l1 | ||||
| Центр вращающийся А-1-2-Н | Центр вращающийся А-2-2-Н | Центр вращающийся Б-2-Н | 22 | 56 | 160 | 90 | 56 | 24 | ||
| Центр вращающийся А-1-3-Н | Центр вращающийся А-2-3-Н | Центр вращающийся Б-3-Н | 25 | 63 | 180 | 185 | 94 | 99 | 63 | 26 |
| Центр вращающийся А-1-4-Н | Центр вращающийся А-2-4-Н | Центр вращающийся Б-4-Н | 28 | 71 | 210 | 225 | 101 | 116 | 71 | 30 |
| Центр вращающийся А-1-5-Н | Центр вращающийся А-2-5-Н | Центр вращающийся Б-5-Н | 32 | 80 | 240 | 260 | 104 | 124 | 80 | 34 |
| Центр вращающийся А-1-4-У | Центр вращающийся А-2-4-У | Центр вращающийся Б-4-У | 36 | 75 | 220 | 235 | 111 | 126 | 75 | 36 |
| Центр вращающийся А-1-5-У | Центр вращающийся А-2-5-У | Центр вращающийся Б-5-У | 40 | 90 | 250 | 275 | 114 | 139 | 90 | 45 |
| Центр вращающийся А-1-6-У | Центр вращающийся А-2-6-У | Центр вращающийся Б-6-У | 56 | 125 | 340 | 360 | 150 | 170 | 125 | 56 |
Классификация
В зависимости от материала рабочей части центры подразделяются на два исполнения:
- Исполнение 1 – закаленный конус.

- Исполнение 2 – конус из твердых сплавов.
Неподвижный центр может быть с полным конусом или со срезанным, половиной рабочей части. Последние используются при подрезании торцов, когда резцом необходимо дойти почти до оси вращения обрабатываемой детали.
В зависимости от формы фиксирующей части неподвижные центры подразделяются на оснастку:
- с рабочим конусом для фиксации деталей с центрами и без сквозных или глухих продольных отверстий;
- с грибообразной насадкой для фиксации деталей с внутренним отверстием – труб, полых валов и т. д.;
- Упорные центры выпускаются с отжимной гайкой или без неё. Наличие гайки необходимо в тех случаях, когда на центр действует высокая осевая нагрузка. Применение отжимной гайки позволяет извлечь центр из пиноли без приложения больших усилий.
Особенности эксплуатации
Приведём основные правила эксплуатации вращающихся центров, необходимые для точной обработки деталей:
- При выборе класса точности оснастки необходимо оставить запас на покрытие погрешностей биения вследствие прочих причин – износ подшипников, малая жесткость и т.
д. - Важную роль играет правильная установка детали. Ось конуса должна с высокой точностью совпадать с осью вращения заготовки.
- Для проверки точности установки можно подложить под вращающийся центр белый лист бумаги и оценить соосность. Более точный контроль производится с помощью индикаторов.
- При наличии биения конус шлифуется по месту с проверкой по шаблону. Обработка осуществляется электроинструментом, расположенным в резцедержателе.
- Биение вращающихся центров приводит к биению полученной детали относительно оси. При установке этой детали на другой станок, имеющий другой показатель биения, может иметь место отклонение от соосности. Для устранения отклонений производится обработка с применением неподвижного центра.
Центр вращающийся токарный|Торцевые захваты, поводковые патроны
OSNASTIK
Южная Корея / Индия
Центра вращающиеся и упорные
- Вращающиеся задние центры
- Вращающиеся центры для труб
- Вращающиеся задние центры со сменными наконечниками
- Упорные центры, упорные центры для труб
WIDIN
Южная Корея
Токарные центры WIDIN
- Вращающиеся центры для токарных станков.
Тип LC-NC - Вращающиеся центры для токарных станков. Тип LC-NCP
- Вращающиеся центры для тяжелой обработки. LC-NK NKD
- Вращающиеся центры для шлифовальной обработки. Тип LC-SMP
- Вращающиеся центры для высокоскоростной обработки. Тип LC-D50
- Вращающиеся центры с уплотнениями.
Тип LC-HD - Вращающиеся конуса. Тип LC-PT
- Упорные центры. Тип LM и LM-H
- Вращающиеся центры для токарных станков.
Центр вращающийся токарный
Токарные центра вращающиеся (упорные центра) используются в токарных станках. Вращающиеся центра служат для уменьшения радиального биения путём закрепления заготовок. Для закрепления вращающийся центр подводится к незакреплённой стороне заготовки и прижимает её. Таким образом, заготовка оказывается закреплена с обеих сторон: с одной стороны зажимным патроном, с другой стороны — токарным центром.
Такое закрепление позволяет работать с большей скоростью и увеличенным нажимом резака.
Представленные в данном разделе вращающиеся центра для токарного станка отличаются различными возможностями и преимуществами:
По конструкции наконечника:
- Вращающийся наконечник — используется при не вращающейся задней бабке станка для снижения трения между заготовкой и наконечником центра.
- Не вращающийся наконечник — обладает более низкой стоимостью и увеличенной износостойкостью, так как является цельнометаллическим.
По креплению наконечника:
- Съёмный наконечник — позволяет сменять наконечники вращающегося центра вручную или автоматически (на станках с ЧПУ), что увеличивает универсальность применения центра, а также увеличивает срок службы.
- Несъёмный наконечник — обладает более низкой стоимостью.
По виду заготовки:
- Цельнометаллическая заготовка — центра со стандартными наконечниками.
- Полые заготовки, трубы и пр.
— т.н. «грибковые центра» с увеличенным наконечником, представляющим из себя усечённый конус.
Mohawk Machinery-Tales & Curting-Centers для продажи
Категории
CNC Machinery29
- Токары и центр поворота 14
- Machining-Centres -Шпиндель 13
Воздушные компрессоры6
Автоматические1
Расточные станки7
Расточно-токарные станки1
Протяжки9
Химические16
0007 Comparators7
Drills28
Электроигнологические машины "EDM" 5
Граверы и маркировка.
Токарные станки44
Погрузочно-разгрузочные работы49
ПОТОЧКА МЕТАЛЛА: расширители, экструдеры и прочее1
Мельницы34
Прочее265
Presses44
Robots5
Rolls9
Saws37
SHAPER2
Shears18
Slotters1
Tables & Rotary Tables26
Threaders & Thread Rollers3
Welding41
Welding Equipment2
Wire2
Details
# LU-15M OKUMA "IMPACT" 5-ОСИ TWIN-TURRET CNC TURNING
Получить финансирование
Детали
15.75" x 50" HARRISON "ALPAT- 400S PLUS"
Get financing
Details
15.7/23" x 50" CLAUSIING COLCHESTER/600GROUP "MULTI-TURN 2000" COMBINATION CNC/MANUAL LATHE
Get financing
Details
15" X 60 "Clausing/Metosa" Smart SM1560VS "2-осевая комбинированное руководство/Токарный завод CNC
Получить финансирование
Детали
17" x 45 "Southwestern Industries (SWI)" Trak TRL1745P ".
ТОКАРНЫЙ СТАНОК С РУЧНЫМ ДВИГАТЕЛЕМ
Получить финансирование
Подробная информация
(2) ANS-31P FUJI CNC CORTERS CELTER W/R-200 1000 DMG Gildemeister CNC Центр поворота с оси и живым фрезерованием
Получить финансирование
Подробности
15,75/23 "x 50" Харрисон/600Group "Альфа 400 плюс" Комбинация GAP-Type 2-осе /ТОКАРНЫЙ СТАНОК С ЧПУ
Получить финансирование
Подробная информация
17,5 "x 40" Nardini "Fast Trace" CNC Lathe
Get Financing
.
Получить финансирование
Подробная информация
26 "x 80" Chevalier "FCL-2680" Flat Bed Cnc Lathe
Получите финансирование
Подробности
15 "x 36" Milltronic 15-ДЮЙМОВЫЙ КОМБИНИРОВАННЫЙ 2-ОСЕВОЙ СТАНОК С ЧПУ
Получить финансирование
TCK500 TCK630 TCK800 Токарный центр с ЧПУ
Узнать сейчас
Следующий продукт
Описание
ТОКАРНЫЙ СТАНОК С ЧПУ ВВЕДЕНИЕ
Токарный станок с ЧПУ с наклонной станиной этой серии представляет собой автоматическое обрабатывающее оборудование нового типа для обработки металлов, подходящее для пакетной обработки валов и листовых заготовок, с такими основными характеристиками, как высокая эффективность, простота Работа и высокая точность, эта серия токарных станков в основном используется для точения внутренней и внешней цилиндрической поверхности, конической поверхности и других вращающихся поверхностей, а также для точения различных типов резьбы и т.
д.
Особенности
ook Точность
Стандартные аксессуары | Опциональные аксессуары |
SIEMENSENSENCEENSENCENSERICENRICANLIC | |
SIEMENSENSEN -AIMDRILIC.0006 | Fanuc or other brand CNC controller, power turret, tool setting arm |
SPECIFICATIONS
SPECIFICATIONS | Units | TCK500 | TCK630 | TCK800 | |||||||
Поворот над кроватью | мм | 500 | 800 | ||||||||
Swing over cross slide | mm | 380 | 440 | 650 | |||||||
Distance between centers | ММ | 500/1000/1500/ 2000/30009 | 1000/1500/2000/3000 | 1000/1500/2000/3000 | Guideway width | ° | 45 | 45 | 45 | ||
Spindle bore | mm | 82 | 105 | 105 | |||||||
Ступени скорости шпинделя | - | Бесступенчатая 91406 | Stepless | ||||||||
Spindle speed range | rpm | 35-3000 | 150-1500 | 50-1500 | |||||||
Chuck | in | 10 '' Гидравлический чак | 15 '' Гидравлический чак | 15 '' Гидравлический патрон | |||||||
. | - | Hydraulic turret 8position | Hydraulic turret 8position | Hydraulic turret 12position | |||||||
Tool shank size | mm | 25 x 25 | 32 x 32 | 32 x 32 | |||||||
Размер держателя | мм | 7 940000006 | φ50 | φ50 | |||||||
X axis travel | mm | 300 | 335 | 400 | |||||||
Z axis travel | mm | 500/1000/1500/ 2000/3000 | 1000/1500/2000/3000 | 1000/1500/2000/3000 | |||||||
X axis rapid traverse | mm/min | 10000 Linear guideway | 4000 Hard | 10000 Linear | 10000 Linear guideway | ||||||
Ускоренный ход по оси Z | мм/мин | 15000 Линейная направляющая | 6000 Line Hard | ||||||||
006
15000
Linear guideway
Tailstock quill diameter
mm
φ75
φ130
φ130
Tailstock quill taper
-
MT5
MT5
MT5
9 Ход пиноли
mm
150
150
150
Main spindle motor
kw
15
15
22
Coolant pump motor
kw
0.
.jpg)


д.
Тип LC-NC
Тип LC-HD
— т.н. «грибковые центра» с увеличенным наконечником, представляющим из себя усечённый конус.
1500/2000/3000
Туреш0241