Заклепки расчет длины: Заклёпки. Как рассчитать требуемую длину заклёпки
Содержание
Заклёпки. Как рассчитать требуемую длину заклёпки
Заклёпка — один из простейших видов крепежа для создания неразъёмных соединений. В общем случае — это стержневая или трубчатая деталь, имеющая на одном конце опорную «закладную» головку определённой формы. Устанавливается в соединении, как следует из названия, методом клёпки (а также усадки, вальцовки, протяжки, взрыва).
По форме заклёпки можно условно разделить на несколько основных типов:
- Заклёпки с замыкающей головкой (бывают полнотелые, пустотелые и полупустотелые)
- Заклёпки с протяжкой (называют также — отрывные или вытяжные)
- Заклёпки резьбовые (также называют — гайки клепальные)
Заклёпки с замыкающей головкой
Исторически первыми были изобретены заклёпки с замыкающей головкой — поэтому они получили наибольшее распространение. Такие заклёпки имеют с одной стороны закладную головку. Вторая головка, называемая замыкающей, формируется с помощью вальцовочного или клепального инструмента: клепальный молоток, клещи.
По форме головки заклёпки с замыкающей головкой делятся на:
- Заклёпки с полукруглой головкой
- Заклёпки с потайной головкой
- Заклёпки с полупотайной головкой
- Заклёпки с плоской головкой (с бочкой)
Также конструктивно они отличаются наличием отверстия внутри заклёпки:
- Полнотелые заклёпки — отверстие отсутствует
- Пустотелые заклёпки — трубчатые — имеют сквозное отверстие
- Полупустотелые заклёпки — под развальцовку — имеют глухое отверстие
Материалы для заклёпок
Заклёпки с замыкающей головкой могут быть изготовлены из разнообразных металлов и сплавов, которые хорошо поддаются пластической деформации.
Наибольшее распространение получили следующие материалы:
- Стали — в основном, используются пластичные высококипящие стали 03кп, 05кп, 08кп, 10кп, 15кп, 20кп
- Нержавеющие стали — аустенитные стали 12Х18Н9, 08Х18Н10, 03Х18Н11, 12Х18Н10Т
- Алюминиевые сплавы — наиболее применимы сплавы АД, АД1, алюминиево-магниевые сплавы АМг2, АМг5, АМг5П, АМг6, сплавы АМц, В94, В65, также используют дюралюминиевые сплавы Д1, Д16, Д16Т, Д18, Д18П, Д19П
- Латунные сплавы — в основном, сплав Л63
- Медь — марки МТ, М3
Маркировка заклёпок по материалам
Заклёпки могут быть маркированы на головке — для последующей идентификации.
Маркировка может быть выпуклой или вогнутой (клеймение).
Далее приведена таблица с принятой маркировкой основных материалов в виде точек или штрихов.
Алюминиевые сплавы | Сталь | Медь и латунь | ||||||
| В65 | Д18П | Д19П | АМг5 | АМц | АД1 | 20ГА | 10, 20, 12Х18Н10Т | М3, Л63 |
| без метки | без метки | без метки | ||||||
Определение длины заклёпки
Правильная установка заклёпки предусматривает создание полной формы замыкающей головки и отсутствие при этом каких-либо избыточных зазоров и наплывов. Для правильной установки заклёпки необходимо определить длину тела заклёпки, зависящую от толщины склёпываемых материалов и типа заклёпки.
«Справочник конструктора-машиностроителя» под редакцией Анурьева В.И. предлагает пользоваться одной универсальной формулой для всех форм головок заклёпок. Здравый смысл подсказывает, что такой подход ошибочный — поэтому воспользуемся формулами из другого источника: «Основы конструирования» под редакцией Орлова П.И., 1988 года.
| Конструкция заклёпки | Припуск «Н» для заклёпок без зазора | Припуск «Н» для заклёпок с зазором |
| H=1,2d | H≈1,2d+0,1S | |
| H=0,54d | H≈0,5d+0,1S |
| H=0,6d | H≈0,5d+0,1S |
| H=0,8d | H≈0,7d+0,1S |
| H=d | H≈0,9d+0,1S |
| H=1,2d | H≈1,1d+0,1S |
Вычислив по формуле необходимый размер припуска, можно определить длину заклёпки L, прибавив к толщине склёпываемых материалов S значение припуска H.
Затем необходимо выбрать ближайшее значение длины заклёпки из стандартного ряда длин. Для заклёпок утверждён стандартный ряд длин, согласно которого они и производятся (в мм):
- 2, 3, 4, 5, 6, 7, 8, 9, 10, 12, 14, 16, 18, 20, 22, 24, 26, 28, 30, 32, 34, 36, 38, 40, 42, 45, 48, 50, 52, 55, 58, 60, 65, 70, 75, 80, 85, 90, 95, 100, 110, 120, 130, 140, 150, 160, 170, 180
Пример расчёта длины заклёпки
Например, нам необходимо склепать несколько листов общей толщиной 32 мм; склёпывать будем без зазора заклёпками с полукруглой головкой Ø6 мм (1-я конструкция в таблице).
d = 6 мм
S = 32 мм
H = 1,2d = 1,2 x 6 = 7,2 мм
Таким образом, необходимо использовать заклёпку с длиной стержня
L = S + H = 32 + 7,2 = 39,2 мм
Выбираем ближайшую длину из стандартного ряда — это 40 мм.
В итоге, мы выяснили, что для склёпывания пакета листов толщиною 32 мм нам понадобится заклёпка размера Ø6х40 мм.
Теги
- Заклёпки
| В65 | Д18П | Д19П | АМг5 | АМц | АД1 | 20ГА | 10, 20, 12Х18Н10Т | М3, Л63 |
| без метки | без метки | без метки | ||||||
| Конструкция заклёпки | Припуск «Н» для заклёпок без зазора | Припуск «Н» для заклёпок с зазором |
| H=1,2d | H≈1,2d+0,1S | |
Вычислив по формуле необходимый размер припуска, можно определить длину заклёпки L, прибавив к толщине склёпываемых материалов S значение припуска H.
Затем необходимо выбрать ближайшее значение длины заклёпки из стандартного ряда длин. Для заклёпок утверждён стандартный ряд длин, согласно которого они и производятся (в мм):
- 2, 3, 4, 5, 6, 7, 8, 9, 10, 12, 14, 16, 18, 20, 22, 24, 26, 28, 30, 32, 34, 36, 38, 40, 42, 45, 48, 50, 52, 55, 58, 60, 65, 70, 75, 80, 85, 90, 95, 100, 110, 120, 130, 140, 150, 160, 170, 180
Пример расчёта длины заклёпки
Например, нам необходимо склепать несколько листов общей толщиной 32 мм; склёпывать будем без зазора заклёпками с полукруглой головкой Ø6 мм (1-я конструкция в таблице).
d = 6 мм
S = 32 мм
H = 1,2d = 1,2 x 6 = 7,2 мм
Таким образом, необходимо использовать заклёпку с длиной стержня
L = S + H = 32 + 7,2 = 39,2 мм
Выбираем ближайшую длину из стандартного ряда — это 40 мм.
В итоге, мы выяснили, что для склёпывания пакета листов толщиною 32 мм нам понадобится заклёпка размера Ø6х40 мм.
Заклёпки с протяжкой
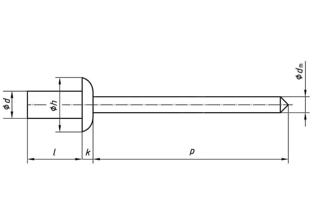
Заклёпки с протяжкой изготавливают пустотелыми, с головкой на одном конце, внутрь заклёпки вставляется подвижный расширительный стержень, который при установке протягивается через заклепку, расширяет её, формирует вторую замыкающую головку и стягивает скрепляемые листы материала. После затяжки стержни обламываются или протягиваются полностью через заклепки.
Такие заклёпки часто называют отрывными или вытяжными — по технологии установки. Заклёпки с протяжкой в последнее время становятся всё более и более популярными. Это происходит по нескольким причинам:
- технологическая простота установки заклёпок;
- достаточно иметь доступ к монтажу только с одной стороны конструкции;
- не требуется поддержка заклёпки с обратной стороны;
- дешевизна и компактность инструмента для установки заклёпок;
- высокая производительность при установке заклёпок
- разнообразие видов заклёпок
Так как отрывные заклёпки пустотелые, то после установки внутри заклёпки остаётся отверстие, в которое можно проложить провода, установить другой крепёж — например, винты.
Диаметр нормальной головки таких заклёпок приблизительно равен двум диаметрам заклёпки D ≈ 2d. Наряду с нормальной головкой заклёпки могут иметь увеличенную головку с диаметром равным трём диаметрам заклёпки D ≈ 3d.
Выпускается также специальный тип водо- и газонепроницаемых заклёпок с протяжкой — глухие или герметичные заклёпки, после установки которых соединение получается герметичным.
Установка заклёпок с протяжкой осуществляется с помощью специального инструмента — пистолета для заклёпок — заклёпочника. Производятся заклёпочники механические ручные и высокопроизводительные пневматические и аккумуляторные электрические.
Принципиальная схема установки заклёпки с протяжкой показана на видео:
Материалы для заклёпок с протяжкой
Исходя из способа установки заклёпок с протяжкой, логичным представляется, что заклёпка в сборе состоит из двух материалов, и материал стержня должен быть прочнее, чем материал самой заклёпки — иначе как стержень разожмёт и спрессует заклёпку раньше, чем разрушится сам.
В таких заклёпках используются или пара разных материалов или однотипные материалы, но с различной прочностью. Приведём наиболее распространённые пары материалов для заклёпок с протяжкой:
- Алюминиевая заклёпка + стальной оцинкованный стержень (на самом деле заклёпка сделана не из алюминия, а из алюминиево-магниевого сплава АМг, который может иметь различное процентное содержание магния (Mg): 1%; 2,5%; 3,5%; 5% — соответственно сплавы АМг, АМг2, АМг3, АМг5 — чем больше содержание магния (Mg), тем прочнее заклёпка) — обозначают Al/St
- Алюминиевая заклёпка окрашенная + стальной оцинкованный стержень (заклёпка сделана из алюминиево-магниевого сплава АМг, и снаружи окрашена порошковой краской в определённый цвет из цветовой раскладки RAL) — обозначают Al/St 0000, где 0000 — четырёхзначный номер цвета раскладки RAL
- Алюминиевая заклёпка + алюминиевый стержень (заклёпка и стержень сделаны из алюминиево-магниевых сплавов АМг, но с различным процентным содержанием магния — стержень прочнее) — обозначают Al/Al
- Алюминиевая заклёпка + нержавеющий стержень — обозначают Al/A2
- Нержавеющая заклёпка + нержавеющий стержень (и заклёпка и стержень изготовлены из нержавеющей стали, но различных марок, и стержень прочнее) — обозначают A2/A2 или A4/A4
- Медная заклёпка + стальной оцинкованный стержень — обозначают Cu/St
- Медная заклёпка + бронзовый стержень — обозначают Cu/Br
- Медная заклёпка + нержавеющий стержень — обозначают Cu/A2
- Стальная оцинкованная заклёпка + стальной оцинкованный стержень (заклёпка и стержень из стали, но различных марок и стержень прочнее) — обозначают St/St
Определение длины заклёпки с протяжкой
Длину заклёпки с протяжкой можно определить с помощью следующей таблицы, в зависимости от толщины скрепляемых материалов (производитель настоятельно не рекомендует применять заклёпки для склёпывания материалов толщиною менее нижнего рекомендуемого предела и выше верхнего предела).
Заклёпки резьбовые
Резьбовые заклёпки, хотя и были изобретены почти одновременно с заклёпками с протяжкой, но широкое распространение получили только в последнее время.
Резьбовая заклёпка представляет собой гибрид пустотелой заклёпки и гайки, поэтому второе название таких заклёпок — гайки клепальные. Вообще-то единства в названии нет — называют также гайка-заклепка, заклепка с резьбой, заклёпочная гайка. Такой кавардак с названиями объясняется отсутствием стандарта ISO или DIN на данный вид крепежа. Конструктивная особенность клепальных гаек обуславливает их двойное назначение: с их помощью можно как склёпывать между собой листовые материалы, так и просто создавать точки резьбового крепления на тонкостенных элементах конструкции. Удобство установки заклёпок связано с отсутствием необходимости доступа с обратной стороны конструкции — так называемая «установка вслепую». При установке не повреждается уже обработанная поверхность детали, например, с покрытием, окраской.
По форме бурта (головки) гайки клепальные делят на:
- с плоским цилиндрическим буртом (нормальным и уменьшенным)
- с потайным буртом (нормальным и уменьшенным)
По конструкции заклёпки резьбовые разделяют на открытые — со сквозным отверстием, и глухие — закрытые с одной стороны.
По форме наружной поверхности резьбовые заклёпки делят на:
- гладкие
- рифлёные
- шестигранные
- полушестигранные
Установка, как и в случае с заклёпками отрывными (вытяжными) осуществляется с помощью специализированного инструмента — щипцов для клепальных гаек — заклёпочника. Производятся заклёпочники механические ручные и высокопроизводительные пневматические.
Материалы для резьбовых заклёпок
В настоящее время европейские производители изготавливают резьбовые заклёпки из следующих материалов:
- Алюминиево-магниевые сплавы
- Сталь оцинкованная
- Нержавеющая сталь
Как выбрать длину заклёпки резьбовой
Подбор правильной длины заклёпки осуществляется в зависимости от вида резьбовой заклёпки и толщины листовой конструкции на которую устанавливается заклёпка.
Длина заклёпки при одинаковой резьбе варьируется в зависимости от вида заклёпки. Многие виды резьбовых заклёпок бывают нормальной длины и удлинённые. Выбирать длину заклёпки необходимо руководствуясь
Таблицами с размерами и параметрами заклёпок
Принципиальная схема установки резьбовой заклёпки показана на видео:
Заклепки «под молоток» ГОСТ 10299, 10300. Особенности и сфера применения
Часто возникает необходимость в соединении двух деталей так, чтобы они скрепились, как говорится, намертво.
Конечно, можно выполнить данную процедуру с помощью болта и гайки, но намного проще и, что не менее важно, дешевле использовать для этого заклепки. В пользу такого выбора говорит широкий ассортимент этих крепежных деталей, позволяющий сопрягать элементы различных конструкций даже из разных, но твердых материалов. Особой популярностью среди домашних мастеров пользуются т.н. «заклепки под молоток», изготавливаемые по нормам ГОСТов 10299 и 10300, принятых в 1980 году.
Конструкция и материал изготовления
Конструктивное исполнение заклепок, утвержденное данными стандартами, во многом схоже. Эти детали состоят из:
Заклепка, изготовленная по нормам ГОСТ 10299-80
Заклепка, соответствующая требованиям ГОСТ 10300-80
В качестве сырья для изготовления заклепок, соответствующих требованиями обоих нормативных документов, используется металл, типы которого указаны в ГОСТе 10304-80.
Содержащиеся в нем сведения представлены в таблице.
|
| ||
|
|
|
|
|
|
|
|
|
| ||
|
| ||
|
|
|
|
|
|
| |
|
|
|
|
|
| ||
|
|
|
|
|
|
| |
|
|
|
|
|
|
|
|
|
|
| |
|
|
| |
|
|
| |
Технические характеристики заклепок, выполненных по нормам ГОСТ 10299
Действие Государственного стандарта №10299 от 1980 года распространяется на заклепки, изготовленные с нормальной и грубой точностью – класса «В» и класса «С», соответственно. Данным нормативным документом установлено одно исполнение этих крепежных деталей.
Численные значения рабочих параметров заклепок, выполненных по нормам ГОСТа 10299-80 указаны в таблице.
Обозначение этих технических характеристик такое же, как и на чертеже. Единица измерения –миллиметры.
|
|
|
|
|
|
|
|
|
|
|
|
|
|
|
|
|
|
|
|
|
| ||
|
|
|
|
|
|
| |
|
|
|
|
|
|
| |
|
|
|
|
|
| ||
|
|
|
|
|
| ||
|
|
|
|
|
|
| |
|
|
|
|
|
| ||
|
|
|
|
|
| ||
|
|
|
|
|
|
| |
|
|
|
|
|
|
|
|
|
|
|
|
|
| ||
|
|
|
|
|
| ||
|
|
|
|
|
|
| |
|
|
|
|
|
| ||
|
|
|
|
|
|
| |
|
|
|
|
|
| ||
|
|
|
|
|
|
| |
|
|
|
|
|
| ||
|
|
|
|
| |||
|
|
|
|
|
| ||
|
|
|
|
|
|
Не рекомендуется использовать заклепки с диаметром стержня, равным 22,0 мм; 18,0 мм; 14,0 мм; 3,5 мм и 1,4 мм.
Требования ГОСТа 10299-80 касательно предельного отклонения высоты головки (обозначим этот параметр следующей последовательностью литер: Пр. Откл. В. Гол.) выглядят так:
-
при Н=1,0 мм: Пр. Откл. В. Гол. ± 0,28 миллиметров; -
когда Н<1,0 мм: (-0,16) ≤Пр. Откл. В. Гол.≤ (+0,28) миллиметров.
Технические характеристики заклепок, выполненных по нормам ГОСТ 10300
Государственный стандарт №10300, принятый в 1980 году, нормирует производство заклепок с нормальной (класс «В») и грубой (класс «С») точностью. Данным нормативным документом установлен один вариант исполнения этих крепежных деталей.
В таблице указаны технические характеристики заклепок, соответствующих требованиям ГОСТа 10300-80. Обозначены эти параметры так же, как и на чертеже.
|
|
|
|
|
|
|
|
|
|
|
|
|
|
|
|
|
|
|
|
|
| ||
|
|
|
|
|
|
| |
|
|
|
|
|
| ||
|
|
|
|
|
| ||
|
|
|
|
|
| ||
|
|
|
|
| |||
|
|
|
|
|
| ||
|
|
|
|
|
|
|
|
|
|
|
|
| |||
|
|
|
|
| |||
|
|
|
|
|
| ||
|
|
|
|
|
| ||
|
|
|
|
| |||
|
|
|
|
|
| ||
|
|
|
|
| |||
|
|
| |||||
|
|
|
|
| |||
|
|
|
|
|
Не рекомендуется применять заклепки с диаметром стрежня 14 и 1,4 миллиметра.
Предельные отклонения параметра Н – высота головки – аналогичны указанным выше для ГОСТ 10299, то есть:
-
при Н<1,0 мм: (-0,16) ≤Пр. Откл. В. Гол.≤ (+0,28) миллиметров; -
когда Н=1,0 мм: Пр. Откл. В. Гол. ± 0,28 миллиметров.
Подбор заклепок по длине
Корректная установка крепежа заклепочного типа предполагает точный подбор его длины. Только в этом случае будет сформировано прочное соединение без необязательных зазоров, и появится возможность создать замыкающую головку из выступающего отрезка стержня требуемой конфигурации.
При подборе длины подлежит первоочередному учету общая толщина скрепляемых объектов (S). Сначала следует определить длину припуска – так называется часть стержня, которая будет выступать над поверхностью одной из скрепляемых деталей. В этом аспекте стоит прислушаться к рекомендациям экспертов. Так, для заклепки:
- выполненной по нормам ГОСТа 10299 и имеющей полукруглую головку, длина припуска (обозначим ДП1) вычисляется по формуле: ДП1 = (1,2…1,5)×d;
- изготовленной в соответствии с положениями ГОСТа 10300 с головкой под потай, для вычисления ее длины следует применять такую формулу: ДП2 = (0,8…1,1)×d, где d – это диаметр стержня заклепки.

Общая длина стержня применяемой крепежной детали данного типа определяется так:
- вариант со сферической головкой: L1 = S+ДП1
- заклепка с головкой под потай: L2
= S+ДП2
Приведем пример расчета, когда требуется соединить листовые детали, общая толщина которых составляет 42 миллиметра, с использованием заклепки с потайной шляпкой и диаметром стержня ⌀10 мм.
L2
= 42 + 0,8×10 = 42 +8 =50 мм
Заключение
Численные значения диаметров крепежных деталей обоих рассматриваемых видов колеблются в широком диапазоне – min 1,0 мм; max 36 мм. Этот фактор накладывает определенные требования к подбору подходящего сверла под отверстия заклепочного шва. При этом необходимо помнить, что зазор между стенками гнезда и телом заклепки (обозначение Т):
при диаметре крепежного элемента d<5 мм должен быть таким: Т≤0,1 мм;
когда d≥5 мм, величина зазора не должна превышать 0,2 мм, то есть Т≤0,2 мм.

При соблюдении этих требований сформированное соединение будет прочным и долговечным.
Please enable JavaScript to view the comments powered by Disqus.comments powered by Disqus
Калькулятор длины стержня заклепки
✖Толщина пластины 1 заклепочного соединения определяется как толщина первой пластины, соединенной заклепкой.ⓘ Толщина пластины 1 заклепочного соединения [t 1 ] | AlnAngstromArpentАстрономическая единица Аттометр AU длиныЯчменьМиллиард световых летБор РадиусКабель (Международный)Кабель (Великобритания)Кабель (США)КалибрСантиметрЦепьКубит (Греческий)Кубит (Длинный)Кубит (Великобритания)ДекаметрДециметр РадиусКлассРасстояние Земли от ЛуныЗемля Экваториальное расстояние от СолнцаЗемля Экваториальное EllExameterFamnFathomFemtometerFermiFinger (Cloth)FingerbreadthFootFoot (US Survey)FurlongGigameterHandHandbreadthHectometerInchKenKilometerKiloparsecKiloyardLeagueLeague (Statute)Light YearLinkMegameterMegaparsecMeterMicroinchMicrometerMicronMilMileMile (Roman)Mile (US Survey)MillimeterMillion Light YearNail (Cloth)NanometerNautical League (int)Nautical League UKNautical Mile (Interna морской мили (Великобритания)ПарсекОкуньПетаметрПикаПикометрПланк ДлинаТочкаПолюсКварталТростник (Длинный)РодРоман АктусВеревкаРусский АрчинПротяженность (Ткань)Солнце РадиусТераметрТвипВара КастелланаВара КонукераВара Де ТареаЯрдЙоктометрЙоттаметрЗептометрЗеттаметр | +10% -10% | |
✖Толщина пластины 2 заклепочного соединения определяется как толщина второй пластины, соединенной заклепкой. | AlnAngstromArpentAstronomical UnitAttometerAU of LengthBarleycornBillion Light YearBohr RadiusCable (International)Cable (UK)Cable (US)CaliberCentimeterChainCubit (Greek)Cubit (Long)Cubit (UK)DecameterDecimeterEarth Distance from MoonEarth Distance from SunEarth Equatorial RadiusEarth Polar RadiusElectron Radius (Classical)EllExameterFamnFathomFemtometerFermiFinger (Cloth)FingerbreadthFootFoot (US Survey)FurlongGigameterHandHandbreadthHectometerInchKenKilometerKiloparsecKiloyardLeagueLeague (Statute)Light YearLinkMegameterMegaparsecMeterMicroinchMicrometerMicronMilMileMile (Roman)Mile (US Survey)MillimeterMillion Light YearNail (Cloth)NanometerNautical League (int)Nautical League UKNautical M ile (International)Nautical Mile (UK)ParsecPerchPetameterPicaPicometerPlanck LengthPointPoleQuarterReedReed (Long)RodRoman ActusRopeRussian ArchinSpan (ткань)Sun RadiusTerameterTwipVara CastellanaVara ConuqueraVara De TareaYardYoctometerYottameterZeptometerZettameter | +10% -10% | |
✖Длина стержня для закрывающей головки определяется как длина стержня заклепки, необходимая для формирования надлежащей головки цеха. | AlnAngstromArpentАстрономическая единица Аттометр AU длиныЯчменьМиллиард световых летБор РадиусКабель (международный)Кабель (Великобритания)Кабель (США)КалибрСантиметрЦепь РадКубит (Гриус)Кубит (Длинный)Кубит (Великобритания)ДекаметрДециметрПолярная Земля Расстояние от СолнцаЗемля (Classical)EllExameterFamnFathomFemtometerFermiFinger (Cloth)FingerbreadthFootFoot (US Survey)FurlongGigameterHandHandbreadthHectometerInchKenKilometerKiloparsecKiloyardLeagueLeague (Statute)Light YearLinkMegameterMegaparsecMeterMicroinchMicrometerMicronMilMileMile (Roman)Mile (US Survey)MillimeterMillion Light YearNail (Cloth)NanometerNautical League (int)Nautical League UKNautical Mile (Inter национальный)Морская миля (Великобритания)ПарсекОкуньПетаметрПикаПикометрПланк ДлинаТочкаПолюсКварталТростник (Длинный)РодРоман АктусВеревкаРусский АрчинПротяженность (Ткань)Солнце РадиусТераметрТвипВара КастелланаВара КонукераВара Де ТареаЯрдЙоктометрЙоттаметрЗептометрЗеттаметр | +10% -10% |
✖Длина стержня заклепки определяется как общая длина стержня заклепки, равная длине захвата плюс количество стержня заклепки, необходимое для формирования надлежащей головки магазина. | AlnAngstromArpentAstronomical UnitAttometerAU of LengthBarleycornBillion Light YearBohr RadiusCable (International)Cable (UK)Cable (US)CaliberCentimeterChainCubit (Greek)Cubit (Long)Cubit (UK)DecameterDecimeterEarth Distance from MoonEarth Distance from SunEarth Equatorial RadiusEarth Polar RadiusElectron Radius (Classical)EllExameterFamnFathomFemtometerFermiFinger (Cloth)FingerbreadthFootFoot (US Survey)FurlongGigameterHandHandbreadthHectometerInchKenKilometerKiloparsecKiloyardLeagueLeague (Statute)Light YearLinkMegameterMegaparsecMeterMicroinchMicrometerMicronMilMileMile (Roman)Mile (US Survey)MillimeterMillion Light YearNail (Cloth)NanometerNautical League (int)Nautical League UKNautical Mile (International)Nautical Mile (UK)ParsecPerchPetameterPicaPicometerPlanck LengthPointPoleQuarterReedReed (Long)RodRoman ActusRopeRussian ArchinSpan ( Ткань)Sun RadiusTerameterTwipVara CastellanaVara ConuqueraVara De TareaYardYoctometerYottameterZeptometerZettameter | ⎘ Копировать |
👎
Формула
Перезагрузить
👍
Длина решения хвостовика заклепки
ШАГ 0: Сводка предварительного расчета
ШАГ 1: Преобразование входных данных в базовую единицу
Толщина пластины 1 заклепочного соединения: 10,5 миллиметра —> 0,0105 метра (проверьте преобразование здесь)
Толщина пластины 2 Заклепочное соединение: 12,5 миллиметра —> 0,0125 метра (проверьте преобразование здесь)
Длина хвостовика для закрывающей головки: 15 миллиметров —> 0,015 метра (проверьте преобразование здесь)
ШАГ 2: Оцените формулу
ШАГ 3: Преобразуйте Результат для модуля вывода
0,038 метр —> 38 миллиметр (проверьте преобразование здесь)
< Калькуляторы 10+ заклепочных соединений
Формула длины хвостовика заклепки
Длина стержня заклепки = (толщина пластины 1 заклепочного соединения + толщина пластины 2 заклепочного соединения) + длина части стержня для закрывающей головки
l = (t 1 +t 2 )+а
Дайте определение заклепке?
Заклепка определяется как металлический штифт или болт с головкой, используемый для соединения двух или более деталей путем пропускания стержня через отверстие в каждой детали, а затем забивания или прижимания гладкого конца, чтобы образовалась вторая головка.
Как рассчитать длину стержня заклепки?
Калькулятор длины хвостовика заклепки использует Длина стержня заклепки = (Толщина пластины 1 заклепочного соединения + толщина пластины 2 заклепочного соединения) + длина части стержня для замыкающей головки для расчета длины стержня заклепки. Формула длины стержня заклепки определяется как суммирование длины пластин между заклепками и длины стержневой части, необходимой для закрытия головки. Длина стержня заклепки обозначена символом l .
Как рассчитать длину стержня заклепки с помощью этого онлайн-калькулятора? Чтобы использовать этот онлайн-калькулятор для длины стержня заклепки, введите толщину пластины 1 заклепочного соединения 9.0123 (t 1 ) , Толщина пластины 2 заклепочного соединения (t 2 ) и Длина части хвостовика для закрывающей головки (a) и нажмите кнопку расчета. Вот как можно объяснить расчет длины стержня заклепки с заданными входными значениями -> 38 = (0,0105+0,0125)+0,015 .
Часто задаваемые вопросы
Что такое длина стержня заклепки?
Формула длины стержня заклепки определяется как сумма длины пластин между заклепкой и длины части стержня, необходимой для закрывания головки, и представлена как l = (t 1 +t 2 )+a или Длина стержня заклепки = (толщина пластины 1 заклепочного соединения+толщина пластины 2 заклепочного соединения)+длина хвостовика для закрывающей головки . Толщина пластины 1 заклепочного соединения определяется как толщина первой пластины, соединенной заклепкой, толщина пластины 2 заклепочного соединения определяется как толщина второй пластины, соединенной заклепкой, и длина хвостовика. для закрывающей головки определяется как длина стержня заклепки, необходимая для формирования надлежащей головки цеха.
Как рассчитать длину стержня заклепки?
Формула длины стержня заклепки определяется как сумма длины пластин между заклепками и длины части стержня, необходимой для закрытия головки, рассчитывается по формуле Длина стержня заклепки = (толщина пластины 1 заклепочного соединения +Толщина пластины 2 заклепочного соединения)+Длина хвостовика для закрывающей головки .
Для расчета длины стержня заклепки вам потребуется толщина пластины 1 заклепочного соединения 9.0123 (t 1 ) , толщина пластины 2 заклепочного соединения (t 2 ) и длина части хвостовика для закрывающей головки (a) . С помощью нашего инструмента вам необходимо ввести соответствующие значения для толщины пластины 1 заклепочного соединения, толщины пластины 2 заклепочного соединения и длины хвостовика для закрывающей головки и нажать кнопку расчета. Вы также можете выбрать единицы измерения (если есть) для ввода (ов) и вывода.
Доля
Скопировано!
Калькулятор диаметра заклепки | Рассчитать диаметр заклепки
✖Толщина пластины — это состояние или качество толщины. Мера наименьшего размера твердой фигуры: доска толщиной два дюйма.ⓘ Толщина пластины [t пластина ] | AlnAngstromArpentАстрономическая единицаAttometerAU длиныЯчменьМиллиард световых летBohr RadiusCable (International)Cable (UK)Cable ( US)CaliberCentimeterChainCubit (Greek)Cubit (Long)Cubit (UK)DecameterDecimeterEarth Distance from MoonEarth Distance from SunEarth Equatorial RadiusEarth Polar RadiusElectron Radius (Classical)EllExameterFamnFathomFemtometerFermiFinger (Cloth)FingerbreadthFootFoot (US Survey)FurlongGigameterHandHandbreadthHectometerInchKenKilometerKiloparsecKiloyardLeagueLeague (Statute)Light YearLinkMegameterMegaparsecMeterMicroinchMicrometerMicronMilMileMile (Roman)Mile (US Опрос)МиллиметрМиллион Светового ГодаГвоздь (Ткань)НанометрМорская Лига (int)Морская Лига ВеликобританииМорская Миля (Международная)Морская Миля (Великобритания)ПарсекОкуньПетаметрПикаПикометрПланка ДлинаТочкаПолюсКварталТростник(Длинный)РодРоман ActusВеревкаRu ssian ArchinSpan (Ткань)Sun RadiusTerameterTwipVara CastellanaVara ConuqueraVara De TareaYardYoctometerYottameterZeptometerZettameter | +10% -10% |
✖Диаметр заклепки предлагается от 1/16 дюйма (1,6 мм) до 3/8 дюйма (9,5 мм) в диаметре (другие размеры считаются особыми) и может быть до 8 дюймов (203 мм) в длину. | AlnAngstromArpentAstronomical UnitAttometerAU of LengthBarleycornBillion Light YearBohr RadiusCable (International)Cable (UK)Cable (US)CaliberCentimeterChainCubit (Greek)Cubit (Long)Cubit (UK)DecameterDecimeterEarth Distance from MoonEarth Distance from SunEarth Equatorial RadiusEarth Polar RadiusElectron Radius (Classical)EllExameterFamnFathomFemtometerFermiFinger (Cloth)FingerbreadthFootFoot (US Survey)FurlongGigameterHandHandbreadthHectometerInchKenKilometerKiloparsecKiloyardLeagueLeague (Statute)Light YearLinkMegameterMegaparsecMeterMicroinchMicrometerMicronMilMileMile (Roman)Mile (US Survey)MillimeterMillion Light YearNail (Cloth)NanometerNautical League (int)Nautical League UKNautical Mile (International)Nautical Mile (UK)ParsecPerchPetameterPicaPicometerPlanck LengthPointPoleQuarterReedReed (Long)RodRoman ActusRopeRussian ArchinSpan ( Ткань)Sun RadiusTerameterTwipVara CastellanaVara ConuqueraVara De TareaYardYoctometerYottameterZeptometerZettameter | ⎘ Копировать |
👎
Формула
Перезагрузить
👍
Диаметр заклепки Решение
ШАГ 0: Итоги предварительного расчета
ШАГ 1: Преобразование входных данных в базовые единицы
Толщина листа: 12 миллиметров —> 0,012 метра (проверьте преобразование здесь)
ШАГ 2: Оценка формулы
ШАГ 3: Преобразование результата в единицу измерения
0,65726706
Сегодня этот старейший вид крепежа изготавливается из современных материалов, поэтому не утратил своей популярности и даже расширил сферу применения.
Длина выпускаемых заклепок под молоток варьируется в пределах от 2 – 180 мм и подбирается исходя из толщины пакета скрепляемых материалов. Сначала необходимо определить длину выступающей части стержня (припуска). Для варианта с полукруглой головкой величина припуска равняется 1.2…1.5d, а для варианта с головкой потаем – 0.8…1.2d, где d – диаметр стержня. Исходя из полученного значения припуска, несложно рассчитать полную длину стержня, прибавив к нему толщину склепываемых материалов – S.
Такие заклёпки имеют с одной стороны закладную головку. Вторая головка, называемая замыкающей, формируется с помощью вальцовочного или клепального инструмента: клепальный молоток, клещи.
Маркировка может быть выпуклой или вогнутой (клеймение).
Здравый смысл подсказывает, что такой подход ошибочный — поэтому воспользуемся формулами из другого источника: «Основы конструирования» под редакцией Орлова П.И., 1988 года.
15кп, Ст.15


ⓘ Толщина пластины 2 заклепочного соединения. [t 2 ]
[a]
ⓘ Длина стержня заклепки [l]
ⓘ Диаметр заклепки [заклепка D ]
Заклепки со сплошным стержнем обычно используются в ремонтных работах.
Толщина пластины — это состояние или качество толщины. Мера наименьшего размера твердой фигуры: доска двухдюймовой толщины.
Длина цельной заклепки = толщина соединения + материал, необходимый для полной головки.
.
Учитывайте допуск по толщине рассматриваемого соединения.
4: Размерная таблица со ссылками на переменные, показанные на рис. 2. Взято из листа военных спецификаций MS20426L. Заклепка, сплошная, с потайной головкой 100 градусов, прецизионная головка, сплав алюминия и титана Колумбия (для справки).