16К20 кинематическая схема: 16К20 токарный станок | Технические характеристики, кинематическая схема, органы управления
ТОКАРНО ВИНТОРЕЗНЫЙ СТАНОК 16 К 20 Кинематическая схема
ТОКАРНО ВИНТОРЕЗНЫЙ СТАНОК 16 К 20 Кинематическая схема, коробка скоростей, уравнение кинематического баланса
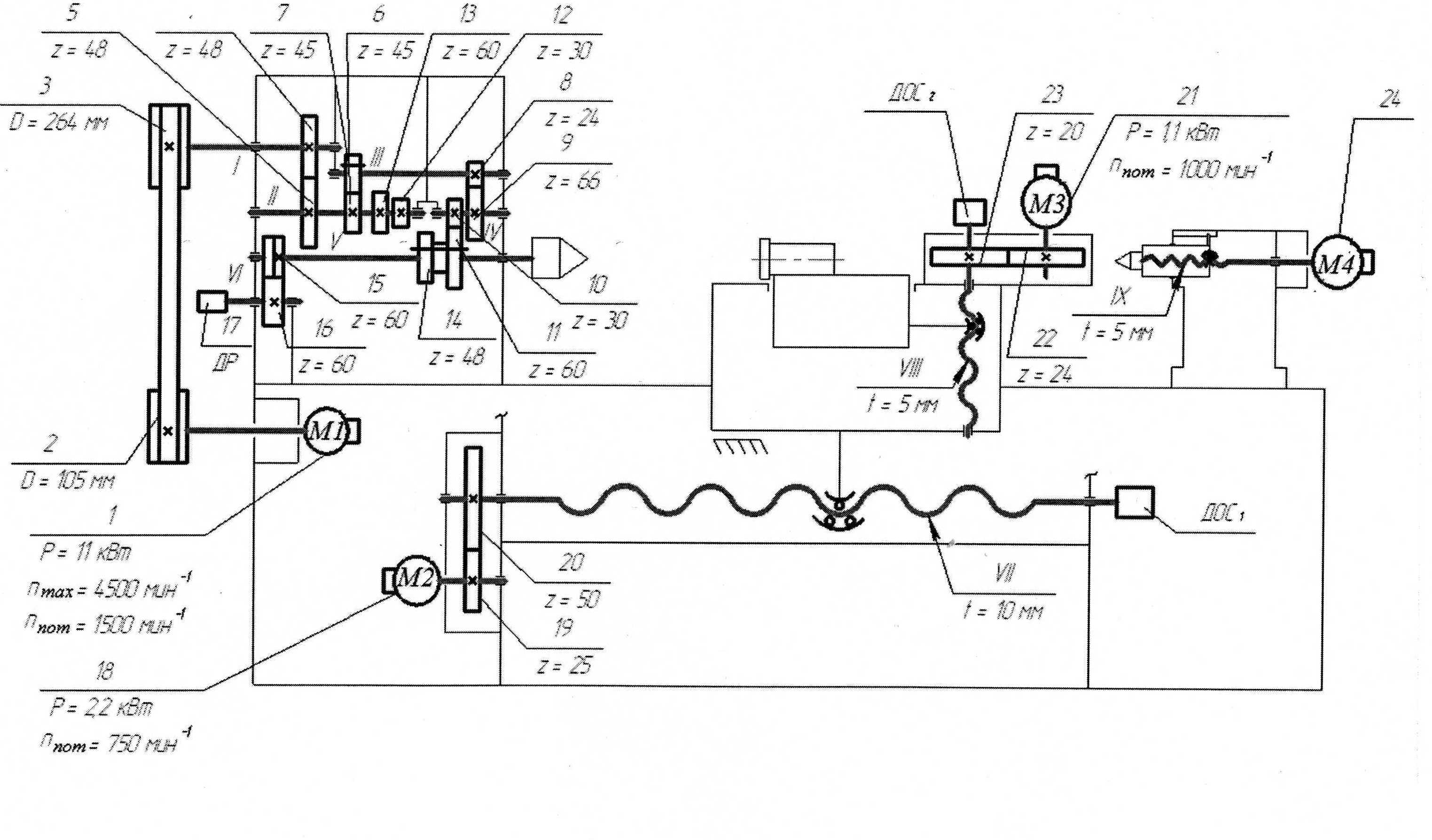
Станок токарно-винторезный 16 К 20 Предназначен для выполнения различных токарных работ, а также для получения резьбы. Станок универсальный, используется в условиях мелкосерийного и серийного производства. Основные узлы станка. Станина 1 — несущая деталь, на которой неподвижно смонтирована передняя бабка 2. По горизонтальным направляющим станины перемещаются суппорт 5 с резце держателем и задняя бабка 3. На станине крепится фартук 4, предназначенный для преобразования вращательного движения ходового вала и ходового винта в поступательное движение суппорта. В передней бабке 2 расположена коробка скоростей, в станине 1 — коробка подач.
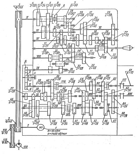
Кинематическая схема станка 16 К 20
Кинематика станка. Главное движение.
Кинематическая цепь главного движения: Электродвигатель M 1; клиноременная передача со шкивами диаметром 140 и 268 мм; коробка скоростей. На I валу коробки скоростей установлена двухсторонняя фрикционная муфта М 1, обеспечивающая прямое и обратное вращение шпинделя. При включении муфты М 1 влево прямое вращение при включении вправо обратное (реверсивное). Специальный блокировочный механизм исключает включение муфты случайно.
Прямое вращение При включении муфты М 1 влево блок зубчатых колес z = 56/51 входит в зацепление и с вала I на вал II передается вращение через две пары зубчатых колес блока Б 1: z = 56/34 или z = 51/39, вал II получает 2 частоты вращения. Вращение с вала II на вал III передается через блок Б 2, который может занимать три положения: z = 21/55 или z = 29/47 или z = 38/38. Вал Ш получает шесть частот вращения. Число ступеней частот вращения шпинделя равно произведению числа передач в каждой группе: n=2*3=6 С вала III на шпиндель VI вращение передается двумя способами.
1. Через зубчатые пары и блок Б 4, когда он находится в левом положении, z = 60/48 или z = 30/60, затем на вал VI получает 12 частот вращения. 2. Через промежуточный вал, когда в зацепление входит блок БЗ, и движение передается вначале на вал IV: z = 45/45 или z = 15/60, затем на вал V: z = 18/72 и на шпиндель VI: z = 30/60, вал VI получает еще 12 частот вращения. Всего шпиндель получает n=12+12=24 частоты вращения.
Уравнения кинематического баланса По первому способу передачи вращения с вала III на шпиндель IV n. ШП = nдв *(D 1 / D 2)*(56/34)*(51/39)*(21/55)*(29/47)*(38/38)*(60/48)*(30/60) По первому способу передачи вращения с вала III на шпиндель IV n. ШП = nдв *(D 1 / D 2)* *(56/34)*(51/39)*(21/55)*(29/47)*(38/38)*(45/45)*(15/60)*(18/72)*(30/60)
Обратное (реверсивное) вращение Если мы хотим получить обратное вращение шпинделя, то включаем фрикционную муфту вправо. Движение с вала I на вал II передается через дополнительный вал: z = 50/24 и z = 36/38.
n. ШП = nдв *(D 1 / D 2)*(50/24)*(36/38)*… Уравнение кинематического баланса для минимальной частоты вращения шпинделя: n. ШП = 1450*(148/268)*0, 985*(51/39)*(21/55)*(15/60)*(18/72)*(30/60)=12, 5 об/мин.
Конец
Кинематические цепи токарно-винторезного станка модели 16К20 — Мегаобучалка
При анализе кинематических цепей токарно-винторезного станка модели 16К20 необходимо использовать приложение 3.
Привод главного движения
Главным движением является вращение шпинделя с заготовкой. Ведущее звено – вал электродвигателя, ведомое звено – шпиндель.
Вращение шпинделю передается от электродвигателя (N=10кВт, n=1460 об/мин) через клиноременную передачу 148/268, коробку скоростей (рисунок 5.3). Расположение в коробке скоростей муфты М1 служит для включения и изменения направления вращения шпинделя.
Существует две возможности передачи движения на шпиндель.
Это цепь без перебора и с перебором.
Рисунок 5.3. Кинематическая схема токарно-винторезного станка мод. 16К20
Главное движение (без перебора)
nшп=1460 ∙ ∙ (или ) ∙ (или или ) ∙ (или )
Главное движение(с перебором)
nшп=1460 ∙ ∙ (или ) ∙ (или или )∙ (или ) ∙
Обратное вращение шпинделя (муфта включается вправо):nшп= ∙ и далее по вышеприведенным цепям.
Привод подач
Привод подач обеспечивает нарезание резьб и механические (продольные и поперечные) подачи. Ведущее звено – шпиндель. Ведомые звенья:
— при нарезании резьб – ходовой винт;
— для продольной подачи – реечное колесо;
— для поперечной подачи – ходовой винт поперечной подачи.
Привод подачи состоит из звена увеличения шага, механизма реверса, гитары сменных колес, коробки подач, множительного механизма, распределительного механизма и механизма передач фартука.
От шпинделя движение может непосредственно передаваться через зубчатую пару или через звено увеличения шага, которое расположено в коробке скоростей и имеет три передаточных отношения(числа):
U’1= ∙ =2;
U’2= ∙ ∙ =8;
U’3= ∙ ∙ =32;
Для изменения направления вращения ходового винта служит реверсивный механизм: правое вращение винта получается при передаче вращения с вала V на вал Х через пару зубчатых колес , а левое – через передачу .
Гитара сменных колес имеет две комбинации сменных колес. Для получения механической подачи и нарезания метрических и дюймовых резьб устанавливается отношение:
=
Для получения модульных и питчевых резьб устанавливается отношение:
= .
Коробка подач имеет две основные цепи. Первая цепь предназначена для нарезания метрических и модульных резьб и для получения механической(продольной и поперечной) подачи. В этом случае муфты М2 и М3 выключены, а муфта М4 включена.
∙ (или или ; или )→М4→ (или )∙ (или )→XVII.
Вторая цепь служит для нарезания дюймовых и питчевых резьб. В этом случае включаются муфты М2 и М4 и выключается муфта М3:
∙ ∙ (или или или )→М3→ ∙ (или ) (или )→XVI.
Блоки зубчатых колес 45-35, Б8 и Б9 называются множительным механизмом.
Множительный механизм обеспечивает получение четырех различных передающих отношений(чисел):
U’1= ∙ =1;
U’2= ∙ = ;
U’3= ∙ = ;
U’4= ∙ = .
При нарезании резьб движение с вала XVII передается далее через гайку М5 на ходовой винт XXI с шагом t=12мм.
Движение на ходовой винт может быть передано от гитары сменных колес на ходовой винт путем блокировки коробки подач(включаем муфты М2 и М3). Это проводится в случае нарезания нестандартных резьб и резьб повышенной точности.
Необходимый шаг резьбы устанавливается подбором зубчатых колес гитары сменных колес.
При получении продольной или поперечной подач движение с вала XVII передается на ходовой валик через обгонную муфту М8(муфта М5 отключена). В этом случае, ходовой валик XXII получает движение через зубчатые передачи 23/40; 24/39; 28/35.
Механизм фартука. Передача движения осуществляется следующим образом: — продольная подача – прямая:
∙ ∙ ∙ (Mп) ∙ ∙ ∙ ∙ (М7) ∙ ∙π∙3∙10;
— реверсивная:
∙ ∙ ∙ (Mп) ∙ ∙ ∙ (М8) ∙ ∙π∙3∙10;
— поперечная подача – прямая:
∙ ∙ ∙ (Mп) ∙ ∙ ∙ (М8) ∙ ∙ ∙ ∙5;
-реверсивная:
∙ ∙ ∙ (Mп) ∙ ∙ ∙ ∙ (М10) ∙ ∙ ∙ ∙5;
На станке может быть установлен суппорт с механическим приводом поперечных салазок:
∙ ∙ ∙ ∙ ∙ ∙ ∙ ∙5
Варианты заданий
Вариант 1
1.
Написать формулу кинематических связей цепи скоростей при прямом вращении шпинделя. Определить число ступеней частот вращения шпинделя.
2. Записать уравнение кинематического баланса, определяющее максимальное значение продольной подачи при точении. Определить цепь, определяющую максимальную величину продольной подачи.
3. Провести настройку коробки скоростей для получения скорости резания V=70м/мин, при диаметре обрабатываемой заготовки d=50 мм(см. Приложение 3)
Вариант 2
1. Написать формулу кинематических связей скоростей при прямом вращении шпинделя. Определить диапазон регулирования частоты вращения шпинделя Др (9).
2. Написать уравнение кинематического баланса, определяющее максимальное значение поперечной подачи при точении. Определить цепь, обеспечивающую величину максимальной подачи при поперечном точении.
3. Произвести настройку коробки скоростей для получения скорости резания V= 40м/мин, при диаметре заготовки d=120мм(см.
Приложение 3).
Вариант 3
1. Записать формулу кинематических связей цепи скоростей при обратном вращении шпинделя. Определить число ступеней частот вращения шпинделя для указанной цепи.
2. Написать уравнение кинематического баланса, определяющее минимальный шаг нарезаемой метрической резьбы. Определить цепь, обеспечивающую минимальную величину шага нарезаемой метрической резьбы.
3. Произвести настройку коробки скоростей для получения скорости резания V=100м/мин при диаметре заготовки d=60мм. (Приложение 3)
Вариант 4
1. Записать формулу кинематических связей цепи скоростей при прямом вращении шпинделя. Определить ее структурную формулу и число ступеней частот вращение шпинделя.
2. Записать уравнение кинематического баланса, определяющее минимальное значение продольной подачи при точении. Определить цепь, обеспечивающую получение минимальной величины продольной подачи.
3. Произвести настройку коробки скоростей для получения скорости резания V=80м/мин и диаметром обрабатываемой заготовки d=100мм.
(Приложение 3)
Вариант 5
1. Записать уравнение кинематического баланса цепи скоростей при обратном вращении шпинделя. Определить структурную формулу и число ступеней частот вращения шпинделя.
2. Написать уравнение кинематического баланса, определяющее минимальное значение поперечной подачи при точении. Определить цепь, обеспечивающую минимальную величину подачи при поперечном точении.
3. Настроить коробку скоростей для получения скорости резания V=20м/мин при диаметре заготовки d=90 мм. (Приложение 3)
4.
Вариант 6
1. Записать уравнение кинематического баланса цепи скоростей при прямом вращении шпинделя. Определить цепь, обеспечивающую максимальную частоту вращения шпинделя и диапазон регулирования частот вращения шпинделя.(9).
2. Написать уравнение кинематического баланса, определяющее максимальный шаг нарезаемой метрической резьбы. Определить цепь, обеспечивающую максимальный шаг нарезаемой метрической резьбы.
3. Произвести настройку коробки скоростей для получения скорости резания V=125м/мин при диаметре заготовки d=70 мм.
Вариант 7
1. Записать уравнение кинематического баланса цепи скоростей при прямом вращении шпинделя. Определить цепь, обеспечивающую минимальную частоту вращения шпинделя и диапазон регулирования частот вращения шпинделя.
2. Написать уравнение кинематического баланса, определяющее максимальное значение шага нарезаемой модульной резьбы. Определить цепь, обеспечивающую величину максимального значения шага модульной резьбы.
3. Произвести настройку коробки скоростей для получения скорости резания V=30м/мин при диаметре заготовки d=200 мм.
Вариант 8
1. Записать уравнение кинематического баланса цепи скоростей при обратном вращении шпинделя. Определить цепь, обеспечивающую минимальное значение величины обратной частоты вращения шпинделя и число частот вращения.
2. Написать уравнение кинематического баланса, определяющее минимальное значение шага нарезаемой дюймовой резьбы.
Определить цепь, обеспечивающую величину минимального значения шага дюймовой резьбы.
3. Произвести настройку коробки скоростей для получения скорости резания V=160м/мин при диаметре заготовки d=55 мм.
Вариант 9
1. Записать формулу кинематических связей при прямом вращении шпинделя. Настроить минимальную частоту вращения шпинделя и определить число ступеней частот вращения шпинделя.
2. Написать уравнение кинематического баланса, определяющее минимальное значение шага нарезаемой модульной резьбы. Настроить минимальное значения шага нарезаемой модульной резьбы.
3. Произвести настройку коробки скоростей для получения скорости резания V=50м/мин при диаметре заготовки d=40 мм.
Вариант 10
1. Записать формулу кинематических связей при прямом вращении шпинделя. Определить число ступеней частот вращения шпинделя.
2. Написать уравнение кинематического баланса, определяющее максимальное значение продольной подачи при точении.
Настроить коробку подач на максимальное значение продольной подачи.
3. Произвести настройку коробки скоростей для получения скорости резания V=28м/мин при диаметре заготовки d=30 мм.
Вариант 11
1. Записать формулу кинематических связей цепи скоростей при прямом вращении шпинделя. Определить диапазон регулирования частот вращения шпинделя.(Др)
2. Написать уравнение кинематического баланса, определяющее максимальное значение поперечной подачи при точении. Настроить коробку подач на максимальное значение поперечной подачи.
3. Произвести настройку коробки скоростей для получения скорости резания V=120м/мин при диаметре заготовки d=60 мм.
Вариант 12
1. Записать формулу кинематических связей цепи скоростей при обратном вращении шпинделя. Определить число ступеней частот вращения шпинделя.
2. Написать уравнение кинематического баланса, определяющее минимальный шаг нарезаемой метрической резьбы. Настроить коробку подач на минимальный шаг нарезаемой метрической резьбы.
3. Произвести настройку коробки скоростей для получения скорости резания V=75м/мин при диаметре заготовки d=48 мм.
Вариант 13
1. Записать формулу кинематических связей цепи скоростей при прямом вращении шпинделя. Определить число ступеней частот вращения шпинделя.
2. Написать уравнение кинематического баланса, определяющее минимальное значение продольной подачи при точении. Настроить коробку подач на минимальное значение продольной подачи.
3. Произвести настройку коробки скоростей для получения скорости резания V=45м/мин при диаметре заготовки d=90 мм.
Вариант 14
1. Записать формулу кинематических связей цепи скоростей при обратном вращении шпинделя. Определить число ступеней частот вращения шпинделя.
2. Написать уравнение кинематического баланса, определяющее минимальное значение поперечной подачи при точении. Настроить цепь подач с минимальной поперечной подачей.
3. Произвести настройку коробки скоростей для получения скорости резания V=60м/мин при диаметре заготовки d=25 мм.
Вариант 15
1. Записать уравнение кинематического баланса цепи скоростей при прямом вращении шпинделя. Записать кинематическую цепь, обеспечивающую минимальную частоту вращения шпинделя при прямом вращении шпинделя. Определить минимальную частоту вращения шпинделя и диапазон регулирования частот вращения шпинделя.
2. Написать уравнение кинематического баланса, определяющее максимальный шаг нарезаемой метрической резьбы. Настроить цеп подач на максимальный шаг метрической резьбы.
3. Произвести настройку коробки скоростей для получения скорости резания V=55м/мин при диаметре заготовки d=85 мм.
Вариант 16
1. Записать уравнение кинематического баланса цепи скоростей при обратном вращении шпинделя. Настроить цепь скоростей на максимальную частоту вращения шпинделя. Определить диапазон регулирования частот вращения шпинделя.
2. Написать уравнение кинематического баланса, определяющее максимальное значение шага нарезаемой модульной резьбы.
Настроить резьбонарезную цепь на максимальное значение шага нарезания модульной резьбы.
3. Произвести настройку коробки скоростей для получения скорости резания V=150м/мин при диаметре заготовки d=58 мм.
Вариант 17
1. Записать уравнение кинематического баланса цепи скоростей при обратном вращении шпинделя. Настроить коробку скоростей на максимальную частоту вращения шпинделя, а также определить число ступеней вращения шпинделя.
2. Написать уравнение кинематического баланса, определяющее максимальное значение шага нарезаемой дюймовой резьбы. Настроить резьбонарезную цепь на максимальное значение шага нарезания дюймовой резьбы.
3. Произвести настройку коробки скоростей для получения скорости резания V=105м/мин при диаметре заготовки d=56 мм.
Вариант 18
1. Записать уравнение кинематических связей цепи скоростей при прямом вращении шпинделя. Настроить цепь скоростей на максимальную частоту вращения шпинделя.
Определить число ступеней вращения шпинделя.
2. Написать уравнение кинематического баланса, определяющее максимальное значение шага нарезаемой модульной резьбы.
3. Произвести настройку коробки скоростей для получения скорости резания V=90м/мин при диаметре заготовки d=120 мм.
Вариант 19
1. Записать уравнение кинематических связей цепи скоростей при прямом вращении шпинделя. Настроить цепь скоростей на максимальную частоту вращения шпинделя. Определить число ступеней вращения шпинделя.
2. Написать уравнение кинематического баланса, определяющее максимальное значение шага нарезаемой питчевой резьбы.
3. Произвести настройку коробки скоростей для получения скорости резания V=65м/мин при диаметре заготовки d=80 мм.
Вариант 20
1. Записать уравнение кинематических связей в цепи скоростей при прямом вращении шпинделя. Настроить цепь скоростей на максимальную частоту вращения шпинделя. Определить число ступеней вращения шпинделя.
2. Написать уравнение кинематического баланса, определяющее максимальное значение продольной подачи при точении. Настроить цепь продольной подачи на максимальное значение величины продольной подачи.
3. Произвести настройку коробки скоростей для получения скорости резания V=45м/мин при диаметре заготовки d=68 мм.
Вариант 21
1. Записать уравнение кинематических связей цепи скоростей при прямом вращении шпинделя. Настроить цепь скоростей на минимальную частоту вращения шпинделя. Определить диапазон регулирования частот вращения шпинделя.(Др)
2. Написать уравнение кинематического баланса, определяющее максимальное значение поперечной подачи при точении. Настроить цепь поперечной подачи на максимальное значение величины поперечной подачи.
3. Произвести настройку коробки скоростей для получения скорости резания V=95м/мин при диаметре заготовки d=75 мм.
Вариант 22
1. Записать уравнение кинематических связей в цепи скоростей при обратном вращении шпинделя.
Настроить цепь скоростей на минимальную частоту вращения шпинделя. Определить число ступеней вращения шпинделя.
2. Написать уравнение кинематического баланса, определяющее минимальное значение шага нарезаемой метрической резьбы.
3. Произвести настройку коробки скоростей для получения скорости резания V=125м/мин при диаметре заготовки d=55 мм.
Вариант 23
1. Записать уравнение кинематического баланса цепи скоростей при прямом вращении шпинделя. Определить число ступеней вращения шпинделя.
2. Написать уравнение кинематического баланса, определяющее минимальное значение продольной подачи при точении. Настроить цепь продольной подачи на минимальное значение величины продольной подачи.
3. Произвести настройку коробки скоростей для получения скорости резания V=142м/мин при диаметре заготовки d=38 мм.
Вариант 24
1. Записать уравнение кинематического баланса цепи скоростей при обратном вращении шпинделя.
Определить число ступеней вращения шпинделя.
2. Написать уравнение кинематического баланса, определяющее минимальное значение поперечной подачи при точении. Настроить цепь поперечной подачи на минимальное значение величины поперечной подачи.
3. Произвести настройку коробки скоростей для получения скорости резания V=115м/мин при диаметре заготовки d=35 мм.
Вариант 25
1. Записать уравнение кинематического баланса цепи скоростей при прямом вращении шпинделя. Настроить цепь главного движения на максимальную частоту вращения шпинделя. Определить диапазон регулирования частот вращения шпинделя.
2. Написать уравнение кинематического баланса, определяющее максимальный шаг метрический резьбы. Настроить резьбонарезную цепь на максимальную величину шага нарезаемой метрической резьбы.
3. Произвести настройку коробки скоростей для получения скорости резания V=115м/мин при диаметре заготовки d=35 мм.
Вариант 26
1.
Записать уравнение кинематического баланса цепи скоростей при прямом вращении шпинделя. Настроить коробку скоростей на максимальную частоту вращения шпинделя. Определить диапазон регулирования частот вращения шпинделя.
2. Написать уравнение кинематического баланса, определяющее максимальное значение шага нарезаемой метрической резьбы.
3. Произвести настройку коробки скоростей для получения скорости резания V=200м/мин при диаметре заготовки d=40 мм.
Вариант 27
1. Записать уравнение кинематического баланса цепи скоростей при обратном вращении шпинделя. Настроить коробку скоростей на минимальную частоту вращения шпинделя.
2. Написать уравнение кинематического баланса, определяющее максимальное значение шага нарезаемой дюймовой резьбы. Настроить резьбонарезную цепь на максимальную величину шага нарезаемой дюймовой резьбы.
3. Произвести настройку коробки скоростей для получения скорости резания V=200м/мин при диаметре заготовки d=40 мм.
Вариант 28
1. Записать уравнение кинематического баланса цепи скоростей при прямом вращении шпинделя. Настроить цепь скоростей на минимальную частоту вращения шпинделя. Определить число ступеней частот вращения шпинделя.
2. Написать уравнение кинематического баланса, определяющее минимальное значение шага нарезаемой питчевой резьбы. Настроить резьбонарезную цепь на нарезание питчевой резьбы минимального шага.
3. Произвести настройку коробки скоростей для получения скорости резания V=110м/мин при диаметре заготовки d=120 мм.
Вариант 29
1. Записать уравнение кинематических связей цепи скоростей при прямом вращении шпинделя. Настроить цепь главного движения на минимальное значение частоты вращения шпинделя. Определить число ступеней частот вращения шпинделя.
2. Написать уравнение кинематического баланса, определяющее минимальное значение шага нарезаемой модульной резьбы.
3. Произвести настройку коробки скоростей для получения скорости резания V=60м/мин при диаметре заготовки d=45 мм.