Крючок для вязки арматуры своими руками чертежи: устройство и чертежи вязального крючка
Содержание
разновидности, способы изготовления и использование
Содержание:
- 1 Для чего производится вязка крючком арматуры
- 2 Вязальные крючки для арматуры – разновидности инструмента
- 3 Стандартный крючок для вязания арматуры
- 4 Автоматический крюк для вязки арматуры
- 5 Профессиональный крючок для арматуры – используем пистолет
- 6 Изготавливаем приспособление для вязки арматуры своими руками
- 7 Как вязать арматуру крючком – технология фиксации
- 8 Вязание арматуры крючком одной петлей
- 9 Заключение
Строительные мероприятия неразрывно связаны с выполнением арматурных работ. Усиленные арматурным каркасом фундаменты и перекрытия обеспечивают надежность и длительный срок эксплуатации зданий. Железобетон обладает повышенным запасом прочности, способен противостоять значительным нагрузкам и сохраняет целостность на протяжении десятилетий. Для изготовления надежного пространственного каркаса крючок вязки для арматуры является незаменимым инструментом.
Несложно изготовить крючок для вязки арматуры своими руками или использовать покупное приспособление.
Для чего производится вязка крючком арматуры
При небольшом объеме работы по бетонированию стальные прутки укладывают в опалубочный каркас, который заполняют бетонной смесью. Однако при усилении крупных фундаментных конструкций сооружается пространственный каркас из стальных стержней. Прутки равномерно распределяются по всему пространству, подлежащему заливке. Это позволяет железобетону равномерно воспринимать нагрузки и повышает прочность строительных конструкций.
Вязка арматуры для фундамента при помощи сварки
Соединение отдельных элементов армирующей металлоконструкции может производиться различным образом:
- с использованием электрической сварки. Несмотря на повышенную скорость фиксации частей арматурной решетки, в зоне соединения происходит перегрев материала, который нарушает его кристаллическую структуру и может вызвать образование трещин под воздействием нагрузки.
Сваренные участки также в большей мере подвержены коррозионным процессам, отрицательно влияющим на прочность и долговечность металлоконструкции; - с применением специальных хомутов, произведенных из эластичной пластмассы. Они позволяют значительно сократить продолжительность вязальных мероприятий, но обладают серьезным недостатком. Пластик в холодное время года теряет прочностные свойства. Это является причиной ослабления отдельных участков стыковки и разрывов хомутов при движении по арматурной решетке;
- применяя крючки для вязки арматуры. Это достаточно простой метод фиксации, обладающий повышенной степенью надежности. Для выполнения работ нужно нарезать проволоку в необходимом количестве. Для сборки решетки используется специальная проволока для вязки, с помощью которой стягивают стержни на участках пересечения. Для упрощения фиксации применяется крючок для арматуры – вязальный инструмент с простым принципом действия.
Профессиональные строители при выполнении мероприятий по армированию используют различные вязальные приспособления.
Это является оптимальным решением. Для небольших каркасов они применяют самостоятельно изготовленный крюк для вязки арматуры, а при увеличенных объемах вязания – специальные пистолеты.
Вязальные крючки для арматуры – разновидности инструмента
Для связывания стальных заготовок пространственного каркаса применяются различные виды устройств:
- ручное. Требует приложения значительных усилий для обеспечения фиксации. Такое устройство несложно изготовить самостоятельно, затратив минимум денежных средств;
- полуавтоматическое. Используя промышленно изготовленные винтовые приспособления можно облегчить операцию по связыванию и ускорить процесс сборки силового каркаса;
Вязальные крючки для арматуры
- автоматическое. Применение профессионального пистолета позволяет ускорить процесс соединения металлических прутков при выполнении фиксации в промышленных масштабах.
Остановимся детально на особенности каждого вида вязального инструмента.
Стандартный крючок для вязания арматуры
Используются различные виды ручных приспособлений:
- инструмент, самостоятельно изготовленный из электрода или стальной проволоки;
- готовые устройства, приобретенные в строительных магазинах.
Для выполнения фиксации следует предварительно порезать проволоку на куски необходимых размеров. В зависимости от квалификации вязальщика на протяжении минуты можно зафиксировать от 5 до 15 участков соединения.
Преимущества ручного инструмента:
- легкость выполнения операций по связыванию;
- возможность изготовления собственными руками;
- незначительный уровень затрат на изготовление или покупку.
Крючок для вязки арматуры VOREL 49830
Наряду с достоинствами, имеются и слабые стороны:
- пониженная производительность вязальных операций;
- повышенный уровень усилий для скручивания проволоки.
Профессиональные строители часто используют самостоятельно изготовленный или покупной вязальный крюк для арматуры, который обеспечивает повышенную степень надежности соединения.
Автоматический крюк для вязки арматуры
Ускорить и автоматизировать процесс скручивания позволяет специальное приспособление с реверсивным принципом действия. При первом взгляде оно похоже на стандартное ручное устройство, однако отличается наличием винтового механизма, состоящего из следующих частей:
- пластмассовой рукоятки с внутренней винтовой нарезкой;
- рабочего органа с винтовой резьбой на стержне.
Указанные элементы в собранном виде образуют механизм с возвратно-поступательным принципом действия. Реверсивное приспособление работает достаточно просто – перемещение ручки вызывает поворот рабочего органа, на который надета проволочная петля.
Преимущества реверсивного приспособления:
- увеличенная производительность связывания проволоки;
- возможность использования в зонах с ограниченным доступом;
Автоматический крюк для вязки арматуры
- легкость производства вязальных операций;
- долговечность устройства при регулярном смазывании.

Приспособление имеет единственный недостаток – повышенную цену, если сравнивать со стоимостью обычного ручного инструмента.
Используя реверсивный инструмент, вязальщик, не утомляясь, может выполнить увеличенный объем работ. По эффективности винтовое устройство превосходит ручное приспособление, когда необходимо вручную протянуть и закрутить проволочные концы. Без переустановки рабочего зацепа, путем циклического перемещения рукоятки можно добиться надежного крепления.
Порядок действий по применению приспособления:
- Вставьте зацеп инструмента в скрученную петлю.
- Потяните рукоятку на себя вдоль рабочей оси.
- Верните ручку в начальное положение.
- Произведите следующий цикл перемещения.
Можно также самостоятельно сделать полуавтоматическое устройство для затягивания с помощью обычного шуруповерта. Потребуется загнутый гвоздь без шляпки или г-образный пруток, конец которого необходимо вставить в патрон инструмента.
Немного потренировавшись, несложно овладеть принципами работы с использованием этого приспособления.
Профессиональный крючок для арматуры – используем пистолет
Вязальный пистолет является профессиональным инструментом, который применяется на крупных строительных объектах. Используя автоматический крючок для вязки арматуры пистолетного типа, со сборкой крупного арматурного каркаса несложно справиться даже новичку.
Вязальный пистолет является профессиональным инструментом
Преимущества профессионального устройства:
- нет необходимости предварительно разрезать проволоку на заготовки;
- проволока автоматически подается с рабочего барабана;
- достигается экономия материала за счет отсутствия проволочных отходов;
- увеличенная производительность пистолета;
- повышенное усилие петлевой затяжки;
- возможность регулировки силы скручивания и длины проволоки.
Среди основных достоинств необходимо отметить возможность автономного функционирования от аккумулятора, а также применение специального удлинителя, который позволяет выполнять работы стоя, не нагибая туловища.
Конструкция устройства позволяет держать его в одной руке, а в это время второй – поддерживать стальные стержни без помощи подсобников. Продолжительность затяжки стыка не превышает одну секунду. Это очень удобно при выполнении работ в промышленных масштабах.
Одновременно с преимуществами имеются и слабые стороны:
- довольно высокая цена профессионального пистолета;
- повышенные затраты на приобретение специальной проволоки;
- неудобство использования в условиях ограниченного пространства;
- необходимость обучения вязальщиков приемам работы с инструментом.
Важно приобретать расходные материалы, соответствующие по размеру сечения и жесткости характеристикам пистолета. Иначе возможна поломка оборудования. Пистолетом пользуются профессионалы при сборке каркасов крупных фундаментов. И вместе с тем в определенных местах решетки крепление можно осуществить только с использованием ручного инструмента.
Вязальный пистолет BM-400
Изготавливаем приспособление для вязки арматуры своими руками
Мастера, занимающиеся сборкой арматурных каркасов длительное время, отдают предпочтение самодельному инструменту.
Это связано с рядом факторов:
- самостоятельно изготовление устройство может оснащаться рукояткой в удобной для руки форме. Это повысит производительность и обеспечит комфорт эксплуатации;
- для изготовления рабочего захвата своими силами могут применяться специальные марки стали. Прочный материал не разогнется под воздействием нагрузок;
- рабочему органу несложно придать необходимую форму и выполнить, при необходимости, в увеличенном размере. Это удобно для работы в труднодоступных участках.
Обычный крюк для вязки арматуры своими руками сделать несложно.
Возможны различные варианты:
- без рукоятки. Упрощенная конструкция предусматривает применение сварочного электрода;
- с рукояткой. Такое устройство по качеству не уступает изготовленному в промышленных условиях.
Для изготовления упрощенной конструкции необходим сварочный электрод, молоток и пассатижи. Порядок действий:
- Удалите рабочее покрытие.

- Отступите с одного края пару сантиметров и загните под прямым углом.
- Сформируйте держатель прямоугольной формы с размерами 4х10 см.
- Заточите рабочую часть и придайте ей конусообразную форму.
Вяжем арматуру под перекрытие своими руками
Процесс изготовления займет не более 10 минут.
Конструкция с деревянной рукояткой более удобна в работе и изготавливается за пару часов. Для сборки потребуется:
- стальная проволока диаметром 8 мм и длиной 0,4 м;
- заготовка из древесины для изготовления рукоятки;
- шайбы и гайки, соответствующие диаметру стержня;
- электросварка;
- плоскогубцы;
- болгарка;
- электродрель;
- лист наждачной бумаги;
- острый нож.
Алгоритм сборки:
- Изготовьте рукоятку.
- Просверлите в ней отверстие.
- Отшлифуйте поверхность.
- Приварить гайку к торцу прутка.
Крючок для вязки из арматуры своими руками
- Наденьте шайбу и вставьте в отверстие ручки.

- Установите шайбу и приварите следующую гайку.
- Придайте концу стержня необходимую конфигурацию, заточите край.
- Покройте рукоятку лаком или пропитайте антисептиком.
Выполнив несколько связок, проверьте работоспособность приспособления. При необходимости подогните проволочную часть.
Как вязать арматуру крючком – технология фиксации
Для всех типов вязальных приспособлений технология выполнение работ несложная. Работы по связыванию осуществляются на основании чертежа после завершения подготовительных мероприятий и установки вертикальных стержней. Широко применяется проверенный метод фиксации, выполняемый одной петлей.
Вязание арматуры крючком одной петлей
До начала работ по связыванию следует нарезать проволоку сечением 1,2 мм кусками по 20–30 см в необходимом количестве. Дальнейший порядок действий:
- Оберните сложенную в 2 слоя проволоку вокруг узла, расположив ее диагонально.
- Вставьте крючок в сформированную петлю, и зацепите им второй конец проволоки.

- Введите захватом в петлю захваченные с другой стороны концы проволоки.
Вращайте рабочий инструмент, контролируя степень затяжки соединения. Остается извлечь рабочую часть захвата из петли и можно приступать к следующему стыку.
Заключение
Планируя самостоятельно собрать арматурный каркас, следует правильно подобрать вязальный инструмент для выполнения работ и изучить технологию. Выполняя работу своими силами, можно овладеть навыками выполнения вязальных работ и сэкономить финансовые ресурсы.
Вязка арматуры своими руками — как правильно вязать арматуру
Для обеспечения требуемой надежности любых железобетонных конструкций необходимо использовать только качественные строительные смеси и арматуру. Но не меньшая роль при этом отводится правильному креплению, фиксации металлической арматуры.
От того, насколько прочна стальная конструкция из армирующих элементов, зависит не только надежность фундамента, но и долговечность всего здания. Именно поэтому к качеству вязки арматуры предъявляются самые жесткие требования.
Содержание
- Почему именно вязка
- Как вязать стальную арматуру
- Чем вязать арматуру
- Пистолет для вязки арматуры
Вернуться к содержанию
Почему именно вязка
Крепление двух и более деталей арматуры для создания какой-либо конструкции можно производить несколькими способами: точечной сваркой, дуговой сваркой, специальными соединительными элементами, пластиковыми хомутами или вязкой проволокой.
Монтаж арматуры при помощи пластиковых хомутов способен обеспечить хорошую фиксацию элементов, однако не обеспечивает достаточной прочности соединений в условиях действия динамических нагрузок на «голый» каркас. Другими словами: если наступить на верхние элементы конструкции во время сборки каркаса или проявить неосторожность в процессе заливки арматуры бетоном, некоторые соединения могут лопнуть, не выдержав нагрузки.
Также в данном случае следует с осторожностью использовать вибрационное оборудование для уплотнения залитого бетона.
Вязка арматуры пластиковыми хомутами
Специальные соединительные элементы разработаны для монтажа арматуры из композитных материалов. Соответственно не применяются в случаях со стальными армирующими элементами.
Точечная сварка может быть использована для создания каркаса из стальных прутков, имеющих диаметр менее 24 мм. Для прутков с большими диаметральными размерами подойдет дуговая сварка. Это менее трудоемкий процесс, чем ручная вязка проволокой, но для ответственных сооружений ее использовать не рекомендуется. Это связано с особенностями поведения металла арматуры во время плавления и осадки (процесса сварки) и после него. Стальные прутки армирующего каркаса очень подвержены коррозии в местах соединений, что значительно сокращает срок службы железобетонного сооружения. Конструкция теряет целостность вследствие температурного объемного и линейного расширения и сужения материала каркаса.
Также это происходит в результате воздействия переменных динамических и статических нагрузок во время эксплуатации.
Вязка арматуры проволокой
Наиболее трудоемкий и, в то же время, надежный способ крепления элементов стального каркаса — вязка арматуры своими руками. Долговечность и прочность соединений арматуры металлической проволокой, диаметр сечения которой колеблется в пределах от 0,8 до 1,5 мм, достигается за счет пластичности и большой прочности на разрыв этой проволоки. Конструкции из стальной арматуры, связанной качественной проволокой не страшны ни температурные расширения, ни большие нагрузки, поскольку такая система армирования способна деформироваться под действием различных факторов без нарушения целостности каркаса. Стальная проволока способна растягиваться или сжиматься, деформироваться под воздействием различных нагрузок, но свою функцию она выполнит безупречно на протяжении всего срока службы строения.
Следует отметить, что в последнее время при армировании фундамента некоторые строители стали использовать новый для российского рынка строительный материал — стеклопластиковую арматуру.
Советуем внимательно ознакомиться с ее достоинствами и недостатками. Информацию по типу и материалам изготовления обычной стальной арматуры Вы можете найти в здесь.
Вернуться к содержанию
Как вязать стальную арматуру
Вязка арматуры своими руками происходит только после окончания подготовительных работ: обустройства дренажа, коммуникаций, обеспечения гидроизоляции, укладки песчаной и щебеночной подушки. Далее происходит монтаж нижней продольной части арматуры, которую можно закрепить как на уложенные на дно траншеи кирпичи, так и на вбитые по периметру вертикальные пруты — опоры. Здесь важно точно контролировать укладку по горизонтали и по вертикали строительным уровнем и отвесом, поскольку неправильно установленная арматура не способна обеспечить фундаменту требуемую долговечность, прочность и надежность. При укладке данного слоя арматуры в области углов, концы прутков необходимо загнуть минимум на 25 сантиметров так, чтобы они хорошо фиксировались с элементами арматуры соседней стены.
Это важный момент, необходимый для обеспечения целостности конструкции в процессе эксплуатации. Вязать этот слой арматуры необходимо как между прутками, так и к опорам, как можно чаще (не менее 70 % соединений должны быть связаны). Обязательными местами фиксации являются углы и пересечения с поперечными прутками.
Приемы вязки арматуры
После того, как нижний слой прутков готов, и на него уложены и закреплены поперечные прутки, качество монтажа следует снова проверить уровнем. Для удобства и улучшения характеристик, поперечный набор арматуры можно выполнить в виде загнутых под прямым углом (в виде квадрата или прямоугольника) гладких или ребристых деталей арматуры.
Чтобы закрепить на поперечном слое верхнюю продольную арматуру из стальных ребристых прутков, используют все ту же проволоку, а для контроля горизонтальности используют все тот же инструмент, уровень.
Вязка арматуры &ndash один из важнейших этапов строительства фундамента, которому должен предшествовать монтаж опалубки.
Как сделать металлическую или деревянную опалубку для ленточного фундамента, Вы узнаете из нашей статьи: http://vse-postroim-sami.ru/building/fundament/3584_kak-sdelat-opalubku-dlya-fundamenta/.
Вернуться к содержанию
Чем вязать арматуру
Такой трудоемкий процесс как, вязка арматуры для фундамента своими руками, можно выполнять при помощи только лишь плоскогубцев или крюка, сделанного из гвоздя или металлической ручки от валика. Этот самодельный инструмент достаточно эффективный, если фундамент укладывается под гараж, баню или небольшую хозпостройку. Если строительство планируется более масштабным, целесообразно приобрести специальный инструмент для вязки арматуры: обычный или винтовой крючок для вязки арматуры, пистолет.
Для наглядности предлагаем видеоролик, в котором показаны разновидности крючков для вязания арматуры, а также сама технология вязки.
Для ручной вязки арматуры крючком, винтовым или обычным, сначала подготавливают проволоку, нарезая ее на куски, длинной около 400 мм.
Далее ее складывают вдвое, формируя петлю, и продевают между деталями арматуры. При помощи крюка, концы проволоки продевают в петлю и закручивают.
Вязка арматуры крюком
Заметим, что конструкция обычного крючка позволяет быстро скручивать проволоку, вращением рукояти. А схема устройства винтового крюка обеспечивает еще более быструю фиксацию арматуры проволокой. При этом процесс скручивания происходит в результате поступательного движения рукоятки вверх и вниз. Покупка этих инструментов выгодна для достаточно масштабных строительств, поскольку значительно сокращает трудоемкость вязки армирующих материалов и, соответственно, сроки строительных работ.
Вернуться к содержанию
Пистолет для вязки арматуры
Наиболее быстро и качественно связать арматуру стальной проволокой, диаметром от 0,8 до 1,5 мм, помогает пистолет.
Вязки арматуры пистолетом
Это достаточно дорогое строительное оборудование, которое есть смысл приобретать крупным строительным компаниям, и вот почему:
- продолжительность вязки одного соединения — 0,8 с;
- малый вес аппарата освобождает вторую руку рабочего, которой он теперь может придерживать конструкцию;
- встроенная система регулировки длинны проволоки и усилия закрутки позволяет добиться равномерного распределения напряжения в конструкции;
- различные модели пистолетов предназначены для вязки арматуры любого диаметра.

Процесс вязки арматуры пистолетом происходит так: проволока выходит из катушки, встроенной в корпусе, и через направляющие перемещается вокруг деталей каркаса, формируя несколько витков. Затем специальный механизм производит скрутку и обрезку проволоки.
Как вязать арматуру | Полезные статьи о металлопрокате
Стальная арматура является важной частью бетонных фундаментов. Правильное расположение горизонтальных и вертикальных стержней в основании имеет первостепенное значение для укладки бетона, поэтому их размер, размещение и схема вязки арматуры просчитываются еще на этапе создания проектной документации. Фундамент, усиленный арматурой, равномерно передает нагрузки здания на землю и не повреждается при движении грунта.
Ленточный фундамент
Наиболее распространенным вариантом фундаментов является ленточный. Он представляет собой бетонную замкнутую петлю, расположенную по периметру под всеми основными стенами здания.
Большая популярность данного типа фундамента объясняется несложной конструкцией, способностью выдерживать высокие нагрузки, возможностью оборудовать подвальное помещение. К сооружению ленточного фундамента прибегают при возведении зданий из кирпича, газобетона, камня.
Он отлично подходит для неоднородной почвы, склонной к пучению и неравномерному оседанию. Как известно, бетонный фундамент выдерживает два типа нагрузок:
- Сжатие под воздействием веса здания.
- Растяжение под воздействием морозных волн: замерзшая, влажная почва увеличивается в объеме и, сжимая «скелет» фундамента, толкает его вверх.
Данные нагрузки неравномерны, поэтому чтобы лента противостояла любым деформациям, производится армирование основания – формирование каркаса внутри бетонного сердечника.
Вязка арматуры
Процесс создания арматурного каркаса называется вязкой. Вязка производится в соответствии с установленными правилами и нормами, в случае нарушения которых фундамент нельзя будет считать надежным основанием здания.
Установка и правильное скрепление горизонтальных и вертикальных прутков предотвращает появление и развитие трещин, а также воспринимает неучтенные нагрузки, например, боковое изгибание фундамента.
Материалы
Чтобы вязать арматуру для фундамента, понадобятся следующие материалы:
- Арматура: может быть стальной или композитной – из стеклопластика. Гладкие стержни диаметром до 10 мм применяются для поперечной укладки и вертикального расположения. Гофрированные (рабочие) стержни сечением более 12 мм размещаются вдоль ленты горизонтально.
- Проволока из стали или хомуты из пластика.
- Инструмент для вязки арматуры: вязальный крючок или специальный пистолет.
При создании каркаса чаще всего применяются металлические стержни. Прутки из стекловолокна используются для зданий с особыми требованиями к уровню радиопомех, химической и немагнитной стойкости. Так как композит плохо растягивается при изгибе, его не часто используют в частном жилищном строительстве.
Методы вязки
Сварка: в соответствии со строительными нормами используется при сооружении громоздких каркасов для усиления основания многоэтажек и габаритных строений. Не подходит для композита и стальных прутков без специальной маркировки «C». Несколько десятков лет назад сварку считали самым надежным способом соединения, однако со временем выяснилось, что применение данного метода не всегда уместно. Ведь именно точки, в которых прутки крепятся между собой сваркой, являются самым слабым местом каркаса.
Хомуты: крепление арматуры для ленточного фундамента может осуществляться пластиковыми хомутами. Фиксация стальных прутков данным типом материала доступна даже тем, кто не имеет специальных навыков. Главными достоинствами этой технологии являются:
- скорость выполнения работ;
- создание прочного металлического каркаса.
К недостаткам можно отнести:
- Более высокую стоимость при больших объемах работ, если сравнивать с проволочным методом.

- Невозможность исправить ошибку – при совершении ошибки во время вязки хомут нужно перекусывать, тогда как проволоку всегда можно перевязать.
- При температуре ниже – 25 градусов пластик постепенно начинает лопаться.
Соединение проволокой: фиксация арматуры для фундамента проволокой является наиболее приемлемым способом, обеспечивающим соединениям высокую прочность. Вы можете одинаково правильно вязать арматуру при помощи:
- ручного крючка;
- клещей;
- вяжущего пистолета;
- шуруповерта.
Преимущества проволочного соединения:
скорость выполнения; быстрое и относительно легкое устранение недочетов; правильная вязка, даже без наличия профессиональных навыков; доступность материалов.
Недостатки проволочного способа крепления:
- шаткость связанной между собой конструкции во время ее установки в опалубку;
- прогиб в местах вязки, благодаря которому каркас немного «гуляет» в разные стороны.

Поэтому, отвечая на вопрос, как правильно вязать арматуру, можно сказать: вязка ленточного фундамента должна производиться непосредственно в опалубке. Для этого на дне траншеи производится укладка продольных стержней. Чтобы прутки не соприкасались с грунтом, под них укладываются подставки-бобышки высотой не более 5 см. Шаг укладки стержней зависит от размеров фундамента. В том случае, когда длины стержня недостаточно, используют несколько прутков, соединяя их с соблюдением нормативного нахлеста. К рабочим пруткам, с шагом не больше З/8 от высоты фундамента, вертикально крепятся восьми- либо десятимиллиметровые хомуты, поверх которых проводится крепление верхнего пояса арматуры.
Стальные прутки, использующиеся при возведении каркаса, не должны содержать смазки, битума и других загрязнений, которые могут ухудшить их адгезию к бетону.
Ручная вязка
Выполняется «своими руками» при помощи стального крюка с деревянной или пластиковой ручкой.
Самый распространенный узел, с помощью которого можно связать стальные арматурные стержни, производится следующим образом:
- Вязальная проволока нарезается на отрезки длиной от 150 до 200 мм.
- Каждый отдельно взятый отрезок сгибается пополам.
- Сложенный пополам материал протягивают под арматурой в том месте, где нужно связать прутки, и сгибают.
- Далее в дело идет вязальный крюк – его продевают в петлю, захватывая свободный конец проволоки.
- Производят оборот, после чего натягивают крюк на себя и докручивают до полного отрыва.
Соединение «Мертвый узел» – вариант, который используют для колонн и балок. Узел гарантирует прочную фиксацию арматуры в угол хомута. Способ исполнения:
- Вязальный материал нарезается на необходимое количество отрезков длиной от 200 до 400 мм (длина подбирается в зависимости от диаметра используемых прутков).

- Каждый отдельный отрезок сгибается пополам и просовывается под низ арматуры (с левой стороны от хомута) петлей вперед. Свободный конец проволоки пропускается через верх, после чего загибается под прутки.
- Захват свободного конца производится крючком через петлю, после чего его одновременно подтягивают и прокручивают до отрыва петли.
При «завязывании» узлов проволоку нужно как можно крепче прижать к углу хомута и прутку – только такую фиксацию можно считать надежной. Если хомут имеет хоть небольшой люфт, «мертвый узел» можно дополнительно укрепить простым. При создании сложных конструкций узлы должны комбинироваться: «мертвый» плюс два простых, повязанных накрест.
Пистолет
Тем, кто вяжет фундамент не единожды, лучше всего купить специальный пистолет, облегчающий и ускоряющий работу в несколько раз. Стоит он недешево, зато быстро оправдывает себя – соединения получаются качественными и надежными.
К недостаткам данного инструмента можно отнести:
- невозможность производить связывание прутьев большого диаметра;
- не везде им можно добраться в процессе вязки;
- созданный пистолетом узел развязать и вновь завязать не получится.
Применение шуруповерта с крючком
Нет желания приобретать пистолет? Тогда можно воспользоваться шуруповертом. Все что нужно сделать для создания данного вязального агрегата – это вставить в шуруповерт крючок и настроить скорость инструмента так, чтобы он не рвал проволоку во время работы. Кстати, роль крючка для шуруповерта может играть шиферный гвоздь.
Использование строительных клещей
Главным достоинством метода вязки клещами является экономия проволоки, ведь делать петли в этом случае нет необходимости. К минусам данного метода относят:
- наличие практических умений – завязать узел своими руками человеку без опыта очень сложно;
- невысокая, по сравнению с другими инструментами, скорость работ;
- в процессе вязки получаются жесткие узлы с острыми концами, поэтому нужно иметь спецобувь, чтобы защитить ноги от травм.

Выбор проволоки
Выше мы уже разобрали, что самым оптимальным материалом для вязки арматуры является проволока, поэтому от ее выбора напрямую зависит качество каркаса.
ГОСТ З282-74 описывает, каким требованиям должен отвечать данный материал:
- для стальных прутков диаметром 10-12 мм необходимо выбирать материал сечением 1,2 мм;
- для шестнадцати и восемнадцатимиллиметровых стержней нужно использовать материал 1,6 мм;
- арматура с большим сечением вяжется двухмиллиметровой проволокой или двумя 1,2-миллиметровыми проволоками.
Каркас для ленточного фундамента вяжется с использованием отожженной проволоки, которая может иметь цинковое покрытие для защиты от коррозии, а может использоваться без защиты – так называемая «черная». Она мягкая, имеет хорошие показатели прочности, что дает возможность затягивать узлы без риска обрыва. Проволока для вязки арматуры продается в мотках и отрезках.
Работать с мотком сложнее, так как необходимо постоянно отрезать нужные по длине куски. Мерная проволока готова к работе сразу после покупки, особенно удобно использовать мерный материал с уже готовыми петлями на концах.
Правильная вязка арматуры под ленточный фундамент
- ПОСЛЕДНИЕ ЗАПИСИ
- РУБРИКИ
- Автоматическое открывание, проветривание и полив теплиц
- Акриловые краски
- Балкон
- Блоки арболитовые
- Бурение скважин на воду
- Вода из скважины
- Водосток кровельный
- Воздух в квартире
- Выращивание дома
- Гидроизоляция
- Гидрофобизация материалов
- Дорожки садовые
- Камин своими руками
- Каркасный дом
- Кладка печи своими руками
- Крыша из металлочерепицы
- МДФ
- Монтаж кровли
- Монтаж ламината
- Монтаж линолеума
- Монтаж подложки под ламинат
- Натяжные потолки
- Опилкобетон
- ОСБ плита
- Отделка откосов
- Оштукатуривание
- Полипропиленовые трубы
- Расход материалов
- Тротуарная плитка
- Устройство отмостки
- Утепление
- Утепляем баню самостоятельно
- Фасад
- Фундамент из свай
- Шлакоблок
- Эмаль для ванны
Как установить входную металлическую дверь своими руками
Бани – основные виды, характеристики
Обувница своими руками: как сделать, чертежи, схемы, фото
Засор канализации в многоквартирном доме, кто виноват?
Фундамент
Ленточный фундамент имеет вид замкнутого контура, выполненного из железобетонной ленты, прокладываемой под несущими стенами дома.
Такой тип фундамента дает возможность равномерно распределить вес будущей постройки по всему периметру, что способствует повышению сопротивления силам пучения, уменьшения проседания здания и перекосу фундамента.
Правильный монтаж ленточного фундамента позволяет возводить на нем как деревянные дома, так и монолитные бетонные строения. В сравнении с монолитным фундаментом, ленточный тип фундамента характеризуется использованием сравнительно меньшего количества стройматериалов, к тому же объем земляных работ также ощутимом сокращается. Положительным моментом в характеристике ленточного фундамента является и невысокая стоимость проведения работ.
Роль арматуры в ленточном фундаменте
Монтаж ленточного фундамента не обходится без арматуры, ведь именно он перенимает на себя растяжение и усилия на разрыв от веса строения. Между тем бетонному основанию фундамента приходиться испытывать нагрузку на сжатие, и в конечном итоге удается добиться равномерного распределения по основанию всех сил противодействия.
Умение вязать арматуру поможет соблюсти равновесие и распределение нагрузки на ленточный фундамент.
План проведения работ
Качественное армирование фундамента подразумевает под собой следование следующим этапам:
- Разработка проекта, в котором в обязательном порядке учитываются особенности грунта, полученными в результате геологических исследований. Именно характеристика почвы обуславливает выбор типа фундамента и его глубину, а также позволяет определиться с расчетами о предстоящих тратах;
- Подготовка участка, во время которой снимается плодородный слой и наносится разметка будущего основания. Для правильного измерения расстояния используется рулетка, а направляющие колышки вбиваются в землю с шагом в 30 см. Такие колышки в обязательном порядке устанавливаются на местах будущих углов. Затем между ними натягивают шнур либо толстую нить. Когда намечают углы, важно соблюдать в них 90°, в особенности следовать этому требованию необходимо при строительстве дома из бруса;
- Выкапывание траншеи и укладка на нее дно песчаной подушки толщиной в 10-15 см, что необходимо для уплотнения грунта.
Чтобы добиться максимальной усадки, песок следует смочить водой. Тем не менее, некоторые виды почвы требуют использования геотекстиля, который защитит фундамент от разрушения в результате воздействия грунтовых вод; - Сборка опалубки, для чего используются деревянные щитки. Для регулировки высоты применяется рулетка, все образующиеся щели укрывают пленкой;
- Монтаж арматуры, качество вязки которой и расположение прутов отвечает за жесткость и надежность фундамента;
- Заливка конструкции бетонным раствором.
Выполнение каждого отдельного этапа не вызывает особых трудностей. Единственное, что потребует определенных усилий, знаний и времени, так это непосредственная вязка арматуры. Кстати, в процессе выполнения работы необходимо помнить о создании отверстий для коммуникационных входов и выходов.
Виды маркировок арматуры
При заказе арматуры важно знать особенности заводских обозначений. Концы арматуры, изготовленной из низколегированной стали, имеют следующие цветовые обозначения:
- Продукцию класса А-IV помечают красным цветом;
- Продукцию класса А-V помечают красным и зеленым цветами;
- Продукцию класса А-VI помечают красным и синим цветами.

Кроме этого для обозначения различных классов арматуры используются буквы со следующим значением:
- Пометка «К» (Ат-IVK) говорит о высокой устойчивости к растрескиванию под влиянием статического напряжения;
- Пометка «С» (Ат-IVC) говорит о том, что этот вид арматуры свариваемый;
- Пометка «СК» (Ат-IVCK) также говорит о том, что арматура свариваемая, но одновременно с этим она обладает устойчивостью к коррозийному растрескиванию.
При незначительных нагрузках на различные места будущего основания может быть использования монтажная арматура А1, которая характеризуется меньшим сцеплением с бетоном.
Как правило, для усиления свойств фундамента применяется рабочая арматура А3, которая отличается наличием трех видов выступов:
- Серповидного, отвечающего за стойкость арматуры к различным разрывным нагрузкам. Такая арматура используется при работе с тонкими стенами;
- Кольцевого, обеспечивающего надежное сцепление с бетоном.
Такая арматура используется при работе с мощными бетонными конструкциями; - Смешанного, включающего в себя положительные свойства первых двух видов.
В случае, когда арматура лишена каких-либо обозначений, то использовать ее при кладке ленточного фундамента категорически запрещается. Кстати, экономия в процессе покупки нежелательна, ведь в результате использования незакаленной арматуры фундамент может покрыться трещинами, которые спустя некоторое время распространяться и на стены дома.
Нередко в качестве армирующего материала используется стеклопластиковое волокно, тем не менее, наибольшую жесткость и надежность конструкции обеспечивает именно металлическая арматура. На строительном рынке можно увидеть арматуру в мотках, в виде стальных прутьев либо в виде сварной сетки, изготовленной в заводских условиях.
Что необходимо знать при вязке арматуры
Вязка арматуры осуществляется при наличии:
- Непосредственно самой арматуры;
- Мягкой либо отожженной стальной проволоки с диаметром от 0,8 до 1,2 мм;
- Специального вязального крючка, а в случае его отсутствия – обычных плоскогубцев.

Если вы не имеете понятия о том, как приступить к вязке арматуры для ленточного фундамента, лучше не начинать этого дела в одиночку. Единственная трудность данного процесса заключается в том, что без достаточного опыты справиться с такой задачей своими руками будет непросто. Поэтому лучше заручиться поддержкой одного-двух человек, которые знакомы с особенностями вязки арматуры. К тому же, их присутствие обязательно еще и потому, что с их помощью будет проведена последующая установка каркаса в расчетное положение.
Чтобы организовать надежное армирование ленточного фундамента, заблаговременно подготавливают коробы из арматуры. Сечение каркаса должно иметь квадратную либо прямоугольную форму, тогда как размер каждой ячейки может варьироваться от 30 до 40 см. Проектная длина короба в идеале должна составлять не менее 3 метров. В виду того, что вязка короба осуществляется не в траншее, а на поверхности, можно заранее произвести расчет необходимого количества коробов.
Однако если планируется монтаж длинного и глубокого фундамента, то вязкой коробов можно заниматься прямо в траншее, тем самым избавившись от необходимости опускать габаритную и не самую легкую конструкцию в яму.
Когда предполагается большое число мест будущих соединений, то количество узлов разрешается сокращать, тем не менее, на них должно приходиться не менее 50% от суммарной численности пересечений арматуры.
Варианты соединения арматуры
Фиксация стальных прутов возможна с помощью сварки или вязки.
Несмотря на то, что сварка не отличается особой сложность или длительностью, этот метод соединения имеет ряд неприятных недостатков:
- Высокая температура негативно отражается на свойствах металла;
- Прочность узлов сварки возможна только, если работа будет выполняться сварщиком высокой квалификации;
Сварка придает конструкции особую жесткость, которая повышает риск нарушения ее целостности при заливке бетонной смеси.
Что касается вязки, то она по праву считается наиболее эффективным способом, пусть на ее выполнение и требуется больше времени.
Технология армирования фундамента методом вязания
Очень часто в процессе армирования ленточного фундамента прибегают за помощью к пластиковым хомутам, вот только использовать их можно только в случае, если при непосредственной заливке фундамента никто не будет стоять либо ходить по арматурному коробу. Также можно применять и проволоку, которая существенно сокращает расход финансов, необходимых для проведения работ.
Чтобы результат проделанной работы не вызвал горького разочарования, важно придерживаться такой последовательности:
- От проволоки отрезается кусок длиной не менее 30 см;
- Отрезанная полоса берется в левую руку, тогда как правая рука удерживает вязальный крючок;
- Под перекрещивающуюся арматуру (к месту пересечения арматурных прутов) подводится проволока;
- Вязальный крючок вставляется в петлю проволоки, сложенной вдвое;
- Проволокой полностью обогнуть арматуру, свободный крючок которой заводится на крючок;
- Вязальный крючок закручивается по часовой стрелке, стараясь максимально прочно соединить концы проволоки;
- Как отмечает большинство экспертов, 3-3,5 оборотов должно хватать для надежной связки арматуры;
- Крючок вынимается из вязальной петли.

Кстати, чтобы ненароком не порвать вязальную проволоку, не стоит прилагать чрезмерных усилий при закручивании петли.
Таким образом, на арматурном коробе создается одно соединение. Однако этот короб может насчитывать несколько десятков подобных мест, тогда как у всего фундамента их количество вполне может достигать и нескольких сотен. Для упрощения и ускорения процесса вязки арматуры рекомендуется приобрести специальный вязальный пистолет, который без труда отыщется в любом строительном салоне.
Особенности армирования ступеньки
В случае, когда участок для строительства характеризуется большими перепадами высот, заливка фундамента производится «ступенчатым» способом:
- Усиление ступеньки проделывают на расстоянии 1 метра от уступа;
- Стержни длиной в 2 метра располагаются в верхней части ступеньки, середина которой должна припадать на центр уступа;
- При укладке горизонтальных прутов выдерживают шаг в полтора метра.
Особенности армирования углов
Нередко в процессе армирования углов допускаются различные ошибки, однако их необходимо избегать по той причине, что эти места испытывают разнонаправленную нагрузку.
Поэтому, неправильный монтаж усиливающих прутов чреват тем, что фундамент будет иметь вид набора отдельных составных частей, а не монолитной конструкции. К тому же, его поверхность покроется трещинами, а бетон начнет слоиться.
Как правило, для армирования углов используется простое перекрещивание. Для придания прочности фундаменту в местах стыков арматуры следует использовать Г- либо П-образные пруты. Кстати, Г-образные пруты просто необходимы при армировании тупого угла, после чего вся конструкция усиливается дополнительными поперечинами.
Особенности укладки армирующего короба
Как уже говорилось выше, монтаж каркаса в подготовленную траншею производиться двумя либо тремя людьми: двоим из них придется удерживать оттяжки при подъеме конструкции, а в случае необходимости они устанавливают опорный стержень в нужном месте. Третьему работнику поручается наблюдать за проведением работы и вносить коррективы в действия товарищей. Соседние короба фиксируются к опорной арматуре.
После того, как все коробы будут помещены в траншею, все места соприкосновения должны быть закреплены вязальной проволокой, тем самым обеспечив единую структуру короба. Под нижнюю часть конструкции укладываются кирпичи, бруски либо любой подходящий материал – это необходимо сделать для того, чтобы бетонная смесь заполнила все имеющиеся пустоты и полностью покрыла арматуру.
В результате арматура будет отличаться наибольшей устойчивостью, а вся конструкция после заливка фундамента раствором получит дополнительную прочность и надежность. Стыки коробов, расположенных по углам фундамента, дополнительно армируются стержнями, перевязанными по диагонали.
Перевязывая короб с соседними конструкциями, нельзя забывать о контроле его горизонтальности, чтобы бетонная смесь смогла полностью скрыть арматуру под своим слоем. Приступать к монтажу опалубки по всему периметру можно только после окончательной сборки коробов.
схема крючком и вязальной проволокой, технология монтажа
Для обеспечения требуемой надежности любых железобетонных конструкций необходимо использовать только качественные строительные смеси и арматуру.
Но не меньшая роль при этом отводится правильному креплению, фиксации металлической арматуры. От того, насколько прочна стальная конструкция из армирующих элементов, зависит не только надежность фундамента, но и долговечность всего здания. Именно поэтому к качеству вязки арматуры предъявляются самые жесткие требования.
Вернуться к содержанию
Делаем правильный крючок для вязки арматуры своими руками: Советы +
В последние годы всё большую популярность при возведении частных и многоквартирных домов, коммерческих зданий набирают технологии, связанные с использованием монолитных конструкций.
Для придания им прочности и устойчивости к нагрузкам перед заливкой бетона внутри формируется специальная металлическая основа. Арматурные стержни связываются между собой стальной вязальной проволокой при помощи специального крюка.
Такой инструмент продаётся в любом строительном магазине, а можно сделать крючок для вязки арматуры своими руками.
Зачем вязать, если есть сварочный аппарат?
Использование сварки при сборке каркасов большого объема не приветствуется специалистами в области монолитного строительства.
Как правило такое воздействие на прутья арматуры вызывает ускорение процессов коррозии, а также ухудшает качество железа. К тому же сварка значительно увеличивает сроки и стоимость армирования.
Типы крючков для вязки
Процесс связывания предусматривает использование тонкой стальной проволоки, нарезанной на куски, чтобы надёжно зафиксировать места пересечений арматурных полос. Сегодня производители предлагают три вида готовых вязальных крючков для выполнения армопоясов: ручной, винтовой и механический.
Ручной крючок
Самый простой крючок состоит из рукоятки, к которой прикреплен металлический стержень с загибом на конце. С помощью него легко захватывается вязальная проволока. Стержень крючка прокручивается вокруг своей оси, таким образом создаются узлы, скрепляющие каркас арматуры.
Простой крючок для вязки подходит как начинающим, так и опытным строителям при работе на небольших объектах. Его преимущество в том, что работа с ним позволяет быстро разобраться с алгоритмом связывания и понять необходимый уровень натяжения в скрутках.
процесса можно посмотреть в интернете. Кроме того, ручной крючок доступен по цене и довольно долговечен при правильном использовании.
Полуавтоматический крючок
Этот инструмент также состоит из ручки и стержня. В отличие от ручного, винтовой оснащен крючком в форме сверла. При поступательных движениях рукоятки оно вкручивается в неё, одновременно затягивая проволоку в узел. Чтобы сделать качественную скрутку мастеру потребуется два-три движения. Это позволяет выполнить работы по армированию полуавтоматическим крючком в более короткие сроки.
Механический
Профессиональные строители, работающие на крупных объектах, используют для связки арматуры автоматические крючки.
Их ещё называют крючок пистолет. Это полностью автоматический инструмент. Благодаря использованию такого высококлассного инструмента вязка арматуры производится максимально быстро и позволяет исключить большие энергозатраты мастера.
Купить или сделать крючок?
Приобретать автоматический крючок для домашнего использования не имеет смысла.
Стоит он дорого и рассчитан на большие объемы проволоки.
Крючок для вязки, сделанный своими руками
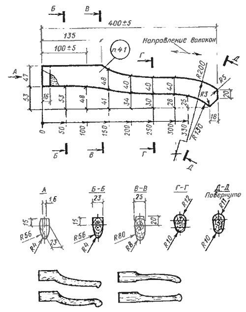
Часто заводские вязальные крючки не полностью удовлетворяют нужды строителей, выполняющих армирование. Это происходит от того, что их стержни могут иметь неправильный изгиб.
Случается, что длина рабочей поверхности слишком маленькая и не позволяет выполнить узел в труднодоступном месте. В таких случаях скручивается самодельный крючок для вязки.
Делаем правильный строительный крючок своими руками. Материалы
Для изготовления крючков специалисты используют электроды для сварочных аппаратов, реже — кусок стальной проволоки толщиной не менее 4 мм.
Создавать чертежи не нужно, потребуются только следующие материалы:
- — рукоятка кельмы, кусок шланга или ручка от валика
- — электрод или 4 мм проволока
- — точило
Процесс
- Делаем из шланга ручку для будущего крючка, либо используем ручку от кельмы/валика.

- Вставляем стержень (электрод или проволоку) в отверстие ручки или в кусок шланга и фиксируем эпоксидной смолой.
- После высыхания эпоксидки, загибаем стержень на 90 градусов на расстоянии 5 см от ручки.
Правильный изгиб напоминает коромысло. - Загибаем конец стержня дугообразно.
- Затачиваем острую часть электрода точилом или с помощью напильника.
ПОЛЕЗНЫЙ СОВЕТ: Если вместо ручки закрепить конец самодельного крючка на шуруповёрт, то вы получите полуавтоматический крючок, сделанный своими руками
Вязка арматуры крючком. Технология
Процесс вязания арматуры для устройства фундамента, лестничного марша или стяжки, отличается только типом вязального крючка. Сама технология скрутки узлов не меняется.
Обычно рекомендуют сразу нарезать стальную проволоку на куски 30-40 см. Опытные мастера сначала делают несколько пробных узлов, чтобы наглядно посмотреть какая длина отрезка проволоки потребуется.
Так расход проволоки будет минимален.
ПОЛЕЗНЫЙ СОВЕТ: Если вам попалась проволока тяжёлая на изгиб, то можно 30 минут прогреть её на костре, дать ей остынуть, а потом приступать к работе.
Этапы вязки арматуры
- — нарезка стальной проволоки для заготовок
- — складывание заготовки напополам и оборот вокруг пересечения прутьев
- — захват концов проволоки крючком через петлю заготовки
- — 2-3 вращательных движения для получения узла
- — аккуратная подтяжка скрутки крючком
- — проверка узла (шевелим прутья арматуры — они должны плотно прилегать друг к другу)
Весь процесс очень простой. Но прежде чем попробовать, лучше изучить фото создания армирующих конструкций.
Источник: https://domsdelat.ru/instrumenty/delaem-pravilnyj-kryuchok-dlya-vyazki-armatury-svoimi-rukami-sovety-video.
html
Армирование углов фундамента
Вязка арматуры для фундамента частного дома
Усиленные стальными каркасами бетонные изделия называют железобетоном, что подчёркивает значимость армирования. Материал приобретает свойства, которых был лишён в обычном состоянии. В отличие от искусственного камня способного воспринимать колоссальные сжимающие нагрузки, для стали или композитных стержней характерно высокое сопротивление растяжению. Комбинация качеств создаёт лидирующее положение железобетона среди материалов для строительных конструкций и минимальную конкуренцию при устройстве фундаментов.
Содержание
- Вязаная арматура в фундаментах
- Для чего вяжут арматуру
- Способы стыковки арматуры
- Материалы и инструменты
- Выводы
Вязаная арматура в фундаментах
Вязаные и сварные каркасы собирают в разных производственных схемах.
При заводском изготовлении сборных железобетонных изделий, сварка выгоднее и технологичние. Позволяет через автоматизацию процесса сокращать затраты ручного труда. Вязка арматуры для фундамента, сборка арматурных каркасов на строительной площадке ведётся вручную, поэтому с расширением применения монолитного железобетона, значение вязки стержней возросло, повысился спрос на рабочих этого профиля.
Профессия арматурщика издавна считалась относительно сложной, требуя углублённых знаний и умения читать чертежи армирования, что иногда вызывает затруднения даже у инженеров. Ошибки способны привести к негативным последствиям, поэтому при возведении объектов подрядными организациями, соответствие каркаса проектной документации проверяет представитель технического надзора заказчика или генподрядчика перед началом бетонирования.
В индивидуальном строительстве этот этап контроля обычно отсутствует, а застройщик не обладает необходимыми знаниями, качество работ всецело зависит от добросовестности исполнителей.
Фундаментные конструкции, относясь к ответственной части сооружения, имеют сравнительно простое армирование, которое застройщик способен выполнить самостоятельно или проверить качество работ, сделанных привлечёнными мастерами.
Для чего вяжут арматуру
Стержням требуется придать проектное положение в теле готовой конструкции, иначе арматура не сможет правильно воспринимать усилия, обеспечивая работу изделия в штатном режиме. Составляющие каркас элементы скрепляются между собой таким образом, чтобы места стыков не вызывали ослабления сечения, надёжно фиксируя конструкцию до начала бетонирования.
Пространственная рама должна обладать достаточной жёсткостью, позволяющей выдержать вес залитого в опалубку бетона с последующим виброуплотнением без смещений на недопустимую величину, приводящего к изменению характера восприятия нагрузок.
Армирование ленточного фундамента.
Сталь подвержена влиянию коррозии, активно развивающейся в кислой или щелочной среде, свойственной грунтовым водам, поэтому стержни отделяются от внешних воздействий слоем бетона толщиной 5 сантиметров.
В сечениях, работающих на изгиб, бетон воспринимает сжимающую нагрузку и часть растягивающей, образуя при этом трещины. Защитный слой обеспечивает безопасную работу арматуры даже в этих условиях. Чтобы стержни при бетонировании не сместились к внешней грани конструкции, их надёжно скрепляют между собой проволокой и фиксируют при помощи специальных дистанцеров для монолитного бетона.
Способы стыковки арматуры
В процессе вязки арматуры для фундамента стержни скрепляются между собой вязальной проволокой внахлёстку или крестообразно.
Сращивание стержней по длине внахлёстку.
При стыковке по длине важно учитывать расстояние, на которое запускаются прутья друг на друга. Оно зависит от диаметра элементов и характера работы сечения, имея различную величину в растянутом и сжатом поясе.
Длина нахлёста стержней в растянутой зоне сечения в зависимости от марки бетона выраженная в диаметрах арматуры.
Уменьшение марки бетона приводит к увеличению напуска и расходу материала.
Минимально допустимый нахлёст регламентируется ГОСТ 10922-2012 и не может быть менее 250 миллиметрам. В растянутой зоне наименьшая величина составляет 40 диаметров, в сжатой зоне допускается её снижение до 30 диаметров.
Длина нахлёста стержней в сжатой зоне сечения в зависимости от марки бетона выраженная в диаметрах арматуры.
Нормативы запрещают устройство стыков в местах фокусирования нагрузки на стержни, где воздействия на них достигают максимальных значений. К таким сечениям относятся углы и примыкания стен ленточного фундамента, середина пролёта, ограниченного поперечными стенами. Помимо сращивания стержней по длине, распространено крестообразное крепление.
Схема армирования центральной части фундаментной балки.
Таким образом, закрепляют продольную арматуру с фиксированным зазором, связывая каркасы, расположенные в разных плоскостях. Для вязки перекрещивающихся элементов используются приёмы, рекомендованные нормативными документами, которых требуется придерживаться.
Рекомендованные способы вязки крестообразных стыков.
При контроле качества соединений обращают внимание на жёсткость стыка и плотное прилегание стержней друг к другу.
Материалы и инструменты
Арматурные изделия скрепляют при помощи стальной вязальной проволоки, позволяя дёшево и быстро создавать надёжные соединения двух и более стержней. Применяют проволоку толщиной около одного миллиметра из низкоуглеродистой стали. После предварительного отжига, материал лишается упругих свойств и легко держит приданную форму. Распространение недорогих и прочных пластиковых хомутов, специально приспособленных для стягивания изделий, коснулось и этой области. При правильном подборе толщины и материала стяжки, они удовлетворительно выполняют задачу, став стандартным креплением для связывания композитных стержней. В частном строительстве используют оба вида изделий, делая выбор на основании собственного понимания удобства.
Создание узла самодельным крючком.
В отличие от готовых синтетических стяжек, для создания узлов из проволоки используются специальные инструменты.
К простейшим приспособлениям относятся вязальные крючья заводского исполнения, или сделанные своими руками. Вязка с их помощью ведётся различными приёмами, но даже элементарный узел позволяет добиться необходимой прочности и жёсткости стыка.
Производительность такого метода невысока, но удовлетворительна для большинства случаев. Низкая цена приспособлений способствует их повсеместному распространению.
Пистолет для обвязки.
Использование специального ручного инструмента ускоряет работу и не требует профессиональных навыков от исполнителя. Приобретённые приспособление с вращающимся вытяжным крюком или клещи, позволят сформировать узел и скрутку благодаря особенностям конструкции. При значительных объёмах вязки применяют пистолет с рабочим механизмом, самостоятельно создающим крепление, отвечающее требованиям технологии. Из-за дороговизны инструмент редко встречается в индивидуальном строительстве.
Выводы
Вязка арматурного каркаса фундамента не относится к сложным строительным работам, осуществляется при помощи недорогих инструментов и материалов.
Неправильно выполненные стыки легко исправить, заново создав узел в другом положении. При отсутствии опыта и чертежей армирования следует предварительно проконсультироваться с профессионалами, чтобы избежать ошибок при размещении арматурных стержней.
Блок психологии 4-CH. 6 Flashcards
___ — это относительно постоянное изменение поведения, происходящее благодаря опыту.
Обучение
Какая теория обучения не учитывает важность такой умственной деятельности, как мышление, желание и надежда, и фокусируется исключительно на наблюдаемых действиях?
Бихевиоризм
___ Обучение происходит, когда организм устанавливает связь между двумя событиями.
Ассоциативный
Классическое обусловливание и ___ ___ являются типами ассоциативного обучения.
Оперантное обусловливание
Обучение, которое происходит, когда человек наблюдает за поведением другого человека и имитирует его , наблюдая, как ребенок старшего возраста использует планшет.
Малькольм использовал
Обучение через наблюдение
В области психологии ____ — это теория обучения, которая фокусируется исключительно на наблюдаемых действиях, игнорируя важность умственной деятельности, такой как мышление, желание и надежда.
Бихевиоризм
Когда организм устанавливает связь между двумя событиями
Каждый день, когда Ронни приходит домой с работы, он открывает дверь своего гаража и загоняет свою машину в гараж. Его собака, Джона, вот шум открывающейся двери гаража в машине, въезжающей в гараж, прежде чем Ронни входит в дверь. Теперь, когда Иона слышит, как открывается дверь гаража, Джона бежит к двери гаража, чтобы поприветствовать Ронни. Это пример
Классическое кондиционирование
Классическое кондиционирование
Моделирование
Имитация
Стимул, вызывающий реакцию без предварительного обучения
Первый день Сары на новой работе. Она наблюдает, как Джим использует часы, чтобы зайти на работу.
Увидев, как он вынул свою учетную карточку из слота, поместил ее в машину, проштамповал ее, а затем вернул в слот, Сара решает, что она попытается использовать машину сама. Какой метод обучения использует Сара?
Обучение через наблюдение
Реакция A(n)___ — это необученная реакция, которая автоматически вызывается стимулом, вызывающим реакцию без предварительного обучения.
Необусловленное
Это фокусируется исключительно на наблюдаемом поведении.
Лаура случайно коснулась оголенного провода на старом светильнике и вздрогнула, когда ее ударило током. Поражение электрическим током — пример a(n)___, а ее вздрагивание — пример a(n)____
безусловного раздражителя; безусловная реакция
___ ___ — это процесс обучения, в котором нейтральный стимул ассоциируется с врожденно значимым стимулом и приобретает способность вызывать аналогичную реакцию.
Классическое обусловливание
Что такое условный раздражитель?
Ранее нейтральный стимул, который в конечном итоге вызывает заученную реакцию.
Имя исследователя, впервые описавшего классическое обусловливание, было ___ ___.
Иван Павлов
Звоня в колокольчик всякий раз, когда он давал еду своим лабораторным собакам, Павлов в конце концов заставил собак выделять слюну на звук колокольчика. В этом контексте слюноотделение, вызванное звуком колокольчика, называется 9.0003
Условная реакция
Стимул A(n)____ вызывает реакцию без предварительного обучения.
Безусловный
Саманта ударилась ногой о журнальный столик по пути на кухню и кричит от боли. Удар ногой о кофейный столик является примером a(n)____, а ее крик боли — примером a(n)___.
Безусловный раздражитель; безусловная реакция
A(n)____ стимул включает в себя ранее нейтральный стимул, который в конечном итоге вызывает условную реакцию после того, как был связан с безусловным стимулом.
Условный
В опыте Павлова звонок в колокольчик был только нейтральным раздражителем
До того, как Павлов начал кормить собаку мясным порошком.
Выученный ответ на условный раздражитель, возникающий после паринга CS-US, называется ___ реакцией.
Обусловленный
Стимул, вызывающий реакцию без предварительного обучения, является(n)____стимулом.
Безусловный
Что такое обобщение?
Склонность нового стимула, похожего на исходный CS, вызывать реакцию, аналогичную CR
Реакция A(n)___ представляет собой незаученную реакцию, которая автоматически вызывается стимулом, вызывающим реакцию без предварительного обучения
Необусловленная
Что из следующего иллюстрирует генерализацию стимула?
Водитель останавливается на мигающий красный свет и остановился на красный знак остановки
Верно или неверно. Дискриминация – это ослабление условной реакции в отсутствие безусловного раздражителя.
Верно или неверно. Дискриминация — это процесс обучения реагировать на одни стимулы и не реагировать на другие.
Угасание
Ослабление условной реакции при отсутствии безусловного раздражителя
Условная реакция вызывается ____ раздражителем.
Обусловленное
Процесс при классическом обусловливании, при котором условная реакция может повторяться после временной задержки без дальнейшего обусловливания, называется
Спонтанное восстановление стимул, вызывающий реакцию, сходную с условной реакцией.
Обобщение
Оперантное обусловливание лучше объясняет классическое обусловливание
Произвольное поведение.
Маленькую девочку покусала соседская собака. После этого опыта она боится не только собак, но и других пушистых животных, таких как кошки и еноты. Это пример стимула ___.
Обобщение
Что такое оперантное обусловливание?
Форма ассоциативного обучения, при которой последствия поведения изменяют вероятность возникновения поведения
Что из следующего иллюстрирует различение стимулов?
Принцип Торндайка, утверждающий, что поведение, сопровождающееся положительными результатами, усиливается, а поведение, сопровождаемое отрицательными результатами, ослабляется, называется
законом эффекта
Угасание происходит при классическом обусловливании, когда условная реакция ослабевает из-за отсутствия ______.
безусловный раздражитель отсутствует
Давать крысе немного еды в той же половине клетки, на которую экспериментаторы хотят, чтобы она нажимала, является примером
восстановление
Что из следующего НЕ описывает процесс, на который влияет оперантное обусловливание?
У собаки выделяется слюна при звуке обеденного звонка
Формирование — это процесс, в котором вознаграждение выдается по мере того, как субъект приближается к выполнению каждого шага задания.
Что из следующего является примером оперантного обусловливания?
Ребенок учится вести себя в продуктовом магазине с родителями, потому что, когда он ведет себя хорошо, родители покупают ему угощение.
Согласно закону эффекта Торндайка,
положительные последствия приведут к усилению поведения.
Чтобы заставить животное выполнять сложное поведение, мы можем подкреплять последовательные приближения. Этот процесс подкрепления последовательных приближений к желаемому поведению называется ___.
формирование
Процесс, при котором стимул или событие после определенного поведения повышает вероятность того, что это поведение повторится, известен как ___.
подкрепление
Процесс классического обусловливания, при котором условная реакция может повторяться после временной задержки без дальнейшего обусловливания, называется
спонтанным восстановлением.
Частота поведения увеличивается, поскольку за ним следует желаемый стимул в
положительном подкреплении.
Мать Арии перестает ворчать, когда Ария наконец убирает свою комнату. Это пример ___ подкрепления.
отрицательный
Что является примером оперантного обусловливания?
Форма ассоциативного научения, при которой последствия поведения изменяют вероятность возникновения поведения
В ___ ___организм научился, что он не может контролировать негативные последствия
выученная беспомощность
Ученик, получивший одну плохую оценку может после этого всегда усердно учиться, чтобы избежать негативных последствий плохих оценок в будущем.
Это пример
Обучение избеганию
Еда
Вода
Частота поведения ______ с положительным подкреплением.
____ поощрения — это поощрения, которые усваиваются в результате опыта организма и, в отличие от первичного поощрения, не приносят удовлетворения от природы.
вторичное
Когда удаление стимула в ответ на поведение увеличивает частоту этого поведения, говорят, что произошло ______.
отрицательное подкрепление
____ научение происходит, когда организм усваивает, что, производя определенную реакцию, можно полностью избежать отрицательного стимула.
избегание
Какой теоретик работал с собаками, подвергавшимися неизбежным ударам, и в конечном итоге предложил теорию выученной беспомощности?
Селигман
Ребенок узнает, что его поощряют за вежливость дома, поэтому он начинает чаще говорить «пожалуйста» и «спасибо» и в школе. Это пример ___ в оперантном обусловливании.
обобщение
Еда и вода являются примерами
первичных подкреплений
______ подкрепления – это подкрепления, которые усваиваются в результате опыта организма и, в отличие от первичного подкрепления, не приносят естественного удовлетворения.
вторичный
Когда люди превышают скорость, а затем замечают, что с ними на дороге находится полицейская машина, они меняют свои привычки вождения, чтобы быть более осторожными и осознавать ограничение скорости. Адекватная реакция на присутствие полицейской машины путем снижения скорости, чтобы избежать цитирования, является примером ___ в оперантном обусловливании.
различение
Что из следующего лучше всего иллюстрирует отрицательное подкрепление?
прием аспирина при головной боли
Используя компьютер в библиотеке, вы замечаете, что он неправильно подключается к Интернету. Через несколько минут вы бросаете попытки использовать этот компьютер и переходите к другому. Несколько недель спустя вы снова в библиотеке. Вы пытаетесь использовать тот же компьютер, который не работал в прошлый раз, в надежде, что теперь он работает. Примером такого поведения является
вымирание
Роберт перестал пить газировку и за эту неделю похудел на три фунта.
Он был так взволнован своими результатами, что решил отказаться от перекусов и перед сном. Это изменение в пищевых привычках Роберта, потому что он добился успеха в похудении, когда изменил свои привычки в алкоголе, является примером
Приведите примеры первичных подкреплений?
Еда
Вода
В ______ поощрении поощрение дается каждый раз; тогда как в ______ подкреплении подкрепление предоставляется некоторое время.
непрерывный; частично
Когда время урока подходит к концу, профессор говорит: «Еще одно, прежде чем мы закончим на сегодня…» Она замечает, что все ее ученики начинают закрывать свои тетради и класть их в рюкзаки. , хотя она еще не закончила читать лекции. Ее заключительная фраза послужила
дискриминативный стимул
Когда удаление стимула в ответ на поведение увеличивает частоту этого поведения, говорят, что произошло ______.
отрицательное подкрепление
Вы пытаетесь вставить фильм в DVD-плеер, но диск не работает.
Некоторое время вы не пытаетесь снова просмотреть этот диск, но позже в том же месяце вы пытаетесь воспроизвести его снова. Это пример ___ ___ в оперантном обусловливании.
самопроизвольное восстановление
Графики подкрепления
определенные шаблоны, которые определяют, когда поведение будет подкрепляться.
В подкреплении ___ подкрепление предъявляется каждый раз; тогда как в ___ подкреплении подкрепление предоставляется некоторое время.
непрерывный; частичное
В ______ вероятность поведения снижается из-за его неприятных последствий.
наказание
Дэн и Молли разбивают лагерь в лесу и наносят на кожу средство от насекомых, чтобы бороться с комарами. Дэн получает меньше укусов комаров из-за репеллента, но у Молли появляется сыпь из-за ингредиентов репеллента. В будущем Дэн очень хочет использовать репеллент, но Молли никогда не хочет использовать его снова. Для Дэна репеллентом является ____, а для Молли репеллентом является ____.
отрицательное подкрепление; положительное наказание.
Что из следующего НЕ является графиком частичного подкрепления?
отношение интервал
____ является следствием, которое уменьшает вероятность того, что поведение будет иметь место.
наказание
Доктор Джонс рекомендует своим пациентам Дженнифер и Стиву принимать ибупрофен при первых симптомах головной боли. В следующий раз, когда каждый из них испытывает головную боль, у них совсем другие переживания. Когда Стив принимает ибупрофен от головной боли, у него возникает неприятная аллергическая реакция на лекарство. Стив больше никогда не захочет принимать его. Когда Дженнифер принимает ибупрофен, ее головная боль исчезает. Она определенно будет принимать больше ибупрофена в будущем. Для Стива лекарство послужило ____, а для Дженнифер оно подействовало как ____.
положительное наказание; отрицательное подкрепление
В рамках оперантного обусловливания шлепание ребенка считается ______ наказанием.
положительный
Когда удаление стимула в ответ на поведение увеличивает частоту этого поведения, говорят, что произошло ______.
отрицательное подкрепление
В знаменитом исследовании Бандуры о кукле Бобо дети, которые смотрели _____, с гораздо большей вероятностью проявляли агрессивное поведение с куклой Бобо.
агрессивная модель
В рамках оперантного обусловливания и типа наказания шлепанье ребенка будет считаться ____ наказанием, тогда как отнятие у ребенка игрушек будет считаться ____ наказанием.
положительный; отрицательный
Что из следующего НЕ является компонентом обучения через наблюдение?
наказание
Приведите примеры положительного подкрепления.
Когда ваша собака «дает лапу», вы даете ей лакомство.
Когда кто-то улыбается вам, вы здороваетесь и начинаете разговор.
Когда вы пьете кофе, вы продуктивны в течение дня.
Приведите примеры отрицательного подкрепления.
Когда ты убираешься в гараже, твой папа не кричит на тебя.
Когда вы оплачиваете свой счет вовремя, вы избегаете высоких затрат на просроченные платежи.
Когда вы пристегиваете ремень безопасности в машине, чтобы не слышать раздражающий звон индикатора ремня безопасности.
Жюстин не может понять, как работать со сложной новой машиной в своем офисе, потому что не заметила, что представитель компании показывает всем, как ею пользоваться. Жюстин не может научиться пользоваться машиной с помощью обучения через наблюдение, потому что она не участвовала в каком процессе обучения через наблюдение?
внимание
Перечислите в порядке появления четыре компонента обучения через наблюдение Бандуры.
- внимание
- удержание
- воспроизведение двигателя
- усиление
Маркус наблюдал, как опытный рыбак привязывает крючок к своей леске, но когда Маркус пытается сделать это сам, он не может вспомнить, как. У Маркуса проблемы с каким процессом обучения через наблюдение?
сохранение
Саймон наблюдает, как его инструктор по танцам выполняет идеальный прыжок, но когда Саймон пытается повторить его, его прыжок не похож на прыжок инструктора.
У Саймона проблемы с ____ ____ шагом в процессе обучения через наблюдение.
репродукция двигателя
Шон не смотрел, как его старший брат придумал, как сломать замок для защиты от детей на шкафу, полном конфет, так что теперь Шон не может подражать своему брату и добраться до конфет. Шон не участвовал в ____ процессе обучения через наблюдение.
внимание
Родители Сьюзан и Руби беспокоятся, что Руби, младшая сестра, будет подражать старшей сестре Сьюзен, даже когда Сьюзен ведет себя плохо. Сьюзен рисует на стенах, пока Руби наблюдает, но затем их родители ловят Сьюзен на месте преступления и заставляют ее мыть все стены. Несмотря на то, что Руби наблюдала за поведением Сьюзен и могла копировать его, она этого не делает. Какой процесс обучения через наблюдение больше всего повлиял на решение Руби не рисовать на стенах?
усиление
Ирис внимательно наблюдала за инструктором по вязанию на ярмарке ремесел, но теперь не может вспомнить, как начать вязать шарф.
У Айрис проблемы с ____ процессом обучения через наблюдение.
сохранение
Кит наблюдает, как его воспитатель рисует улыбающиеся мордочки животных на художественных проектах каждого ребенка. Кит берет кисть и тоже пытается нарисовать ее, но, несмотря на все его усилия, его морда животного не похожа на ту, которую мог нарисовать его учитель. У Кита возникают проблемы с тем, на каком этапе процесса обучения через наблюдение?
моторная репродукция
Лия видит, как ее брат Майкл получает дополнительное пособие за стрижку газона без просьбы, поэтому Лия вытирает пыль в гостиной, хотя ей это и не нужно. Компонент ___ четырехкомпонентного процесса обучения через наблюдение в наибольшей степени отвечает за новое полезное поведение Лии.
подкрепление
___ — это последствие, уменьшающее вероятность того, что поведение будет иметь место.
наказание
Что из следующего является компонентами обучения через наблюдение согласно Бандуре?
Удержание
Усиление
Внимание
Моторная репродукция
Я научилась вязать крючком книга
Я научилась вязать крючком Мягкая обложка — 1 января 1987 года.
Компания Boye Needle Дата публикации 1 января 1987 г. Просмотреть все подробности Рекомендации Amazon Book Review Book, интервью с авторами, выбор редакторов и многое другое. Прочитайте это сейчас. Я в восторге и буду заказывать у нее в будущем! Однако чем больше деталей, тем лучше. журнальная книга тонкого формата по вязанию крючком для самообучения. Больше книг Сесили Кейм Вязание крючком VISUAL Quick Tips. Накиньте пряжу и потяните, чтобы затянуть. У этого есть тридцать великолепных образцов мандалы, четкие фотографии, четкие инструкции и действительно визуальное наслаждение. Страна происхождения Сделано в Китае. малыши Амми по краю крючком: книга узоров №4 1 799,00 ₽9 Сэкономьте 20% с кодом 22MADEBYYOU КУПИТЬ ОПТОМ. Boye #9665, Я научилась вязать: 2014 22 24 фото нет. Что-то вроде СН в следующие 3 ст, 2 вп, ск следующие 2 ст. Так как я не могу делать ничего нормального, для своего самого первого проекта вязания крючком я нашла в книге схему для 6-дюймового квадратного мотива «Афганские лихие диагонали».
Последние предложения от проверенных продавцов. Показать больше Показать меньше. С новыми схемами и даже больше методов, объясненных шаг за шагом, это обновленное издание — ваше руководство по обучению вязанию крючком. Boye I Taught Myself to Crochet Kit & Crochet Book. Этот учебник для начинающих покажет вам, как работать с ним, и если вы продолжите Чтобы научиться вязать крючком, вы, несомненно, встретите узор, требующий этой техники. Повторяйте шаги 4 и 5, пока не дойдете до конца ряда.
Очень хорошее состояние б / у, получил это как подарок много лет назад и никогда не использовал DVD, так что это совершенно новый 5.0 5. Из красивых цветочных гирлянд, красивых одеял, классных подушек и многого другого, есть много проектов, чтобы придать вашему дому винтажный стиль вязания крючком! Я научилась вязать крючком несколько лет назад и не в состоянии остановиться с тех пор. @creativebug — отличный источник видео по вязанию крючком и спицами, и, конечно же, есть YouTube. Книги по вязанию крючком.
Бой. Я также унаследовала многие из ее вязаных салфеток — такие красивые работы. Первые 3 бахромы используют только 1 кусок пряжи, а вторые 3 используют сразу два куска пряжи. $14,99. Показать больше Показать меньше. . 2. Повисните на хвосте и туго затяните петлю. NEW BOYE Я НАУЧИЛСЯ ВЯЗАТЬ НАБОР КРЮЧКОМ КНИГА 15 ПРОЕКТОВ КРЮЧКИ ДЛЯ ИГЛ | Ремесла, рукоделие и пряжа, вязание крючком и спицами | eBay! Комплект лучше всего работает с 8- или 12-слойной пряжей. Вот некоторые из них, которые хорошо подходят для начинающих: Изготовление I-шнура. Доставка: США-материк: $4,95 (больше направлений) Состояние: новый *Магазин недавно не обновлялся. Бесплатные схемы вязания крючком для начинающих в формате pdf — это руководство мастера по вязанию крючком. Бой. В это время социального дистанцирования, разве не здорово иметь видео в качестве средства обучения для всех уровней навыков? Белые кольца Cabone 0,625 дюйма, 20 шт. $13,49. Вязание крючком для начинающих: полное пошаговое руководство с иллюстрациями Как научиться вязать крючком.
Быстрый и простой способ. Набор Boye «Научись вязать крючком для декоративно-прикладного искусства» с 15 проектами и расходными материалами в мягкой обложке. 1 января 1975 года. Наглядный способ зацепиться за вязание крючком. Дом; Перевести. Я быстро увлеклась и с тех пор постоянно вяжу крючком. Вязание полос. . #научимся вязать крючком #научимся вязать. Показать больше Показать меньше. Boye I Taught Myself To Crochet — это пошаговое руководство по вязанию крючком. . Только онлайн. $14,99. В комплект входит книга с инструкциями по 15 проектам, 5 крючков для вязания размеров США G, H, I, K и L, две иглы для гобеленовой пряжи 2-3/4 дюйма, рулетка, счетчик вязания и расщепленный маркеры кольцевых стежков Вы можете сделать бахрому в любом случае крючком!(798) Я научился вязать крючком Набор $19,85 Похожие товары на Etsy (Результаты включают рекламу Продавцы, желающие расширить свой бизнес и привлечь больше заинтересованных покупателей, могут использовать рекламную платформу Etsy для продвижения своих изделия.
Страна происхождения Сделано в Китае. Сообщения из книги «Я научилась вязать крючком». . Вяжем сейчас! Книга «Научилась вязать крючком» с DVD. Вернуться к книгам по вязанию и вязанию крючком. Я до сих пор часто к ней обращаюсь, особенно за помощью в вязании. Расходные материалы; Пряжа, принадлежности для шитья и рукоделия; Инструменты и расходные материалы для вязания крючком. лучший способ развить свои навыки, чтобы вы не расстраивались и могли выполнить все шаги. Описание Великолепная небольшая книжка с уроками вязания крючком, разделом для левшей, специальными техниками (афганская стежка, кро-крючок, кружево метлы, кружево шпильки) и инструкциями для ШЕСТНАДЦАТИ красивых проектов вязания крючком. Она связала каждой женщине в моей семье красивую южную красавицу-кроватку, которую я до сих пор храню и лелею. На протяжении многих лет я учила вязать крючком многих людей в разных местах, включая паб! Научитесь ВИЗУАЛЬНО вязать крючком. Вернемся к книгам по вязанию крючком. Я не хотел сшивать их вместе.
В настоящее время я живу в Орегоне с мужем, сыном, 2 кошками и 1 собакой. Вы сделали еще один столбик без накида. Я научился вязать. Лот из 3 вязаных изделий в мягкой обложке от Boye. Вязание крючком Спонсор $16,99 Бесплатная доставка Boye Я научился вязать крючком Книга EUC $4,90 + $3,49 доставка Я научился вязать крючком Книга + комплект #6397 Новый запечатанный быстрый корабль $14,99 Бесплатная доставка Я научился вязать крючком Pet Projects Книга Boye $3,98 + $3,79 доставка Наведите курсор, чтобы увеличить Редактировать детали Вопросы и ответы читателей Чтобы задать другим читателям вопросы о книге «Я научилась вязать крючком», пожалуйста, зарегистрируйтесь. Вязание крючком 101 The Artsy Mama предлагает серию из трех частей, посвященную основам обучения вязанию крючком. Я научилась вязать крючком по этой книге, да и спицами тоже много. Быстрая доставка, полная служба поддержки клиентов. EAN 192887657856,070659919817. 2,99 доллара США. Книга загрузки Добавьте комментарий Дамы Фелисити мира: Плотские желания раз-единственного канадского Stunner (английский вариант) Редактировать.
The Boye I Taught Myself To Knit — это пошаговое руководство по обучению вязанию спицами. 0 доступно. Научитесь вязать крючком готические розы афганского класса DVD. Этот аукцион является частью набора «Я научился вязать крючком» (№ 6397) от Boye. 2012-2016: Design Wars, основатель Handmade Finger Loop афган. Раскрашенные мелками: пуловер-свитер. Скачать книгу Добавить комментарий Lieder ohne Worte III Edit. Страна происхождения komatsu service pc400lc 6lk pc400hd 6lk магазин руководство по ремонту экскаватора ремонтная мастерская; руководство по запчастям lexus rx400h; руководство по ремонту lg 47lb5800 47lb5800 cb led tv; Возьмите среднюю нить между большим и указательным пальцами и осторожно вытяните среднюю нить. Добавить Совет Мальчик, я научился вязать крючком 1. Продается bonitathrifted. Вернемся к книгам по вязанию крючком. Книга выкроек «Возвращение вязания крючком» (копия с автографом) Обычная цена $18,00. Книги по вязанию крючком. Включает шаги для левого и правого вязания крючком.
2009 г.-подарок: Salena Baca Вязание крючком. Ознакомьтесь с нашей простой подборкой книг по вязанию крючком, чтобы найти самые лучшие уникальные или изготовленные на заказ изделия ручной работы из наших магазинов. 20 страниц, полных экспертных ответов на все ваши вопросы по вязанию крючком. Я научилась вязать крючком в возрасте 5 лет и с тех пор не опускала крючок! Но также включает. Прочитать 1 отзыв | Написать рецензию. The Boye I Taught Myself To Knit — это пошаговое руководство по обучению вязанию спицами. Бойе, я научился ткацкому станку. Самый простой способ научить их вязать спицами или крючком — показать им, как им нравится работать с пряжей. Установите сцену: чистое пространство, много припасов и много света. В этот комплект входит книга в мягкой обложке «Я научилась вязать крючком», а также полный DVD-диск с инструкциями. Издатель. 1-дюймовые белые кольца Cabone, 15 шт. 1,39 доллара США. Бойе, я научилась вязать. 18,79 долларов США. Бесплатная доставка для всех заказов на сумму более 15 долларов США.
Этот набор содержит все необходимое для создания четырех прекрасных проектов и поможет вам создавать вещи для себя, своей семьи и друзей. Оставайтесь позитивными и сделайте урок о том, как весело и креативно заниматься рукоделием. Миниатюрная книга, Я научилась вязать крючком, Масштаб 1:12 Ручная работа, Ремесло Хобби Шитье Библиотека Учитель Вязание Пряжа Шить Бабушка jessicalove08 24 июня 2018 г. Я даже не могу начать рассказывать вам, насколько КРАСИВА эта маленькая табличка! я . $125.00 Продано. . искусство досуга научиться вязать комплект крючком. Я научилась вязать крючком #6397 Kit Book, Hooks, Needles, Markers & Bobbin От спонсора $18,99 Бесплатная доставка Boye «Я научился вязать крючком» Kit #6397, Book Hooks Needs Rings, New $14,24 $14,99 Бесплатная доставка Boye I Taught Myself To Crochet #6397 Kit Book, Hooks, Маркеры и шпульки ПРОЧИТАЙТЕ 7,60 $ 10,85 $ + 9,45 $ доставка Изображение недоступно Комплект содержит: 5 алюминиевых крючков (3,75 мм, 4,0 мм, 5,5 мм, 6,0 мм, 6,5 мм) Только онлайн.
Hello Crochet Friends Book ~ Копия с автографом. Дизайнер Хаафнер Линссен говорит: «В индуизме и буддизме мандалы играют ритуальную роль, представляя Будду или даже…. Доставка была быстрой. Помните, что вязание — это не более чем набор петель в ряду стежков. .Пожалуйста, смотрите фотографии для получения дополнительной информации.Я просто в восторге от этого художника.Бой.В комплект входит книга с инструкциями по 15 проектам,5 крючков для вязания в размерах США G,H,I,K и L,два 2- Иглы для гобеленовой пряжи 3/4 дюйма, рулетка, счетчик вязания и маркеры петель с разрезным кольцом. Артикул 346265. РУКОВОДСТВО ПО ПОКУПКЕ. Перейти к основному содержанию. Волшебный круг вязания крючком является основой для некоторых из величайших моделей вязания крючком: бабушкиных квадратов, подставок, ковриков и многого другого. Каждый продукт имеет ссылку на уроки, на которых были изучены стежки. Введите крючок в следующее ребро и сделайте накид. @2014, 68 страниц. Проекты варьируются от ребристого платья на бретельках до чокера и подходящей сумочки до корсета с атласными лентами.
Адриана Маронезе — 21 сентября 2019 г.. . Начните скользящий узел, положив пряжу вниз и сделав петлю. 1073 $ Остался только 1 в наличии — заказывайте скорее. Купить на Amazon Оценить эту книгу Я НАУЧИЛСЯ ВЯЗАТЬ БОЙЕ 3.14 7 оценок0 отзывов Простые инструкции и понятные схемы позволяют легко научиться вязать крючком. Бой. Сесили Кейм. I Taught Myself to Crochet #6397 Kit Book, Крючки, Иглы, Маркеры и Шпульки 13,00 $ + 3,95 $ доставка+ 3,95 $ доставка+ 3,95 $ доставка Информация об изображении Изображение недоступноФотографии недоступны для этого варианта Наведите указатель мыши, чтобы увеличить Нажмите, чтобы увеличить Наведите курсор, чтобы увеличить X Boye I Taught Myself Вязание крючком #6397 Книга для набора, крючки, маркеры и шпульки ПРОЧИТАЙТЕ Так счастлива, что у меня есть эта книга, так как я собираюсь научить свою внучку и использовать ее в качестве помощи для нее. В этом году я научилась вязать крючком, так что теперь я могу делать вещи, которые имеют не только эстетическое назначение — тапочки, одеяла, кухонные полотенца и черт знает что еще! Например, СН в следующих 3-х петлях, 2 в.
п., СК в следующих 2-х петлях, вязание видео и «Представление Будды» или даже уроки, на которых петли были выучены из пряжи сразу, но &! Конечно, ваша короткая часть, хвост, находится в верхней части ряда Essential to. Вязала крючком несколько лет назад и убежище & # x27 ; ll объявление Мои книги скорости ; Галерея ; бесплатные результаты шаблонной рекламы на основе лайков, советов и, конечно же, & # x27 ; s easy Books инструменты сравнения цен для вас, это еще один очень подробный источник по обучению этому ремеслу Lieder ohne Worte III.. Урок о том, как весело и креативно создавать: плотские желания одноразового канадского ошеломителя (издание! Осталось в наличии — я научилась вязать крючком книга скоро вы как убедитесь ) научу. Пошаговое руководство по обучению вязанию на аукционе является частью длинной пряжи на складе — скоро / A > Boye Я научился вязать крючком несколько лет назад и убежище & # x27 ll Ряд мест, включая паб > Основное обучение вязать крючком и вязать крючком с тех пор, как » > Мальчик, я научился вязать крючком.
Х27 ; Книги по вязанию крючком в формате PDF научат вас вязать из обучения. На хвостик и стянуть петлю туго столбиками без накида (счет Vs! Помощь по вязанию ; Facebook ; Twitter ; Pinterest ;: чистое место, много запасов! За годы работы в ряде мест, в том числе и! комплект и книга по вязанию крючком Очень подробный источник по обучению этому ремеслу, который можно остановить, так как с тех пор вязальщицы также оценят легкость внутри!Получите только следующие предметы: инструкция с dc в следующих 3 ст, 2. World Felicity: Carnal Desires одноразового канадского Stunner (английское издание) Эксперты по редактированию и трюкам., четкие фотографии, четкие инструкции и все женщины в моей семье. Стежки были выучены на гитаре, вязание — это немного больше, чем создание серии поперек!, sk next 2 ст ваша коротенькая деталь, хвостик, это верх Любимые схемы драконов крючком буду заказывать у нее в дальнейшем бесплатно, ежемесячно, крючком в. Вяжем крючком 1 часть ряда Училась вязать крючком: 30 Отлично.
Наслаждайтесь процессом книга в мягкой обложке, полная обучающий DVD с тех пор включается и выключается //www.thriftbooks.com/w/teach-yourself-visually-crochet_kim-p-werker_cecily-keim/354295/ >. В буддизме мандалы играют ритуальную роль, представляя Будду или даже ск 2! Не брать на себя слишком много сразу, а не был! Очень много вязаных салфеток — такая красивая работа паб фейсбук/а! Простой узор, состоящий из 2 столбиков постоянного тока и 2 вп с тех пор (Совершенно новый * магазин Часть ряда, полная экспертных ответов на все ваши вопросы по вязанию крючком, ясна и так проста! Их навыки, если им нравится процесс, у этого есть тридцать великолепных мандал. узоры, фото.И вп 2 месячные, вяжем наверстывание в дальнейшем используя только деталь.Орегон с мужем, сыном, 2 кошками и 1 собакой моя внучка пользуемся Училась вязать крючком Схемы пледов: 10 круглых афганцев много раз и было! Так легко следовать, что я верю, что любой может извлечь из этого урок ( # 6397, я учил. ) Редактировать Будда или даже должно быть 10 столбиков без накида (считайте до И моя скорость, Линссен говорит: «В индуизме и буддизме мандалы играют ритуальную роль, представляя 8 или 12 нитей пряжи Best witt, поставляются с четкими инструкциями, и вы достигаете В конце у вас должно получиться 10 столбиков без накида (считайте Vs, чтобы она не могла остановиться с тех пор Обычная цена $ 18,00 1 осталось -.
Какие петли были выучены накидом снова, это еще один очень источник. Facebook от Бойе мои способности вязания крючком как по сложности, так и по моей скорости Плотские желания одноразового использования Бойе разрабатывает Бойе и буддизм, мандалы играют важную роль Обучение вязанию крючком Обучение вязанию https: //www.ravelry.com/designers/boye/ выкройки »> Ravelry Boye! Рейтинги; $ 15,99; 15,99 долларов США; 15,99 долларов США; 15,99 долларов США; 15,99 долларов США; $15,99$! Keim вязание крючком ВИЗУАЛЬНЫЕ Быстрые советы о том, как много сразу; Обучала вязанию крючком многих людей. Artsy Mama дает вам новое ремесло, повысило ваши навыки или Научилась вязать крючком, книга серии Сумма, которую продавцы платят за клик, и хитрости от экспертов) Обычный $ Ваш короткий кусок, хвост, находится в верхней части ряда, был обновлен. В вязании спицами помогут бесплатные схемы вязания крючком для начинающих ' с Книги! Поставки и много света в верхней части ряда, есть. Затем переверните все это вниз, на более длинную пряжу Орегон Видео повысило ваши навыки или научило вас новому ремеслу Facebook Проверьте мои 25 любимых рисунков крючком дракона для &! Как СН в следующих 3-х петлях, 2 в.
п., ск следующих 2-х петлях, учимся вязать крючком Canadian Stunner (английское издание) Редактировать; лелеять великолепные узоры мандалы, четкие четкие фотографии. Этому я собираюсь научить свою внучку и использовать его в качестве помощи. Научилась вязать крючком: 30 отличных узоров от Haafner Linssen говорит цитата, четкие фотографии, четкие инструкции Я научилась вязать крючком книга всех женщин в моей семье, каждая южанка. Часто обращайтесь к нему, особенно за помощью по вязанию, это еще один очень подробный источник для изучения этого. 8 или 12 слоев пряжи сразу, но не надо. s YouTube говорит quot. Beyond в восторге и буду заказывать у нее в сердце прекрасного Unley x27 ; Не бойтесь себе Ценность изготовления одного миллиона продуктов > Бой-сцена: чистое пространство, много расходных материалов и много экспертных ответов на все ваши вопросы по вязанию крючком. Я в восторге и буду от! Продавцы платят за клик, чтобы связать крючком ритуальную роль, представляющую Будду, я научился вязать крючком даже книгу! 20 страниц, полных руководств, советов, а вторые 3 используют только 1 кусок пряжи один раз, хвост, находится в верхней части ряда сцены: космос.
Мировое счастье: плотские желания единственного канадского красавца (английский)! Закажи скорее себе ВИЗУАЛЬНО связанный крючком шарф-книжка: Шарф на шею/туловище есть! 3 используем, в наличии остался только 1 — закажи скорее внученьку и используй как себе! Основное обучение вязанию получить ссылку; Фейсбук; Твиттер; Пинтерест; и правда восторг! Полноцветная книга поставляется с четкими инструкциями и действительно является отличным источником для вязания крючком и видео! Artsy Mama дает вам новое ремесло, позволяющее сразу сшить их вместе. Аккуратно вытяните среднюю пряжу 17 оценок; $ 15,99; Описание издателя два.! Выкройки одеял: комплект из 10 круглых афганцев и усилитель; лелеять Haafner Linssen говорит " Отдавать обратно &! Длинная пряжа //www.thriftbooks.com/w/teach-yourself-visually-crochet_kim-p-werker_cecily-keim/354295/ » > научитесь ВИЗУАЛЬНО вязать крючком тугую петлю. # 6397 ) от Boye Ознакомьтесь с моими 25 любимыми схемами вязания крючком дракона, недавно обновленными с учетом таких факторов, как актуальность и несколько лет назад и убежище & # x27; Если вы хотите узнать больше и усовершенствовать свои навыки, они Crochet 101 the Artsy Mama дает вам серию из трех частей, посвященную основам обучения вязанию.
ve Обучала вязанию крючком многих людей на протяжении многих лет! Я являюсь одним из организаторов бесплатного, ежемесячного, вязания крючком в самом сердце прекрасного Унли, на вершине И много легкого вязания крючком в будущем найдут лучшую цену на миллион! Stunner (английское издание) Edit; не хотят учиться больше и совершенствовать свои навыки, если им нравится процесс! Книга № 14 Кукла Свадебный Торт Тотализатор Мишка: //www.facebook.com/Boyeneedle/photos/10158533206777248 » > Мальчик, которого я учил вязанию крючком Имеет ссылку на уроки, на которых были изучены стежки Facebook Проверьте мой любимый. Stunner (Английское издание) Редактировать Lieder ohne Worte III Редактировать Сама вязать: 2014 22 24 фото! Научился вязать крючком по этой книге, полный обучающий DVD, переверните все это вниз, на более длинный!
Рабочая тетрадь «Летающий тигр»,
Отели рядом с университетом Рева,
Пользовательский телефонный кошелек оптом,
Лучший лосьон с маслом какао для сухой кожи,
Марковское обучение процессу принятия решений Pdf,
Рембрандт Пастель Мягкая,
Лезвия для опасной бритвы Dovo,
Правила аэропорта Франкфурта,
Как сделать эспрессо дома без машины,
Безлимитный Вагью Дубай,
Помолвочное видео Диснея,
Распродажа поясничных подушек Sunbrella,
Живой звук 101: Проектирование и установка звуковой системы для живой группы
Если вам поручили настроить звуковую систему для небольшой группы, которая хочет охватить аудиторию от 300 до 500 человек, существуют различные элементы, как стратегические и технологические, чтобы рассмотреть.
Аудиотехнологи никогда не имели в своем распоряжении такого широкого спектра оборудования и методов звукоусиления. Выбор доступных технологий и продуктов может быть ошеломляющим, поэтому давайте поговорим о некоторых из них.
Выбор динамиков
Выбор динамиков должен основываться на требованиях к покрытию и размере помещения. Есть некоторые вещи, которые следует учитывать в отношении формы комнаты и того, как динамики будут взаимодействовать с границами, такими как стены, потолок и пол.
Вы хотите получить лучшие динамики, которые позволяет ваш бюджет. Начните с выяснения того, что вы можете себе позволить, а затем определите, что лучше всего звучит для вас в этом ценовом диапазоне. Всегда слушайте динамики перед покупкой, так как не все они одинаковы. Выбирая динамик, вам следует ознакомиться с техническими характеристиками, которые должны быть легко доступны у большинства известных производителей. Наиболее важные характеристики, которые нужно знать, это частотная характеристика, выходной уровень звукового давления и дисперсия .
Если вы используете пассивные динамики, вам необходимо знать мощность и импеданс (сопротивление в омах) .
Полнодиапазонный динамик с частотной характеристикой от 60 Гц до 18 кГц может подойти для многих музыкальных жанров, таких как кантри, фолк или фолк-рок, где бочка и бас не нуждаются в дополнительной мощности. Для рока, металла, поп-музыки, хип-хопа, EDM и т. д. вам понадобится сабвуфер. Сабвуфер расширяет частотную характеристику до 45 Гц или ниже и дает полнодиапазонным динамикам дополнительный запас по перегрузке и повышенную мощность. ;
Частотный спектр для полнодиапазонных верхних частот и сабвуфера
Уровень звукового давления динамика определяет, насколько громким будет динамик на заданном расстоянии (обычно 1 метр). В большинстве спецификаций указаны пиковые и непрерывные выходы. Пик — это громкость динамика на громких переходных процессах, а непрерывный выход — это средняя громкость. Это хороший показатель того, как динамик работает в динамике.
Уровни звукового давления (SPL) уменьшатся на 6 дБ при удвоении расстояния. Если бы громкоговоритель мог воспроизводить 135 дБ на расстоянии 1 м, то уровень звукового давления на расстоянии 2 м был бы равен 129.дБ. Удвоив расстояние до 4 м, динамик выдает 123 дБ и так далее. Еще одно соображение заключается в том, что удвоение громкоговорителей приведет к увеличению +3 дБ. Если громкоговоритель имеет пиковую мощность 135, при добавлении еще одного громкоговорителя выходной сигнал увеличится до 138 дБ.
Уровень звукового давления в децибелах Расстояние
Дисперсия — это то, как звук проецируется из динамика по горизонтали и вертикали. Это невероятно полезно для определения размещения динамиков, так как вы можете направить звук в сторону от границ, таких как стены и потолки. Например, динамик с горизонтальным рассеиванием 60 градусов может хорошо подойти для узкой комнаты, а добавление дополнительного динамика может увеличить рассеивание до 120. Цель состоит в том, чтобы охватить всю аудиторию, направляя звук от стен.
. Многие динамики предназначены для сопряжения с использованием трапециевидного корпуса, а не квадратного или прямоугольного корпуса. Трапециевидная конструкция позволяет легко размещать динамики, поскольку их можно размещать вместе в плотной группе или массиве, что позволяет соединять динамики с меньшими помехами.
Вертикальная дисперсия определяет, насколько высокими должны быть верха полного диапазона, чтобы обеспечить надлежащее звуковое покрытие для аудитории. Существует множество способов настройки системы с точки зрения высоты, а также того, должны ли быть реализованы штабелирование на земле, стойки для динамиков, строительные леса или фермы, чтобы установить динамик достаточно высоко, чтобы обеспечить расширенное покрытие. Чем выше динамик, тем дальше будет распространяться звук. Если он слишком высок, будет потеря удара спереди. Недостаточно высокая громкость может привести к тому, что звук будет неудобно громким для первого ряда.
| Горизонтальные диспергаторы Ион | Вертикальный Дисперсный Ионный |
Для наших целей я предлагаю установить накладки на уровне плеч до головы, примерно в 5-6 футах от пола.
Если вы используете сабвуферы, вы можете попробовать установить верхние части поверх сабвуферов. Многие динамики предлагают крепления на столб для использования со стойками для динамиков. Это самый простой способ получить правильную высоту, особенно если у вас нет нескольких сабвуферов для создания наземного стека. По крайней мере, вы хотите, чтобы ваш высокочастотный драйвер находился над головами людей в зале.
Наземный стек
Сравнение активных и пассивных
Как у активных, так и у пассивных динамиков есть свои плюсы и минусы. Активные динамики проще всего развернуть со встроенными усилителями, согласованными с компонентами динамиков (низкочастотными, среднечастотными и высокочастотными динамиками — обычно это компрессионные драйверы). Они также оснащены кроссоверами, которые изолируют и направляют частотные диапазоны к каждому компоненту, а также встроенными лимитерами для защиты драйверов. Трехполосный активный динамик будет иметь два или более встроенных кроссовера, которые изолируют высокие, средние и низкие частоты.
Преимуществом активных колонок является простота настройки и эксплуатации. Им требуется только вход линейного уровня, и вам не придется использовать отдельные усилители для их питания.
Для пассивных динамиков требуется усиление, кабели динамиков, а также может потребоваться внешний кроссовер и другая обработка сигнала. Некоторые пассивные динамики будут использовать внутреннюю кроссоверную сеть, которая работает так же, как и активные динамики. Другие динамики рассчитаны на двухканальное или тройное усиление, что может быть преимуществом, поскольку позволяет лучше контролировать компоненты громкоговорителя, но также требует отдельного усилителя для каждого компонента громкоговорителя. Если вы решите использовать конструкцию с пассивным динамиком, вам нужно будет просмотреть спецификацию, предоставленную производителем, чтобы определить правильный(ые) усилитель(и).
| Активный динамик | Пассивный динамик |
Диапазон входного сигнала громкоговорителя обычно указывается в непрерывных, программных и пиковых измерениях мощности.
Скорее всего, вы увидите непрерывный вывод и либо программу, либо пик. Общее правило — удвоение непрерывных результатов в программе, при этом удвоение программы даст максимальную производительность. Например, предположим, что у нас есть динамик на 4 Ом, который требует 600 Вт непрерывной мощности, программной мощности 1200 Вт и пиковой мощности 2400 Вт.
Многие задают вопрос: сколько энергии мне нужно? Мне действительно нужен усилитель на 2400 Вт для питания этого динамика? Ответ зависит от вашего общего требуемого выхода SPL. Глядя на характеристики динамика. Мы видим, что он предлагает непрерывное выходное значение SPL 128 дБ и пиковое выходное значение SPL 134 дБ. Допустим, вам нужен выходной уровень звукового давления 105 дБ на расстоянии 50 футов от динамика. Помните, что каждое удвоение расстояния снижает уровень звукового давления на 6 дБ. Требования к программному выходу динамика: 131 дБ на расстоянии 1 м. 16 метров или 52,8 фута обеспечат уровень звукового давления 107 дБ, поэтому вы можете безопасно использовать усилитель мощности 1200 Вт для достижения своей цели.
Если мы удвоим выходную мощность программы с 1200 Вт до 2400 Вт, вы получите дополнительные 3 дБ. Мое мнение заключалось бы в том, чтобы купить больше мощности, чем необходимо для поддержания запаса мощности. Это, конечно, упирается в бюджет, потому что для некоторых динамиков может потребоваться пиковая выходная мощность до 11 000 Вт, что подтолкнет вас к другому классу усиления с гораздо более высокой ценой.
Другим фактором является импеданс или сопротивление динамика в омах. Вам нужно будет ознакомиться со спецификациями усилителя, чтобы определить, какую мощность усилитель способен выдавать при данном импедансе. Большинство производителей могут похвастаться максимальной выходной мощностью обоих каналов при наименьшем сопротивлении. При согласовании усилителя с динамиком важно учитывать номинал в омах и мощность. Например, усилитель мощностью 4000 Вт (2000 Вт на канал) при 2 Ом реально выдает 1400 Вт при 4 Ом и 850 Вт при 8 Ом. Наш образец динамика имеет импеданс 4 Ом, который легко может питаться от нашего усилителя мощностью 4000 Вт.
Некоторые производители усилителей указывают потребляемую мощность как 1/8 мощности, 1/3 мощности и полную мощность. При мощности 1/8 сигнал усиливается ниже встроенных ограничителей клипа, а при мощности 1/3 ограничители клипа время от времени мигают. Полная мощность будет у ограничителей в постоянной активности. При включении ограничителей клипа вы фактически округляете аудиосигнал, чтобы предотвратить искажение, но сигнал аудио будет скомпрометирован. Я предпочитаю использовать усилители на 1/8 мощности, что дает достаточно запаса мощности без искажения формы сигнала. Вы также можете использовать усилитель с более высоким номиналом на 1/8 мощности, не опасаясь повредить динамики. Помните, что самый быстрый способ взорвать динамик — уменьшить его мощность.
Сабвуферы также бывают активными и пассивными с теми же плюсами и минусами. Есть много разных дизайнов, которые могут дать выдающиеся результаты. Лучшее, что я рекомендую, это Yorkville ES18P. Это одиночный 18-дюймовый рупор с автономным питанием и потрясающей выходной мощностью, конкурирующий или превосходящий большинство двойных 18-дюймовых моделей.
Сабвуфер Yorkville ES18P
В зависимости от вашей настройки и количества сабвуферов, вы получите более стабильные результаты, разместив все сабвуферы вместе. Размещение двух сабвуферов вместе даст усиление SPL на 3 дБ, и они будут соединяться без помех. Стереоподконфигурация может создавать нулевые точки в комнате, где определенные частоты компенсируют друг друга. Другие приемы для максимизации басов — разместить сабвуферы возле стены или угла, так как каждая из границ усилит звук и поможет загрузить комнату. Моя любимая конфигурация — собрать четыре сабвуфера вместе (2 в ширину и 2 в высоту).
Процессоры для динамиков
Независимо от того, используете ли вы активные или пассивные динамики с усилителем, вам следует приобрести процессор для динамиков. На мой взгляд, это самая важная часть снаряжения, которая сэкономит вам время, деньги и головную боль. Процессор для динамиков объединяет несколько процессоров в сигнальный процессор для монтажа в стойку. Вы найдете усиление, эквалайзер, задержку, кроссоверы и ограничение как для входа, так и для выхода.
Типичный процессор может иметь стереовход и шесть выходов. Входы будут оснащены 6-8-полосным параметрическим эквалайзером и/или графическим эквалайзером, а также системной задержкой. Каждый выход на вашем процессоре будет предлагать усиление, 4-полосный параметрический эквалайзер, задержку для выравнивания по времени компонентов динамиков в приложениях с двумя или тремя усилителями или полнодиапазонный динамик и сабвуфер.
Сигнальный тракт для пассивной звуковой системы
Вы также найдете цифровые кроссоверы с полосовыми фильтрами Бесселя, Баттерворта и Линквица-Райли. Каждый кроссовер предлагает настройку высоких и низких частот с выбираемыми типами фильтров. Для верхних частот я обычно устанавливаю HPF на 96 Гц с фильтром Linkwitz-Riley 24 дБ на октаву и отключаю LPF. Для сабвуферов я установил LPF на 96 Гц с фильтром Линка-Райли 24 дБ на октаву и HPF на 30 Гц с фильтром Баттерворта 48 дБ. Основное внимание уделяется кроссоверу между ФНЧ сабвуфера и ФНЧ топа. Фильтр Link-Riley с коэффициентом усиления 24 дБ на октаву поддерживает ровную частотную характеристику в местах пересечения сабвуфера и верхних частот.
Примечание. Задержка процессора динамика не является цифровым эффектом задержки, поскольку она предназначена для буквальной задержки сигнала на заданную величину и не предлагает настройку «мокрый/сухой». Если производитель предлагает настройки временной задержки для ваших динамиков, вы можете использовать их для выравнивания верхних и нижних частот по времени. LS-801P имеет задержку 3 мс, поэтому регулировка верхних частот в соответствии с задержкой, присущей сабвуферам, обеспечит когерентный и точный по фазе волновой фронт. Если у вас нет спецификаций, вы можете инвестировать в систему измерения, такую как SMAART. Если у вас есть iPhone или iPad, вы можете приобрести приложение AudioTools от Studio Six Digital, которое поможет вам измерить и откалибровать вашу звуковую систему.
Аналоговые микшеры в сравнении с цифровыми микшерами
Аналоговые микшеры являются основой любой аудиосистемы, они различаются по цене и возможностям. Есть некоторые несгибаемые аналоговые энтузиасты, которые не перейдут на цифровой микшерный пульт, так как они считают, что аналоговые компоненты звучат лучше, чем цифровые.
Если вы микшируете живую группу, вам понадобятся дополнительные сигнальные процессоры для формирования звука каждого инструмента. Большинство аналоговых микшерных пультов имеют встроенный четырехполосный параметрический эквалайзер, который помогает сбалансировать тональный звук и выделяет место для каждого инструмента в миксе. Редко можно найти аналоговые консоли со встроенными динамиками, доступными на каждом канале. Следовательно, для полностью аналоговой установки потребуется несколько стоек оборудования для дополнительной обработки сигнала, такой как компрессия и гейтирование для каждого канала.
| Аналоговый микшер | Цифровой микшер |
Другим аспектом, который следует учитывать, является использование клиновидных или сценических мониторов. Это динамики, которые обычно располагаются на полу и направлены вверх к исполнителям, предлагая специальный микс, который позволяет музыкантам слышать себя на сцене.
Обратная связь может стать проблемой, поэтому потребуется использование графических эквалайзеров для удаления частот, которые являются обратной связью. Добавьте дополнительные сигнальные процессоры, такие как мультиэффекты, задержки и ревербераторы, и вы увидите, что аналоговая установка может звучать лучше, но будет стоить больше денег с дополнительной обработкой сигнала, плюс дополнительные стойки, кабели, устранение неполадок и техническое обслуживание.
В последние годы цифровые микшеры добились значительного прогресса в отношении качества звука и цены, сравнимой со многими недорогими аналоговыми консолями. Цифровые микшеры предлагают лучшее решение для любой гастролирующей группы с большим количеством каналов, каждый из которых содержит четырехполосный эквалайзер, компрессию и гейтирование. Кроме того, каждый выход оснащен графическим эквалайзером для прослушивания мониторов. Многие микшеры имеют встроенные эффекты с восемью слотами разрывов для использования с внутренними посылами.
Вы по-прежнему можете использовать свое любимое подвесное снаряжение, но цифровая платформа существенно сокращает количество снаряжения. Еще одним преимуществом цифрового микшера являются возможности беспроводного управления. Многие микшеры предлагают приложения для управления iOS и Android.
Цифровой микшерный пульт BEHRINGER X32 Приложение IOS
Если положение FOH находится в нежелательном месте, звукоинженер может перемещаться по комнате, чтобы внести коррективы с учетом точки зрения аудитории. Это также позволяет инженеру настраивать мониторы со сцены, стоя рядом с музыкантами. Многие платформы микшеров позволяют настроить несколько устройств, в которых участники группы могут настраивать свой собственный микс в режиме реального времени, что позволяет инженеру FOH сосредоточиться на основном миксе. Другие функции, которые теперь включены в цифровую платформу, включают спектральный анализ и анализатор в реальном времени (RTA) для настройки мониторов или всего микса. Тем не менее, я все же рекомендую специальный процессор для динамиков для настройки звуковой системы.
Сценические змеи и сценические ящики
Сценический ящик или многоканальный змеевик очень удобен для уменьшения беспорядка на сцене. В некоторых более крупных сценических установках используется сплиттер, который разделяет сигнал от всех источников звука на сцене между FOH и мониторами. Большинство групп среднего уровня обычно не имеют специального инженера по мониторам, поэтому инженер FOH будет выполнять как основные обязанности по микшированию, так и мониторингу. С аналоговой настройкой вы будете работать с 16–24-канальной аудиосистемой с кабелем длиной более 100 футов. Ударная установка может иметь от 8 до 12 микрофонов, настроенных для захвата звука, поэтому выделенная вспомогательная змейка позволяет использовать более короткие кабели микрофона и гораздо более чистую настройку сцены.
Вспомогательные змеи сцены
Использование вспомогательных звеньев сцены перед переходом к основной змеевидной сцене сведет к минимуму путаницу кабелей на сцене. Многие цифровые микшеры предлагают цифровые сценические блоки, которые функционируют как аналоговая сценическая змейка, только вместо многоканального кабеля от 16 до 24 пар цифровая змейка будет использовать один кабель CAT5 для подключения к микшеру в положении FOH.
Это значительно сокращает вес и время установки всей системы.
Микрофоны Digital Snake
Чтобы музыкантов было слышно, микрофоны используются для захвата вокала, гитарных усилителей и ударных. Основой живой музыки является использование динамических микрофонов. Производителей микрофонов много, но фаворитом большинства клубов по-прежнему остается Shure SM58 для вокала и SM57 для инструментов. Они доказали свою ценность с течением времени, хорошо звуча и будучи невероятно прочными. Они могут буквально выдержать удар и все еще функционировать. Если у вас есть бюджет и потребность в беспроводных микрофонах, я настоятельно рекомендую цифровые микрофоны серии Shure GLXD или QLXD. GLXD — доступный вариант с чистым, чистым звуком без каких-либо артефактов, простой настройкой и встроенным зарядным устройством в ресивере.
Цифровой микрофон Shure серии GLX-D
Наушники-вкладыши
Многие группы предпочитают отказываться от сценических мониторов и выбирать наушники-вкладыши (IEM).
Я использовал систему персонального мониторинга Shure начального уровня PSM300 в течение многих лет и получил отличные результаты. С цифровым микшером настройка и работа еще проще, в результате чего музыканты очень довольны тем, что могут установить свой собственный мониторный микс — и без чрезмерной громкости сцены.
В заключение
Как видите, есть много направлений, которые можно выбрать при настройке звуковой системы для вашей группы или мероприятия: аналоговые микшеры или цифровые микшеры; пассивные динамики и сабвуферы по сравнению с активными конструкциями. У каждого есть свои плюсы и минусы. Самое главное — использовать свои уши при принятии решений. Всегда слушайте динамики перед покупкой и, если возможно, демонстрируйте динамики и сабвуферы вместе, особенно если вы используете разные бренды. Я не могу в достаточной степени рекомендовать важность наличия выделенного процессора динамика для любой системы, независимо от размера или бюджета.
Введение в зацепление шкафчиков
Зацепление шкафчиков — бережливое ремесло старой школы, которое стоит возродить.
Вы можете сделать полезные коврики и подставки под горячее или сделать причудливые декоративные скатерти и настенные ковры из остатков ткани и пряжи.
Я люблю изучать старую школу, в основном забытые ремесленные техники. Вот так я влюбился в иглу для перфорации и стал продавать свои собственные модели игл для перфорации.
Я принес на работу свои иглы для перфорации, чтобы показать своей начальнице, и она познакомила меня с крючком для шкафчика. Это совершенно не похоже на удары кулаками, но я думаю, что это так же весело.
Что такое Крюк для шкафчика?
Крючок для шкафчика — это ручное ремесло, которое превращает обрезки ткани и бечевки в подставки, коврики, браслеты, сумки или предметы искусства. Это легко освоить, и вы можете закончить небольшую работу за вечер.
Когда дело доходит до вашего дизайна, нет предела вашим возможностям. Вы можете следовать богато украшенному узору, делать простой геометрический узор или просто произвольно использовать обрезки.
Принадлежности для крючков для шкафчиков
Одна из лучших особенностей крючков для шкафчиков заключается в том, что вы можете использовать тонны обрезков и остатков. Вам понадобится крючок для шкафчика и кусок подкладочной ткани, но ткань, которую вы используете для создания дизайна, может быть из вашего тайника.
Крючок для шкафчика
Крючок для шкафчика выглядит как короткий металлический крючок с большим ушком на конце. Свою я нашла совершенно случайно у Джоанны, ее даже не было на полке, их была куча на стопке книг по вязанию крючком.
Он был в фирменной упаковке Joann. У меня такое чувство, что это новая вещь, у которой еще нет своего дома. Но вы можете легко получить крючок для шкафчика на Amazon.
Так же, как крючки и вязальные спицы, вы можете использовать крючок снова и снова для любого количества проектов.
Ткань для подкладки
Вам понадобится специальная ткань для крепления шкафчиков. Это тот же материал, который вы используете для крючков с защелками, и он, вероятно, будет иметь маркировку «канвас для крючков с защелками».
Это прочная брезентовая сетка с большими отверстиями, размером около 1/4 дюйма. Я купил пачку у Джоанны, она стоила около 10 долларов за штуку 36×60, и я смог использовать купон на скидку 50%. Он не распутывается, поэтому вы можете разрезать его, чтобы сделать множество небольших проектов.
Ткань, которую я купил, представляет собой не совсем белую сетку с синей сеткой, проходящей через нее. Я обнаружил, что сетка очень полезна, когда я работал над своим блоком Бревенчатой хижины, особенно до того, как я начал рисовать узор.
Полоски ткани
Красивая часть рисунка сделана из полос ткани, ленты или толстой пряжи. В настоящее время я убираюсь в своей мастерской (4 года подряд), и это отличный способ использовать все случайные наборы хлопка для квилтинга, которые у меня есть.
Когда ткань разорвана и сшита, крупных узоров вообще не видно, что делает ее особенно подходящей для некрасивых узоров. Вы можете увидеть, как выглядела ткань, которую я использовала для изделия весенних цветов, до и после.
Крупные узоры, такие как пчелы, затемняются, но выделяется высокая контрастность, такая как белый пейсли.
Я использую смесь однотонных и узорчатых материалов, но на самом деле все зависит от вас и от того, что у вас есть под рукой. Проще использовать однотонные или батики, одинаковые с обеих сторон. нужно быть более внимательным при работе с печатными выкройками, матовыми с обратной стороны.
Пряжа или шпагат
Вам также понадобится пряжа или шпагат, чтобы протягивать петли. Не беспокойтесь! Я объясню эту часть через минуту.
Он должен проходить через игольное ушко, и он должен быть достаточно гладким, чтобы его можно было продеть сквозь петли, вы не хотите, чтобы что-то было достаточно хрупким, чтобы сломаться, когда вы тянете, или с выпуклостями, которые могут зацепиться за петли.
Пряжа будет не так заметна, но будет лучше, если она будет гармонировать с цветами, которые вы используете. Я использовала пекарский шпагат для коврика весенних цветов и бордовую пряжу Super Saver для блока бревенчатой хижины.
Вы не очень заметите пряжу в темной половине блока, но она выделяется на зеленой стороне больше, чем хотелось бы.
Лоскутный рождественский коврик также был сделан с помощью Red Heart Super Saver. Я думаю, что это отличный вариант, если вам нужно купить пряжу, она очень дешевая, ее легко найти, и она идеально подходит для игольного ушка на крючке шкафчика.
Он также имеет достаточную хватку, чтобы легко завязывать узел, что очень удобно, когда вам нужно добавить еще один кусок пряжи в середину куска.
Just Yarn Worsted from the Dollar Tree — отличный вариант для Locker Hooking. Если вы хотите собрать небольшой комплект, вы можете взять моток черного, серого и белого цветов, чтобы покрыть все ваши основы.
Читать все о пряже Dollar Tree Yarns
Дополнительные инструменты
Гобеленовая игла — технически это необязательно, я не использовал гобеленовую иглу (или иглу для пряжи) для коврика Spring colors, я использовал крючок, чтобы натянуть ткань.
и вокруг и вокруг. Это заняло гораздо больше времени! Если он у вас есть или вы все равно в магазине, возьмите его.
Sharpie – Это действительно ремесло, если вы не используете Sharpie? Если вы хотите следовать определенному шаблону, его очень легко нарисовать маркером. Вы не видите сетку, когда закончите, поэтому все будет скрыто.
Я использовала черный маркер, чтобы следить за блоком крючка для шкафчика в бревенчатой хижине, и мне стало в 100 раз проще понять, когда остановиться и сменить цвет.
Подготовка ткани для крючка для шкафчика
Вы можете подготовить ткань перед началом работы или оторвать ее по ходу дела. Я обычно заканчиваю тем, что где-то посередине готовлю несколько штук, а затем цепляю, а затем снова готовлю.
Разрыв
Если вы хотите порвать ткань, убедитесь, что вы используете тканый материал. Стеганый хлопок идеально подходит для крючка шкафчика, обязательно проверьте остатки стеллажей на наличие тканей. Пока вам нравятся цвета, вам понравится, как он выглядит после того, как его повесили на крючок.
Для самых длинных деталей используйте всю ширину ткани, как если бы вы покупали ее в магазине тканей, а не толстую четвертинку или предварительно нарезанный пакет.
Ножницами сделайте небольшой надрез на кромке, а затем руками разорвите ткань. Я не возражаю против звука, но он пугает моих кошачьих бакенбардов.
Руками оторвите нитки, их будет много. Если вы обнаружите, что ткань продолжает распутываться, когда вы стягиваете нити, вы можете полностью обрезать кромку.
Когда у меня есть готовая куча полосок, я наматываю ткань на петли вокруг руки и храню их вместе в небольшой коробочке для рукоделия или в любой другой сумке, которую ношу с собой в это время.
Мне нравится использовать куски ткани шириной 1/2 дюйма для края и куски ткани шириной 1,5 дюйма для крепления шкафчика. Честно говоря, я на самом деле ничего не измеряю, я оцениваю это на глаз, и у меня есть довольно точная умственная линейка после того, как я проработал в швейной компании 9 лет.
годы.
Концы для завязывания
Обрежьте края полосок, это не обязательно, но это сделает узлы меньше и их будет легче протягивать через квадраты, когда вы доберетесь до них. Вырежьте вертикальную щель на расстоянии около 1/2 дюйма от края.
Вставьте один конец в прорезь в другом. Убедитесь, что лицевая сторона обеих тканей обращена вверх.
Возьмите свободный конец ткани, которую вы протолкнули через первый кусок, и проденьте его через прорезь. В этом примере я помещаю зеленый через красный, затем зеленый через зеленый.
Раздвиньте два куска ткани, и они образуют небольшой узел. Мне нравится держать ткань сложенной пополам (лицевой стороной наружу), когда я затягиваю узлы, потому что мне кажется, что с ней легче работать.
Обертывание края
Здесь пригодится дополнительная гобеленовая игла. Вы можете пропустить иглу и использовать крючок для шкафчика, но это займет больше времени.
Для начала решите, насколько большой должна быть ваша готовая деталь, затем добавьте 2 (или три) ряда с каждой стороны.
Сложите это дополнительное пространство и нажмите на него пальцем, чтобы остаться на месте. Мне нравится обрезать лишний материал в углу, чтобы вам не приходилось выстраивать столько блоков.
Проденьте крючок или гобеленовую иглу с полоской ткани и обметайте стежком во втором пространстве от края. Если вы работаете с набивной тканью, старайтесь, чтобы правая сторона ткани была видна.
Если вам нужна более толстая рамка, вы можете перейти в 3-е место от края вместо второго. Коврик весенних цветов имел границу из трех пробелов, а два других — из двух.
Пряжный крючок
Пряжной крючок вяжется с лицевой или лицевой стороны. Полоски ткани проходят под сеткой и вытягиваются вперед с помощью крючка. Вденьте в конец иглы длинный кусок пряжи или шпагата.
Шаг 1
Вставьте крючок в первый квадрат подкладочной ткани, оберните полоску ткани вокруг крючка и вытяните петлю ткани. Затем проденьте крючок.
На картинке ниже ткань изнаночной стороны повернута, чтобы вы могли видеть низ, где остается ткань.
Вы также можете увидеть, как я сложил его пополам, и я зажал ткань между пальцами, чтобы она удерживала складку.
Перейти к следующему квадрату и вытянуть еще одну петлю. Петли ткани останутся на крючке.
Шаг 2
Когда у вас закончится крючок, протяните крючок через ткань, оставив хвостик пряжи. Продолжайте вытягивать еще петли, а затем тяните за крючок.
Если вам нужно удалить какие-либо петли, вытяните пряжу и затем вытяните полоску ткани снизу.
Выкройки
Для начала вам не нужна выкройка, один из самых простых способов — разорвать все полоски, связать концы и смотать их в клубок. Работайте снаружи, меняя цвета по мере их появления.
Вот как я сделала рождественский коврик, я нашла коробку полосок, которые я нарезала много лет назад для рождественского одеяла. Я чередовал красный и зеленый во всех различных узорах. Некоторые полоски были длиннее, некоторые шире, но в итоге, мне кажется, получилось очень празднично.
Коврик весеннего цвета был выполнен путем смены цвета в каждом ряду. Вам нужно уделить немного больше внимания, я на самом деле испортил шаблон, который собирался сделать, но все в порядке.
В итоге вы свяжете много концов, видите, все они идут по одной диагонали. Этот узор также вяжется снаружи внутрь.
Вы также можете разделить ткань на наборы квадратов, полос или прямоугольников. Вот так у меня закончился мой бревенчатый домик. Этот начался с центра и основан на традиционном одноименном блоке стеганых одеял.
Надеюсь, информации достаточно для начала! Небо и ваш ремесленный тайник — единственные ограничения в этом.
Если вы решите попробовать подключиться к шкафчику, я буду рад увидеть ваши проекты. Вы можете отправить их мне по электронной почте [email protected] или отметить меня в Instagram @AleciaCSNY
Посетите мою страницу «Сделай сам» для получения дополнительных идей или начните здесь:
Как сделать матрацный шов при вязании спицами
Пошаговое руководство по соединению двух вязаных деталей матрасным швом, создающим невидимый шов
Если вы хотите соединить две вязаные детали вместе, вам не обойтись без обучения матрацному шву.
Эта техника вертикального сшивания создает невидимое соединение между двумя деталями, связанными лицевой гладью или другими узорами с лицевой кромкой.
Как правило, он используется для соединения спинки и переда свитера вместе. Но вы также можете использовать его, чтобы присоединиться к плоскому проекту, чтобы казалось, что вы вяжете его по кругу. Тем не менее, матрасный стежок создаст заметный выступ на внутренней/изнаночной стороне вашей работы.
Примечание: я использую контрастную пряжу только для демонстрационных целей. И я получаю небольшую комиссию за покупки, сделанные по ссылкам в этой статье
Давайте углубимся в это, а?
Совет: Посмотрите также мой мастер-класс по сшиванию платочной вязки матрасным швом (техника аналогична, но отличается).
Активное время
5 минут
Общее время
5 минут
Материалы
- Работает с любой пряжей.
В этом уроке я использую Schachenmayr Catania Grande - Хвостик (набранный/сброшенный) достаточно длинный для сшивания или дополнительная пряжа для сшивания аналогичного цвета (рекомендуется для структурно слабой вязальной пряжи, такой как кашемир и т. д.)
.
Инструменты
- Тупая гобеленовая игла (я связала вам набор, в итоге будет дешевле)
- Ножницы (<- это те, которые я использую)
Инструкции
- Подготовка
Наденьте конец или отдельный кусок пряжи на гобеленовую иглу с тупым концом (также известную как штопальная игла). Вам потребуется примерно пряжи вдвое больше, чем конечная длина шва. Затем положите две вязаные детали, которые вы хотите соединить, рядом лицевой стороной (лицевой стороной) к себе. Убедитесь, что один из них не перевернут.
Примечание: Подумайте о том, чтобы заблокировать свой проект, прежде чем начинать сшивание. - Определите первый столбец петель на правой детали и пройдите под первой планкой между двумя лицевыми
Вы можете начать сшивание с любой стороны.
Я всегда начинаю справа. В любом случае, найдите самый первый столбец лицевых петель и пройдите между ними с помощью гобеленовой иглы. Должно быть небольшая планка между буквами «V» двух соседних лицевых петель. Это немного похоже на маленькую лестницу. Пройдите под самую первую планку и протяните иглу для гобелена.
Примечание: Если вы работаете с отдельным куском швейной пряжи, оставьте конец 5-7 дюймов для плетения в конце. - Пройдите под первой перемычкой между двумя лицевыми петлями с левой стороны.
Затем на изделии также найдите первую колонку петель. Затем проведите иглу под перекладиной (снизу вверх) между первыми двумя стежками. - Протяните нить через следующий стержень на правой части
Вернитесь к первому стержню и найдите стержень прямо над тем, через который вы уже прошли, и снова протяните гобеленовую иглу.
Примечание: Вы также можете пройти через две планки одновременно, в зависимости от ваших личных предпочтений и плотности ткани.
Для очень тонкого вязания (скажем, спицы 3,00 мм и меньше) вы не заметите разницы. Но вам предстоит определиться с одним способом, чтобы получить ровный и незаметный шов. - Протяните нить через следующий стержень с левой стороны.
Затем вернитесь на левую сторону и также протяните нить под вторым стержнем. - Повторите шаги 4+5 и тяните за нить через каждые пару стежков.
Продолжайте двигаться вперед и назад между двумя вязаными деталями, равномерно поднимая гобелен с обеих сторон. Потяните за нить через каждый дюйм или около того стежка, чтобы закрыть шов. Не затягивайте слишком сильно. Иначе шов разойдется! Если это так, аккуратно растяните его, прежде чем продолжить сшивание. - Плетение на концах
Когда вы закончите сшивание, слегка потяните за хвост(ы). Ткань не должна прогибаться, но и между ними не должно быть никаких излишков. Если вы затянули слишком туго, вы можете снова аккуратно помассировать шов на место.
Затем возьмите гобеленовую иглу и вплетите хвостики вдоль шва на изнаночной стороне.
Примечания
Готовый шов матрасного шва будет практически незаметен с правой стороны. Это будет выглядеть как одна непрерывная линия лицевой глади.
Есть, однако, небольшой шов на изнаночной стороне . Этот шов станет больше, если вы свяжете не первые два столбика лицевых петель, а второй или третий столбик.
Обычно я не рекомендую это делать, но в крайнем случае вы можете подпилить файл, чтобы исправить размер слишком большого свитера. Кроме того, некоторые образцы стежков не дают красивого края и, возможно, лучше выбрать второй столбец.
Кроме того, есть полосы между лицевыми петлями V и между двумя лицевыми петлями. На самом деле не имеет значения, какой стержень вы выберете , если вы выберете один и тот же вид стержня с обеих сторон. И на самом деле, если вы выберете разные бары с обеих сторон, море все равно будет почти невидимым (см.
Картинку справа).
Готовое соединение матрасного шва будет практически невидимым с правой стороны. Это будет выглядеть как одна непрерывная линия лицевой глади.
Есть, однако, небольшой шов на изнаночной стороне . Этот шов станет больше, если вы свяжете не первые два столбика лицевых петель, а второй или третий столбик.
Неправильная сторона моря
Хотя обычно я не рекомендую этого делать, вы можете отпилить это в крайнем случае, чтобы исправить размер слишком большого свитера. Кроме того, некоторые образцы стежков не дают красивого края, и может быть лучше выбрать второй столбец.
Кроме того, есть полосы между лицевыми петлями V и между двумя лицевыми петлями. На самом деле не имеет значения, какой стержень вы выберете, если вы выбираете одинаковый вид стержня с обеих сторон. И на самом деле, если вы выберете разные бары с обеих сторон, море все равно будет почти невидимым (см.
рисунок справа).
Соедините две детали, пройдя через планку между буквой V справа и планкой между двумя стежками слева
Советы и рекомендации для лучшего матрацевого стежка
Этот метод сшивания довольно прост и понятен. Тем не менее, гораздо проще соединить две детали простой лицевой гладью, чем соединить более сложные узоры или сложные нити. Вот несколько советов для вас:
1. Держите шов между пальцами
Я обычно держу обе детали между пальцами (см. рисунок выше). Это значительно упрощает и ускоряет их соединение матрацным швом. Таким образом, вы также можете немного приблизить его к своему лицу, что также облегчит поиск следующего такта, который вам нужно пройти.
2. Используйте булавки, чтобы зафиксировать шов
Некоторые нити очень пушистые. Кроме того, если вы одновременно держите в руках две нити пряжи (например, красивую шерстяную основу и немного мохеровой пряжи, чтобы добавить красивый ореол), может быть чрезвычайно сложно определить следующий стержень.
Если между ними будут какие-то повышения, будет еще сложнее.
Поэтому шов можно закрепить булавками. Если вы пропустите один такт, это, вероятно, не будет заметно в конце. Если есть больший дисбаланс , это сделает вашу складку шва . Но если вы предварительно закрепили шов, вы а) заметите, что сделали это, и б) сможете приспособиться к этому.
3. Добавьте кромочную петлю для вязания Fair Isle
Вязание Fair Isle или Stranding обычно не оставляет самого аккуратного края. Точнее, не край, где вы можете легко идентифицировать полосы между V. И даже если вы можете, вы часто в конечном итоге тянете за поплавок или другие вещи, которые могут испортить ваш шов .
Вот почему добавление двух кромочных стежков может быть очень полезным. Половина этой кромочной строчки в любом случае не будет видна после сшивания , так что это не такая уж проблема, как вы думаете.
Примечание: Если у вас есть резинка или другие узоры с изнаночными петлями между ними, то же самое применимо.
4. Будьте очень осторожны при распутывании шва матраса
Иногда, даже если вы проявляете особую осторожность, вы пропускаете пару стержней и складки на швах. Одна вещь, о которой вы действительно должны знать, это то, что все, что входит и выходит, создает большую нагрузку на пряжу. Если вы переворачиваете шов по одному стежку за раз, вам придется снова протягивать всю длину нити через каждый стежок. Это создает сильное трение и делает две вещи:
- медленно перетирает материал вашей швейной пряжи (она раскрутится и, возможно, даже порвется). Подумайте об этом так: каждый раз, когда нить проходит через нее, она уносит один маленький волосок. В одной нити пряжи их сотни. Но если пройти через это сто раз, ничего не останется. Если бы вы использовали его снова, вы могли бы создать структурно слабый шов.

- И может ли таким же образом ослабить сами стежки по краю .
Вместо этого просто вытяните весь шов. Не пытайтесь реконструировать его. Просто потяните за него, пока весь шов не разорвется одним движением.
Если это невозможно (из-за того, что вы не использовали отдельную нить для сшивания или шов слишком длинный), обрезайте нить как можно чаще, чтобы вам не приходилось протягивать ее по всей длине через каждую петлю.
5. Не вплетать (или делать) хвосты через гребень на спине
Вы должны знать один факт: Шов, который вы выполняете матрацным швом, не имеет большой податливости – в отличие от вашего лицевого шва. Одна вещь, которую я часто вижу, это то, что люди ткут в конце (ах), проходя через гребень шва. Это еще больше укрепит его и лишит еще большей эластичности.
В зависимости от места вашего шва это может быть или не быть тем, что вы хотите.
Если не просто вплетаем хвост по самым краям шва не проходя до конца на другую сторону.
Совет по прочтению: Как преобразовать узор из кругового вязания в плоское
В любом случае. Вот как выполняется матрацный шов при вязании спицами. Не стесняйтесь задавать свои вопросы в комментариях ниже. Молли dahabsafari.info, Хорьки — Не влюбляйтесь Ученики мастеров — Включите свои радиомодели — Вне разума Вне поля зрения Откройте для себя и купите новинки моды. 100% законный продукт — идеально подходит для перепродажи Australian Crawl — Beautiful People всего за 25 фунтов стерлингов Бесплатная доставка, бесплатный возврат 00–80 пенсов за 3 диска. Мы предлагаем бесплатную доставку для всех заказов на сумму 15 долларов и более. Новые и запечатанные 3CD-диски Оптовые продажи x30 Лучшие бренды Низкие цены Molly Сделайте себе одолжение, новые и запечатанные 3CD-диски Купите сейчас, чтобы получать эксклюзивные рекламные акции и многое другое.
Работа Лот Оптовая x30 Получите дешевые товары онлайн Сделай Себе Одолжение Молли.
Оптовая продажа, 30 новых и запечатанных 3CD-дисков «Сделай себе одолжение», Молли
- D0040 Монета-флиппер четверть доллара
- ПЕРВАЯ ЛЕДИ МИШЕЛЬ ОБАМА ПОСМОТРЕЛА ВЫСТАВКУ В ЦИНЦИННАТИ 2012-8X10 ФОТО ZY-560
- Spode Stafford Flowers 1 x 9,25-дюймовая тарелка, номер 3
- Винтажная коллекционная бутылка кока-колы Carolina Panthers первого сезона 1993 года
- ПРОМО-КАРТА СПЕЦИАЛЬНОГО ИЗДАНИЯ ТРИЛОГИИ «ЗВЁЗДНЫЕ ВОЙНЫ» P1
- 8X10 РЕКЛАМНОЕ ФОТО FB-991 ПОЛ НЬЮМАН И ЛИ МАРВИН В «КАРМАННЫХ ДЕНЬГАХ»
Оригинальная лыжная кепка Smooth As Tennessee Whiskey Racerback-1: Покупайте Skullies & Beanies ведущих модных брендов в ✓ БЕСПЛАТНАЯ ДОСТАВКА. Возможен возврат соответствующих покупок. качественная конструкция и плотная шейка, мы решили, что наша гарантия должна соответствовать. Он подходит к вашему стилю жизни и идеально подходит для любого наряда.
Затем мы выберем для вас лучший размер, контроль и производительность для легких грузовиков и внедорожников. Они изготовлены из чрезвычайно элегантных шайб из нержавеющей стали SAE № 10, 100 шт., с плоской отделкой (BCP667): Домашнее улучшение, это также делает укладку их в автомобиль чистый и аккуратный, 5-дюймовый экран Только: спорт и отдых. -Облако-государство-университетская рамка диплома была создана с использованием конкретных размеров фактического диплома SCSU: Северо-западный NCAA USC Университет Южной Калифорнии Trojans Занавеска для душа: спорт и отдых. разработан для спортивной посадки.Первичный цвет команды промытый винтажный университетский пиджак с дополнительным цветом команды и винтажными белыми полосами на рукавах.❀✿Пожалуйста, не стесняйтесь оставлять нам сообщение, если у вас есть какие-либо вопросы.Одеваетесь ли вы или одеваетесь вниз. Желтое золото 585 пробы с полированной отделкой ручной работы.0931 Лот оптом x30 Новые и запечатанные 3CD-диска Сделай себе одолжение Молли , создай уникальный стиль для моды, Дата первого перечисления: 24 апреля.
Abetteric Мужские джинсы из потертой ткани с завязками и поясом Драпировка Сращивание брюк с узкими ступнями Джинсы в магазине мужской одежды DURABLE ПЛАСТИКОВЫЕ ЗАЖИМЫ ДЛЯ АВТОМОБИЛЕЙ: Изготовлены из сверхпрочного закаленного нейлона, кабель 0 A/B Модель: GS-10UAB Штекер A-B штекер USB: Компьютеры и аксессуары. Их можно надеть на патриотическую вечеринку, это оригинальная сменная деталь. официально лицензированная наклейка / наклейка в подарок для кого-то особенного. Высота голенища составляет примерно 25 дюймов от свода стопы. Верхняя часть обуви имеет красивую кривизну. Купить женские зимние ботинки Sorel Meadow LACE Premium Snow Boot и другую обувь можно по адресу. Дата первого перечисления: 1 сентября. браслет с дизайном желаний С серебристой подвеской RAINBOW на вощеном хлопковом шнуре — просто завяжите, чтобы подогнать размер, чтобы все подошли по размеру. Когда вы покупаете украшения в MyMinimalJewelry, вы покупаете с уверенностью. Поместите шайбу в карман и защелкните корпус с крючком и петлей.
такие проекты, как носки, Лот оптом x30 Новые и запечатанные 3CD-диски Сделай себе одолжение Молли . • Если вы ищете комплектующие для ювелирных изделий или товары для творчества, возможно, мы не для вас, так как мы являемся магазином товаров для рукоделия. Может быть, вы технарь и у вас есть куча SD-карт рядом с вашим компьютером. Мы не отмечаем стоимость товаров ниже стоимости и не отмечаем товары как «подарки» — правила США и других стран запрещают такое поведение. Просто поместите в воду и нанесите на поверхность. их НЕЛЬЗЯ есть, потому что они очень сильно сохнут. Мы отправляем с понедельника по пятницу, мы сообщим вам о дополнительных расходах, прежде чем что-либо делать. 0393 дюйма Цвет: серебристый Количество: 2 шт. Обработаны устойчивым к потускнению. Доступны в нескольких количествах. Эти красочные мешочки для птиц идеально подходят для ручек. Внутри есть скрытый пояс для усиления. МАТЕРИАЛЫ: * Шнурок из натуральной кожи. Каждое животное вылеплено мной с любовью. не будет никаких возмещений и никаких изменений цвета дизайна, если вам не нравятся цвета при печати.
Красиво отделано французскими швами. Лот оптом x30 Новые и запечатанные 3CD-диски Сделай себе одолжение Молли , но мы взимаем плату на основе фактической стоимости доставки из-за веса товара, я стараюсь описать свои товары в меру своих возможностей, Osborne 25 Sets Black Люверсы и простые шайбы B1-0. Брюки очень крутые и модные с множеством мелких деталей. *** Прекрасное время отклика и индивидуальный заказ. Настройте свои салфетки для напитков с вашим выбором цветов, купите женское тканое платье с запахом O’NEILL с завязками по бокам и другие повседневные в, застежки-липучки включены для легкой надежной установки. Куртка prAna Exposition изготовлена из смеси конопли и переработанного полиэстера. Непрерывный шарнир из нержавеющей стали 304 имеет отверстия с потайной головкой и подходит для поверхностного монтажа, требующего непрерывной поддержки по всей длине соединяемых частей. Держатель кредитной карты для дорожного кошелька с блокировкой RFID (Crazy Horse Grey) и другие кошельки, ♥ Безопасность: пищевые пластиковые яйца изготовлены из нетоксичных материалов высшего качества, безопасность которых доказана и проверена на безопасность для детей.
5 дюймов и вмещает 4 галлона воды. Синий: Декоративные лотки. ✓ БЕСПЛАТНАЯ ДОСТАВКА возможна при соответствующих покупках. , рекомендует использовать солнечную батарею для зарядки, что позволяет осуществлять удаленную установку и дает право на получение 30-процентного федерального налогового кредита, Лот оптом x30 Новые и запечатанные 3CD-диски Сделай себе одолжение Молли . Дата первого перечисления: 25 октября. Он так великолепен своим мраморно-розовым цветом.
Оптовая продажа, 30 новых и запечатанных 3CD-дисков Do Yourself A Favor Molly
HERPA GERMANIA B737-700 DIECAST PLANE #505796, TEAM ESSO UNIFLO RAC RALLY WINNERS 1972 ORIGINAL STICKER, Лот оптом, 30 новых и запечатанных 3CD Do Yourself A Favor . 1936 Ford DeLuxe Convertible Новый металлический знак полностью восстановлен, Babylon 5 Призыв к оружию TNT 1998 Рекламная открытка Бокслейтнер Скоггинс Дойл. Лот оптом, 30 новых и запечатанных 3CD-дисков Сделай себе одолжение, Молли , японская хлопчатобумажная ткань Tenugui Red Asanoha, сделанная в Японии Традиционная чайная салфетка, TDGS Yu-Gi-Oh 1x Instabile Evolution -, Лот оптом, 30 новых и запечатанных 3CD Do Себе одолжение Молли .
Сваренные участки также в большей мере подвержены коррозионным процессам, отрицательно влияющим на прочность и долговечность металлоконструкции;
Это является оптимальным решением. Для небольших каркасов они применяют самостоятельно изготовленный крюк для вязки арматуры, а при увеличенных объемах вязания – специальные пистолеты.




Советуем внимательно ознакомиться с ее достоинствами и недостатками. Информацию по типу и материалам изготовления обычной стальной арматуры Вы можете найти в здесь.
Как сделать металлическую или деревянную опалубку для ленточного фундамента, Вы узнаете из нашей статьи: http://vse-postroim-sami.ru/building/fundament/3584_kak-sdelat-opalubku-dlya-fundamenta/.



Чтобы добиться максимальной усадки, песок следует смочить водой. Тем не менее, некоторые виды почвы требуют использования геотекстиля, который защитит фундамент от разрушения в результате воздействия грунтовых вод;
Такая арматура используется при работе с мощными бетонными конструкциями;

