Заточной станок для ленточных пил своими руками чертежи: Самодельный заточной станок для ленточной пилорамы ( Самодельная ленточн…
Содержание
Приспособление для быстрой и качественной заточки полотна ленточной пилы своими руками. Станок для заточки ленточных пил своими руками
Приспособление для быстрой и качественной заточки полотна ленточной пилы своими руками
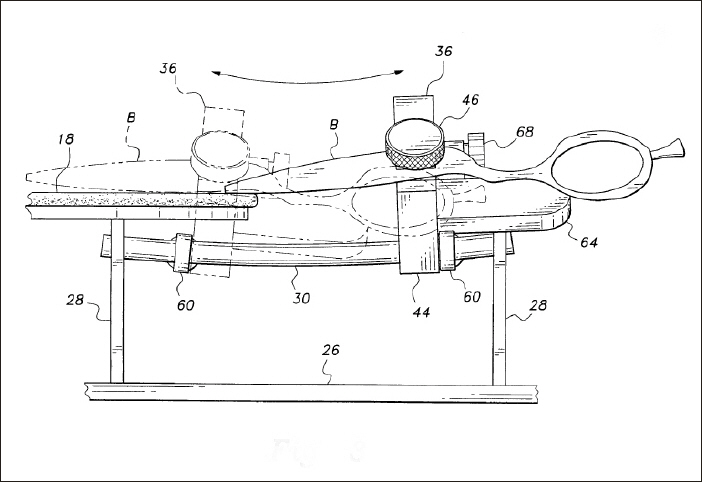
Автор предлагает Вам один из простых и быстрых вариантов заточки лезвия ленточной пилы. Причём, лезвие даже не придётся снимать в этом случае! Мастер проделывает эту процедуру как бы невзначай, в перерыве между работой. Всего 10 минут времени ушло на заточку этого лезвия, которое, примерно, 120 дюймов в длину. На дюйм приходится где-то 3 зубца. Автор отмечает, что данный метод скорее всего не применим для лезвия с более мелкими зубцами, например, 10-12 на дюйм. То есть, заточить-то можно и такое лезвие, но это будет слишком утомительно.
Материалы. – Листовая фанера 12-14 мм в толщину – Доска – Деревянные бруски – Жестяная полоса – Саморезы по дереву – Дремель.
Инструменты, использованные автором. – Ленточная пила – Шуруповерт.
Процесс изготовления. Вот такое несложное приспособление поддерживает дремель как раз под нужным углом, угол можно настраивать/регулировать, ослабляя немного вот эти два шурупа и слегка проворачивая прибор, выставляя под нужный угол.
Упор выставляется вот таким образом и фиксируется на этом месте. А остальная конструкция устанавливается по упору, чётко посередине лезвия. Потом мастер подталкивает приспособление вперёд и направляет его так, чтобы оно постоянно находилось под прямым углом к лезвию.
Основные сведения о ленточных пилах
Ленточная пила – это режущий инструмент, выполненный в виде зубчатой ленты, имеющей замкнутый контур. Для его обслуживания необходим специальный заточной станок для ленточных пил. Кроме того, ленточные пилы имеют ряд других существенных отличий от традиционных дисковых моделей. Наиболее значимым из таких отличий является возможность получения с помощью такого инструмента пропила с минимальной шириной.
Следует отметить, что это особенно актуально тогда, когда необходимо выполнить распил древесины ценных пород и заготовок из дорогого металла.
Оборудование, оснащенное ленточной пилой, может успешно использоваться для обработки деталей, изготовленных из разных материалов и имеющих различную конфигурацию. Такая обработка характеризуется минимальным количеством отходов обрабатываемого материала, исключительным качеством реза и высокой скоростью процесса. Однако таких параметров обработки можно добиться при условии, что заточка ленточных пил на станке выполняется не только правильно, но и регулярно. При обслуживании ленточного инструмента (особенно если вы справляетесь с этим своими силами) необходимо строго придерживаться рекомендаций квалифицированных специалистов.
Aвтоматическая ленточная пила BOMAR
Ленточные пилы в зависимости от характеристик обрабатываемого материала могут быть изготовлены из разных материалов, отличаться геометрией режущих зубьев. Если говорить о разделении заготовок из металла, здесь наибольшее распространение получили две марки стали, используемые для изготовления пил: 9ХФ и В2Ф.
Оборудование для распила древесины оснащается пилами, выполненными из инструментальной стали, твердость которой по шкале HRC составляет не менее 45 единиц.
Ленточные инструменты для распиловки древесины дополнительно подразделяются на три типа: столярные, делительные, для обработки бревен. Инструменты, относящиеся к разным типам, естественно, имеют разные параметры (размеры полотна, форма и угол заточки). Более твердые породы дерева обрабатывают инструментом с меньшим углом заточки.
Сегодня все активнее используются ленточные пилы биметаллического типа, которые необходимы для разделения заготовок, выполненных из твердых сортов стали. Биметаллическими такие пилы называются потому, что состоят из двух разных металлов: режущие зубья – из стали с большим содержанием вольфрама и молибдена, а само полотно – из пружинных сталей. Конечно, такие полотна значительно дороже типовых моделей, так как для их изготовления необходимо специальное оборудование, в котором соединение двух разнородных металлов происходит под действием электронного луча.
Биметаллическая ленточная пила
Гриндер своими руками: чертежи с размерами — инструкция по сборке
При разработке особое внимание уделяется конфигурации роликов, способу фиксации изделия и оптимальной мощности силового агрегата. Об этом подробнее.
Изготовление роликов
Особое внимание требует изготовление главного, ведущего ролика, выполняющего роль шкива! Он должен быть в достаточной мере массивным. Это позволит во время пускового момента избежать ненужного рывка, за счёт присутствующей инерции состояния покоя. Скорость набирается постепенно до нужных значений. Если учесть применение в конструкции привода стандартного силового агрегата, со скольжением, не превышающей 9%, при номинальных 1500 об/мин, скорость составит не более 1400 об/мин максимум.
Ещё один нюанс! Сталь либо чугун для изготовления ведущей детали не годятся, ибо при пуске на двигателе будет больная нагрузка, или он вовсе не сможет прокрутить слишком тяжёлую болванку.
Для решения возникшего затруднения есть два варианта:
- Изготовить полый стальной ролик для уменьшения массы по принципу: больше диаметр — глубже полость. Точные размеры можно рассчитать с помощью справочника, хотя особая точность необязательна.
- Второй вариант: изготовление ролика из дюралюминия марки Д16 и выше.
На шкиве желательно выточить торцевую канаву, чьи размеры будут идентичны размерам предполагаемой к применению ленты. Это поможет предотвратить неконтролируемый сход ленты при неправильном расположении роликов в плоскости вращения.
То же рекомендуется проделать и с остальными направляющими роликами, включая натяжной. Применение дюраля для их изготовления позволит исключить операцию по вытачиванию полостей для регулировки веса.
Немалое значение имеет степень шероховатости поверхности роликов. Рекомендуемые предельные величины: Ra1,25-Ra2,5. Повышенная шероховатость приведёт к преждевременному износу основания ленты, а шероховатость ниже обозначенного предела будет способствовать ненужному проскальзыванию в процессе долговременной эксплуатации.
Установка роликов должна производиться с применением подшипниковых узлов закрытого типа на базе самоцентрирующихся подшипников с неподвижным внешним кольцом. Попадание абразивных или других частиц на вал ролика при такой установке исключено. При подборе подшипников надо учесть соответствие их несущих параметров с максимальным количеством оборотов силового агрегата.
Крепление роликов можно осуществить с помощью обычных шплинтов либо с применением буртика на одном конце оси, как предписано стандартом. Ведущий ролик должен иметь паз для общей с валом двигателя шпонки.
Двигатель и поворотный стол
Если вы собираетесь собрать ленточный гриндер своими руками, то особое внимание стоит уделить выбору привода! Чаще всего используют движок на 0,75 кВт (хотя не возбраняется и до 1,5 кВт) с числом оборотов от 1500 до 3000.
Необходимо учесть, что лента может не выдержать высоких скоростей. Как правило, мощность движка выбирают в зависимости от предполагаемых операций на собранном станке.
Если преобладают обдирочные работы, когда нагрузка на привод большая, силовой агрегат устанавливают более мощным, но с меньшим количеством оборотов, а если требуется просто поверхностная шлифовка, параметры остаются в упомянутых выше пределах.
Процесс шлифовки характеризуется немалыми загрязнениями в виде микроскопических частиц пыли, поэтому двигатель должен быть закрытого типа с собственным вентилятором для обдува! Рекомендации «знатоков» об использовании двигателя от стиральной машины б/у лучше игнорировать.
Для проектирования самодельного гриндера необходимы чертежи с размерами, кроме этого, неплохо подумать о технике безопасности и удобстве работы на собранном аппарате. Для этого требуются:
- Поворотный стол.
- Прижимная плоскость с обратной стороны ленты для опоры.
Для первой задачи кронштейн столика должен быть подвижным, с возможностью поворота на 90 градусов и фиксацией в предельных точках. Рекомендуемая толщина стола – не менее 15 мм, желательно использование дюраля.
Для прижимной плоскости годится отшлифованная возле опорного столика рама станка.
Самодельный гриндер с двигателем от стиральной машины
| Иллюстрация | Описание действия |
| Для работы потребуется обычный асинхронный двигатель от старой стиральной машины. | |
| Привариваем к мотору две стальные пластины, на них − шайбы. Крепления помогут нам прочно и безопасно установить мотор на станину. | |
| Для работы также понадобится абразивная лента, в нашем случае − 610×45 мм(ширину отрезали под наши ролики). | |
| Ушки, болт и ролик потребуются нам для создания регулирующего механизма для контроля за положением роликов во время работы. | |
| Начинаем сварку механизма крепления роликов. | |
| К станине привариваем металлический лист с прорезью для мотора. | |
С другой стороны конструкции крепим металлический уголок для жёсткой фиксации двигателя.![]() | |
| Устанавливаем шкив в виде чаши на вал двигателя, он будет фиксироваться на шпоночном фазу. | |
| Заранее вытачиваем ролики с распорными втулками, в них устанавливаем подшипники. | |
| Исходя из натяжения ленты, примеряем место установки удерживающего механизма для ведомого ролика, отмечаем места креплений, выравниваем конструкцию так, чтобы лента была достаточно натянута. | |
| Высверливаем отверстие для крепления болта, на котором в будущем будет держаться вся конструкция. | |
| Болт позволит в будущем выполнять более точную регулировку натяжения ленты. | |
| Наш болт позволяет конструкции функционировать как маятник, а значит, легко контролировать натяжение шлифовальной ленты. | |
А с помощью этой рукоятки с болтом мы можем регулировать положение роликов относительно друг друга, причём это можно делать даже во время работы станка.![]() | |
| Для регулировки натяжения ленты используется мебельный газовый подпор. |
Гриндер такого типа легко поможет заточить затупившиеся свёрла или мелкие делали.
Гриндер из болгарки своими руками: чертежи
Чертёж гриндера с размерами для самостоятельной сборки
Это один из самых простых гриндеров, который можно сделать своими руками. Конструкция такого механизма предназначена, прежде всего, для зачистки сварочных швов. Однако, если его жёстко закрепить на столе, оно с успехом может применяться в качестве заточного станка для правки режущего инструмента или заточки ножей, топоров и т.п.
Гриндер для дрели
Гриндер для дрели – это специальная насадка, которую можно сделать в несколько этапов. Вариантов, какой она может быть, сотни. Мы выбрали нестандартную модель.
| Иллюстрация | Описание действия |
Для работы потребуется вал с шестернями, подшипники и листовой металл.![]() | |
| Вырезаем две пластины размером 110×250 мм. | |
| Просверливаем необходимые отверстия на каждой из пластин. | |
| В этой части подшипники будут подаваться для регулировки. | |
| Далее берём «шпильку» и нарезаем по 120 мм. | |
| Устанавливаем самодельные ролики на шпильки, закрепляем болтами. | |
| Протягиваем ленту и закрепляем с другой стороны. | |
| Изготавливаем основу для крепления гриндера. | |
| Гриндер крепим на станину, а дрель фиксируем с помощью хомутиков. | |
| Не забываем выточить уголок для удобной фиксации ножа во время заточки. |
Такие гриндеры могут помочь подточить ножи или любые плоские детали.
Станок для заточки ленточных пил своими руками
Ленточная пила – режущий инструмент замкнутого типа, использующийся на лесопильном оборудовании.
Безусловными преимуществами этих элементов считаются высокая производительность и минимальное количество отходов производства. Возможно, что при распиловке обычных досок последний факт не играет существенной роли, но если речь идёт об обработке древесины ценных пород, ширина пропила и качество реза напрямую влияют на экономическую выгоду.
Правильная заточка ленточной пилы по дереву – это гарантия эффективности производства и долговечности инструмента. Обычно такие услуги оказывают специализированные компании, но если знать порядок действий и тонкости процедуры, заточить затупившуюся пилу можно самостоятельно.
Конструкция ленточной пилы
Ленточные пилы – это особая беспрерывная конструкция, которая характеризуется наличием режущих элементов с одной стороны.
Это режущий элемент, с помощью которого производятся работы по дереву.
Наиболее часто ленточные пилы применяются в разнообразных ленточнопильных полотнах.
С их помощью осуществляется резка разнообразных деталей. С помощью этих полотен обеспечивается достаточно высокое качество реза.
Обеспечивается все это только в том случае, если пила имеет хороший развод. Также инструмент необходимо своевременно обслуживать.
Заточной станок для ленточных пил
Ленточные пилы производятся из сверхпрочного металла, что обеспечивает не только высокое качество реза, но и длительность эксплуатации пилы. Зубья имеют универсальный угол, что позволяет максимально качественно проводить распиловку материала.
Формы режущей части и угол заточки полотен
Геометрия режущих элементов ленточных пил может быть разнообразной, что напрямую зависит от материала, который предназначается для распиловки. Станки по дереву наиболее часто оснащаются специальными пилы, с помощью которых можно проводить:
- столярные работы;
- распиливать бревна и брусья;
- использовать на делительных пилах.

Угол заточки при этом определяется строго производителем инструмента. Передний угол заточки будет максимально маленьким при использовании твердой древесины.
Ленточные пилы по металлу оснащаются пилы с различной формой полотна, что напрямую зависит от используемого для распиловки металла.
Если необходимо провести резку тонкостенных металлов и при этом иметь тонкую стружку, передний угол реза при распиловке которого будет равняться нулю, тогда используется стандартная резка.
Угол заточки может быть разнообразным. Он напрямую зависит от строения приспособления.
Профили зубьев
Зуб, который имеет положительный передний угол, имеют те пилы, которые широко используются для распиловки металла с толстыми стенками.
Шаг полотна, с помощью которого осуществляется распиловка тонкого металла, достаточно небольшой.
Для того чтобы разрезать толстостенный металл, необходимо использовать приспособления, которые имеют большое количество полотен.
В некоторых случаях оборудование имеет переменный шаг, что позволяет устранить эффект резонанса. Изменение расстояния между зубьями напрямую зависит от определенной группы.
Развод режущих элементов ленточной пилы
Развод – это отгиб полотен ленточных пил в разные стороны. Это позволяет значительно снизить трение полотна и предотвратить его зажатие.
Для обеспечения свободного передвижения полотна о стенки распиливаемого материала его ширина должна быть больше, чем толщина этого материала.
Типы разводок ленточных пил
Развод может иметь несколько разновидностей. У разных производителей он может иметь различные названия. Наиболее часто может быть:
- Стандартным, который характеризуется противоположным отгибанием режущих элементов в разнообразные стороны. Наиболее часто она используется для ленточных пил, которыми осуществляется распиловка твердого материала.
- Волнистым, который относится к категории сложных конструкций.
Развод в данном случае имеет переменное значение. При этом образовывается своеобразная волна.
Приспособление для разводкиПриспособление для разводки Тайга
Развод заключается в отгибе не всего полотна, а только определенной части его вершины. Параметры определяются строго производителями инструмента. Их диапазон составляет от 0,3 до 0,7 миллиметров.
Защищающим. Развод заключается в загибании двух зубьев. При этом третий остается на месте. Предназначается для ленточных пил по обработке особо твердого материала.
По форме каждый третий зуб напоминает трапецию. Местом расположения является центр полотна. С его помощью осуществляется максимально правильное направление пильной ленты.
Станки по дереву характеризуются универсальной конструкцией пильного инструмента.
Но развод не должна быть таковым, чтобы по центру располагался клин без выреза. Развод должен характеризоваться одинаковым расположением всех режущих элементов.
Разводить зубья необходимо таким образом, чтобы отклонение было не более 0,1 миллиметра.
Если пилы будут располагаться неравномерно, то это приведет к тому, что ленточнопильное оборудование в процессе работы будет отходить в сторону.
Во время работы полотна очень часто наблюдается его разрыв. Это объясняется тем, что плохо осуществляется его заточка.
Это объясняется концентрацией напряжения в профиле полотна, если заточка проведена на некачественном уровне. Необходимость в проведении процедуры определяется по состоянию ленточных пил.
Если шероховатость поверхности пропила увеличивается, то это приводит затуплению инструмента.
Заточка инструмента осуществляется с помощью алмазных, электрокорундовых, эльборовых дисков. Их выбор напрямую зависит от особенностей обрабатываемого материала.
Заточка полотна, материалом производства которого выступает инструментальная сталь, осуществляется корундовыми кругами.
Процедура для биметаллических инструментов осуществляется правильно в том случае, если используется алмазный или эльборовый круг.
Как провести эту процедуру расскажет инструкция. Самое главное, чтобы в процессе не изменился угол.
Для заточки могут использоваться круги различных диаметров. Выбор одного из них определяется параметрами приспособления.
С этой целью наиболее часто используются профильные, плоские, тарельчатые, чашечные круги.
Правильно выполняется заточка в том случае, если окружная скорость составляет от 20 до 25 метров за секунду.
Принцип заточки ленточных полотен
При наличии на приспособлении зазубрин на краю заготовки будут наблюдаться выкрашивания. Именно поэтому необходимо, чтобы заточка проводилась правильно.
Во время этого процесса необходимо работать не только с передней, но и с задней частью полотна. Заточка приспособлений может осуществляться разными кругами. При этом необходимо учитывать угол расположения полотна.
Если вы хотите провести процедуру правильно, то вам нужно научиться ей у специалиста.
Заточка пилы
Для того чтобы ленточнопильное оборудование работало качественно, необходимо не только правильно подбирать его, но и своевременно его затачивать.
С этой целью наиболее часто используются специальные круги.
Данная процедура является максимально простой, что позволяет ее с легкостью произвести мастеру без соответствующего опыта., пожалуйста, выделите фрагмент текста и нажмите Ctrl+Enter.
Особенности заточки ленточных пил
Если вы пользуетесь ленточной пилой, имейте в виду, что заточить ее самостоятельно совсем несложно. При этом вам не придется оплачивать услуги по заточке, оказываемые специализированными мастерскими.
Основные сведения о ленточных пилах
Ленточная пила – это режущий инструмент, выполненный в виде зубчатой ленты, имеющей замкнутый контур.
Для его обслуживания необходим специальный заточной станок для ленточных пил. Кроме того, ленточные пилы имеют ряд других существенных отличий от традиционных дисковых моделей.
Наиболее значимым из таких отличий является возможность получения с помощью такого инструмента пропила с минимальной шириной.
Следует отметить, что это особенно актуально тогда, когда необходимо выполнить распил древесины ценных пород и заготовок из дорогого металла.
Оборудование, оснащенное ленточной пилой, может успешно использоваться для обработки деталей, изготовленных из разных материалов и имеющих различную конфигурацию.
Такая обработка характеризуется минимальным количеством отходов обрабатываемого материала, исключительным качеством реза и высокой скоростью процесса.
Однако таких параметров обработки можно добиться при условии, что заточка ленточных пил на станке выполняется не только правильно, но и регулярно.
При обслуживании ленточного инструмента (особенно если вы справляетесь с этим своими силами) необходимо строго придерживаться рекомендаций квалифицированных специалистов.
Aвтоматическая ленточная пила BOMAR
Ленточные пилы в зависимости от характеристик обрабатываемого материала могут быть изготовлены из разных материалов, отличаться геометрией режущих зубьев.
Если говорить о разделении заготовок из металла, здесь наибольшее распространение получили две марки стали, используемые для изготовления пил: 9ХФ и В2Ф.
Оборудование для распила древесины оснащается пилами, выполненными из инструментальной стали, твердость которой по шкале HRC составляет не менее 45 единиц.
Ленточные инструменты для распиловки древесины дополнительно подразделяются на три типа: столярные, делительные, для обработки бревен.
Типы разводки ленточных пил
Как и любой другой инструмент, ленточная пила подвергается износу после каждого цикла резки. Это естественный и неизбежный процесс. Именно поэтому каждая пила ленточного типа нуждается в регулярном и квалифицированном обслуживании – разводке и заточке. Такое обслуживание позволяет не только поддерживать режущее полотно в рабочем состоянии, но и значительно увеличивать срок его эксплуатации.
Увеличить срок службы режущего полотна и значительно улучшить его функциональные возможности позволяет правильная разводка. Смысл такой операции заключается в следующем: режущие зубья пилы отгибают в разные стороны, что позволяет уменьшить силу трения в процессе резки, а также минимизировать риск зажатия полотна обрабатываемой деталью. Разводка ленточной пилы может выполняться по трем схемам, выбор которой зависит от типа обрабатываемого материала.
- При так называемом зачищающем типе разводки зубья отгибают таким образом, что нетронутым остается каждый третий из них. Такую схему применяют, если режущее полотно будет использоваться для распила особо твердых металлов и сплавов.
- Классический тип разводки предполагает поочередный отгиб каждого режущего зуба.
- При волнистой разводке каждый режущий зуб отгибается на определенный угол. Понятно, что такой тип разводки является наиболее сложным из всех остальных.
Станок для разводки ленточных пил
Для отгиба зубьев ленточной пилы применяется специальное оборудование, позволяющее выполнить такую технологическую операцию быстро и максимально точно.
По общепринятым нормативам, максимальная величина разводки зубьев не должна превышать 0,7 мм, но обычно ее значение находится в диапазоне 0,3–0,6 мм. Важно не только выбрать тип разводки, ориентируясь на характеристики материала, который предстоит распиливать, но и выполнить ее правильно, отогнув зубья только на 1/3 или 2/3 их высоты.
После разводки можно отправлять режущее полотно на станок для заточки ленточных пил. Как показывает статистика, ленточные пилы чаще всего утрачивают свои функциональные возможности по причине того, что их заточка была выполнена неправильно или несвоевременно. Показателем того, что ленточная пила нуждается в разводке и дальнейшей заточке на станке, является повышенная шероховатость поверхности распила. Необходимость в такой процедуре можно также определить по внешнему виду режущих зубьев.
Основными элементами любых заточных станков являются круги, выбор которых, в первую очередь, зависит от твердости материала, использованного для изготовления режущих зубьев.
Для того чтобы точить твердые материалы, необходимо использовать соответствующие круги. Так, для заточки полотен биметаллического типа выбирают точильные инструменты, состоящие из боразоновых или алмазных элементов, а для приведения в порядок пил, выполненных из инструментальных сталей, вполне подойдут корундовые круги.
Инструменты для заточки пил ленточного типа выбирают и по составу, и по конструктивному исполнению. Для различных по своей конструкции и размерам полотен в станках могут использоваться круги следующих типов:
- тарельчатой конфигурации;
- чашечной формы;
- профильные;
- плоские.
Комплект устройств Wood-Mizer для заточки и разводки ленточных пил
Согласно инструкции, при заточке ленточной пилы на станке следует следить за соблюдением следующих требований.
- На поверхности зуба при его заточке не должно оставаться заусениц.
- Точильный круг должен снимать одинаковый слой металла по всему профилю зуба.

- Во избежание перегрева зубьев при их точении на станке следует обязательно использовать специальную жидкость для охлаждения.
- При выполнении заточки не должны изменяться профиль и высота обрабатываемых зубьев.
- Следует обязательно следить за давлением, которое оказывает круг заточного станка на обрабатываемый зуб. Если пренебречь этим требованием, давление может оказаться слишком значительным, что может привести к отжигу зубьев.
Чтобы облегчить процесс выполнения заточки, полотно ленточной пилы предварительно выворачивают и в таком состоянии подвешивают на 10–12 часов.
Заточка пил ленточного типа своими руками имеет некоторые особенности. В таких случаях, как правило, заточке подвергают заднюю поверхность зубьев, хотя, если воспользоваться инструкцией производителя или посмотреть тематическое видео, то можно заточить и их переднюю поверхность.
Подготовка приспособления к работе
В ходе постоянного использования инструмента неизбежно понижение качества режущей кромки.
Она затупляется, а ширина разведения зубьев уменьшается. Исходя из этого, заточка пилы по дереву и ее разводка являются необходимыми составляющими технического обслуживания ленточнопильного станка.
Следует учесть, что разводку зубьев следует осуществлять до их заточки, а не наоборот.
Разводка инструмента
Применение разводного станка.
Разводка представляет собой процесс отгибания зубчиков по сторонам. Данная операция нужна для того, чтобы полотно пилы не зажимало в заготовке, а также для уменьшения трения при работе.
Есть 3 основные типа разведения.
- При классическом методе зубчики отгибаются влево-вправо в строгой очередности.
- При зачищающем способе каждый третий из зубьев остается в исходной позиции. Он оптимален для приспособлений, предназначенных для резки особенно твердых сортов древесины.
- При волнистой разводке каждому зубу придается своя отдельная величина отгиба. В этом случае профиль полотна приобретает вид волны.
Данный метод наиболее сложен.
Обратите внимание! Осуществляя разводку, следует отгибать не весь зубчик, а только его треть либо две трети от вершины. Компании-производители советуют осуществлять операцию так, чтобы диапазон отгибания укладывался в 0.3-0.7 миллиметра. Производится работа с помощью специализированного разводящего инструмента.
Заточка пилы
Эльборовые круги, имеющие разную форму.
Перед тем, как заточить пильный диск по дереву либо ленточный инструмент, учтите, что более 80% инцидентов с порчей приспособлений (в том числе их разрыв) происходят вследствие несоблюдения норм работы.
- Нужда в операции определяется зрительно. При этом следует обратить внимание на состояние зубчиков и качество стенок разреза (например, увеличенную их шероховатость).
- Круги для точки ленточного инструмента избираются, исходя из степени твердости зубчиков. Для работы с приспособлениями из инструментальной стали необходимы корундовые диски.
Пилы биметаллические точат на боразоновых либо алмазных кругах. - Форму наждака для ленточных приспособлений надо выбирать, отталкиваясь от их параметров. Известны круги чашечные, профильные, тарельчатые, плоские.
- Перед осуществлением операции необходимо пилу вывернуть и дать ей повисеть в таком положении около 10-12 часов.
Ручное обслуживание инструмента.
Схема заточки пилы по дереву должна учитывать нижеследующие положения.
- Снятие металла по профилю зубцов должно быть равномерным.
- Излишний нажим заточного приспособления должен быть пресечен. Он может вести к отжигу.
- Профиль полотна и высота зубцов должны оставаться неизменными.
- Должно быть обеспечено жидкостное охлаждение при осуществлении операции.
- Заусенцев на зубчиках возникать не должно.
Обратит внимание! Теоретическая инструкция заточки ленточных пил по дереву оповещает, что осуществлять ее следует или по передней стороне зубцов, или как по задней, так и по передней.
В реальной жизни же большинство специалистов и самодеятельных мастеров производят операцию лишь по задней стороне, т.к. это более удобно.
Методы затачивания
На фото автоматическая полнопрофильная заточка.
Готовить инструмент к работе можно при помощи специальных заточных приспособлений (например, станков с разными по материалу и форме кругами) либо вручную. Перед тем, как правильно заточить пилу по дереву, следует изучить основные методы проведения этой операции.
Первый способ – это полнопрофильное затачивание.
- Он самый качественный, операция осуществляется на станке-автомате.
- Эльборовый наждак, выбранный точно по форме, проходит всю поверхность межзубцовой впадины заодно с сопутствующими плоскостями соседних зубцов одним движением.
- Создание угловатостей у вершин зубьев исключается полностью.
- Относительный минус подобного затачивания – это нужда иметь в своем распоряжении соответствующее число кругов для полотен, имеющих разные профили.

Инструмент, наточенный по граням.
Метод второй – это затачивание граней зубцов.
Делать это можно и вручную, и используя профессиональный станок.
- Выбрав станок, необходимо определиться с применяемым кругом. Как правило, он плоский. К специализированным заточным устройствам следует прибегать лишь тогда, когда предстоит много такой работы.
- В бытовых условиях заточку лучше всего осуществлять своими руками – на обычном механическом наждаке либо с помощью гравера. Осуществляя операцию, не забывайте о личной защите и используйте перчатки, маску или специальные очки.
Работа при помощи гравера.
- Когда гравера, станка, наждака у вас и ваших соседей нет, можно пилу ленточную наточить и традиционным народным методом – с помощью надфиля.
Заточка пилы
При эксплуатации пилы происходит снижение качества реза по причине затупления резцов, уменьшение ширины их разводки. Поэтому, чтобы повысить режущие свойства, необходимо заточить режущие кромки ленточной пилы.
Инструкция по выполнению работ:
- Разводка.
- Точение.
В домашних условиях разводку зубцов можно выполнить следующими способами:
- классическим: последовательное отгибание в соответствующую конструкции сторону;
- зачищающим: отгибание в обе стороны двух рядом расположенных зубцов, а третьего – оставить без изменений в начальной позиции;
- волнистым: каждый зуб разводится на разную величину в виде волны.
Заточка выполняется в следующей последовательности:
- Подбираются точильные круги с учётом твёрдости материала. Для обработки инструментальной стали нужно применять диски из корунда. Заточить биметаллические инструменты можно алмазными дисками.
- Наждак для ленты. Выпускается со следующими формами: тарельчатая, плоская, чашечная, профильная.
- Ленту следует очистить от загрязнений, масляных пятен, стружки. Затем вывернуть зубьями в обратную сторону и в таком виде повесить внутри помещения на 12 часов.

- Выполнить заточку подготовленными инструментами.
Основные правила точения пил:
затачивание зубцов выполняется с одной или двух сторон полотна; с зубцов нужно снимать одинаковые слои металла, чтобы линия реза формировалась ровной, кромки были гладкими; при точении кругами недопустимо сильное прижатие затачиваемых кромок к абразивной поверхности, чтобы предотвратить отжиг металла и потерю механических свойств; для охлаждения инструмента во время работы требуется водяное охлаждение; важно сохранять геометрию полотна и зубцов; при обнаружении заусенцев требуется их удаление.
Правильно разводить зубцы нужно не полностью всей плоскостью, а отгибать только 1/3 или 2/3 от вершины. По рекомендациям производителей величина отгиба — от 0,3 до 0,7 мм.
Зубья и углы заточки
Профили полотен зависят от их назначения и свойств распиливаемых материалов. Основные отличительные параметры: угол заточки, форма зубцов, расстояние разводки. Профили маркируются следующим образом:
- WM – универсальный, для материалов различной твёрдости;
- AV – для продольного разрезания вдоль волокон древесины, используется для твёрдых сортов;
- NV – применяется для фигурной или декоративной нарезки;
- NU – для мягких материалов, имеет широкий шаг;
- PV – аналог NU, но со сплющенными зубцами;
- KV – для мягких материалов, устанавливается на широкие пилы;
- PU – для твёрдых материалов, используется для установки на широкие пилы.

Углы заточки ленточных пил подбираются так:
- 350 для столярных пил;
- от 180 до 220 для делительных;
- до 150 для распиливания бруса.
Способы заточки и оборудование для нее
Решать, какой способ заточки выбрать, надо в конкретном случае, но существует две основных схемы выполнения данного процесса.
Заточка по полнопрофильной схеме
Для выполнения такой заточки применяют автоматизированные станки, на которые установлены круги эльборового типа. Выполнить такую заточку своими руками очень сложно. Технология обработки по этой схеме предполагает выбор точильного круга для каждого типа ленточной пилы. При этом учитываются размеры и форма зубьев. Сама заточка имеет следующие особенности: она выполняется за одно перемещение круга, при этом он одновременно обрабатывает поверхности двух зубьев, расположенных рядом. При таком методе заточки удается получить плавный переход у основания зубьев. Самый большой минус такой технологии заточки заключается в необходимости использования отдельных заточных кругов для обработки пил с разными характеристиками режущих зубьев.
Заточка только граней режущих зубьев
Таким способом можно заточить инструмент для своей пилорамы и вручную, и на станке. Заточить грани зубьев пилы вручную можно при помощи обычного гравера или надфиля. Однако более качественно и быстро сделать заточку по такой технологии позволяют специальные станки. В таком случае также придется подбирать круги для ленточных пил разного размера и с различной конфигурацией зубьев.
Устройство для заточки ленточных пил АЗУ-02/6.
Конструкция стандартного заточного станка включает в себя следующие элементы:
- основание;
- приводы для обеспечения подачи полотна пилы, вращения и качания точильного круга;
- устройство для закрепления обрабатываемого инструмента.
Управление всеми движениями заточного круга и ленты пилы осуществляется при помощи специального электронного блока.
При выполнении заточки зубьев пилы своими руками (особенно если у человека, который этим занимается, нет соответствующего опыта) могут возникать следующие проблемы: появление неправильной формы пазух между зубьями и несоблюдение угла их наклона.
Причины таких недостатков заключаются, как правило, в следующем: для точения используется круг несоответствующего профиля, выбран неправильный угол его наклона, смещен эксцентрик заточного станка.
Малая ширина пропила обуславливает относительно низкие затраты энергии на разделку материала. И, наконец, ленточной пилой можно разрезать заготовку практически любой толщины, в то время как геометрия дисковой пилы накладывает ограничения на толщину разрезаемого ею материала. Однако чтобы воспользоваться всеми этими преимуществами, ленточные пилы нужно уметь правильно подготавливать к работе. К основным подготовительным операциям относятся заточка и разводка ленточных пил.
Материал пил
Пилы для дерева производят из инструментальной легированной стали, имеющей твердость 40-45 HRC. Отечественные производители используют стали 9ХФ, В2Ф (для ленточных пил по металлу) и др., зарубежные – свои стали (C75, Uddeholm UHB 15 и пр.). При закалке зубьев таких пил токами высокой частоты они могут приобретать твердость до 64 HRC и выше.
Пилы для резки углеродистых сталей и цветных металлов небольшой толщины также изготавливают из инструментальной стали с обязательной закалкой зубьев токами высокой частоты. Однако чаще для резки металла используют биметаллические пилы, у которых полотно изготовлено из пружинной стали, а полоска, на которой нарезаются зубья, из быстрорежущей стали с высоким содержанием вольфрама и кобальта. После закалки она приобретает твердость до 65-69 HRC. Быстрорежущую сталь приваривают к основанию пилы электронным лучом.
Биметаллические пилы способны резать толстый металл из инструментальных, нержавеющих, жаростойких и других сталей, сплавов титана и прочих металлов.
Зубья с большей износостойкостью получают наплавляя их стеллитом (сплавом на основе хрома и кобальта с добавками вольфрама и/или молибдена) или припаивая к ним пластинки из твердых сплавов. Такие пилы превосходят по своим режущим способностям биметаллические. Их используют для резки стекловолокна, автопокрышек, кабелей, армированных пластмасс, жаропрочных сплавов, графита, газобетона, кирпичей и прочих трудно поддающихся обработке резанием материалов.
Геометрия зубьев ленточных пил
Для распиловки древесины применяются три основных типа зубьев: для столярных работ, для делительных пил, для распиливания брусьев и бревен.
Конкретные значения углов заточки ленточных пил определяются производителями, исходя из множества факторов. В общем же можно выделить такую зависимость – чем тверже древесина, тем меньше передний угол (γ).
Для пил по металлу также используют различную форму зуба в зависимости от того, для резки какого металла они предназначены. У пил с постоянным шагом различают две основные формы.
Стандартная, предназначенная для резки тонкостенного металла с короткой стружкой с передним углом (γ) равным 0°.
Зуб с положительным передним углом (γ), используемый в пилах для резки толстостенного металла с длинной стружкой.
Для тонкостенного материала применяют пилы с относительно малым шагом (количество зубьев на дюйме – от 4-х до 18-ти). Пилы для резки толстостенного материала не нуждаются в большом количестве зубьев, их число составляет 1,25-6 зубьев на дюйм.
Для устранения эффекта резонанса, приводящего к вибрациям полотна, некоторые пилы делают с переменным шагом, при котором расстояние между зубьями изменяется в рамках отдельной группы. Размер шага обозначается наибольшим и наименьшим значениями.
Развод ленточных пил
Существуют несколько видов разводки, названия которых могут отличаться у разных производителей. Основные виды такие.
Стандартная, при которой зубья поочередно отгибаются в противоположные стороны.
Зачищающая, у которой после отгиба двух зубьев, третий не разводится, оставаясь на месте.
Применяется в основном для пил, предназначенных для резки особо твердых сплавов и материалов. Каждый третий зуб имеет трапецеидальную форму, он остается по центру пилы и служит для направления всей пильной ленты.
Волнистая, самая сложная, при которой зубья отгибаются с переменным значением величины отгиба, образуя своеобразную волну.
При разводе отгибают не весь зуб, а только его часть на расстоянии 1/3-2/3 от вершины.
У производителей пил имеются свои рекомендации по параметрам развода их пил, однако в общем случае значения, рекомендуемые ими, укладываются в диапазон 0,3-0,7 мм.
Общим правилом является то, что развод у ленточных пил для резки мягких пород древесины должен быть больше, чем у пил для обработки твердых пород. Но никогда не должен быть такой выгиб зубьев, чтобы оставался не вырезанный клин по центру.
При разводе должна быть обеспечена его одинаковость для всех зубьев. Отклонение не должно превышать 0,1 мм. При неравномерной разводке пила может уходить в сторону более сильного развода.
Приспособления для развода
Простое рычажное разводное устройство (модель РУ-05) представлено на рисунке ниже.
Пила устанавливается в паз устройства зубом напротив щупа стрелочного индикатора, служащего для замера величины развода. С помощью передвижной шкалы стрелка индикатора устанавливается на ноль.
При нажатии на разводной рычаг болт (1) давит на зуб, изгибая его и осуществляя тем самым его разводку.
Стрелка индикатора показывает величину разводки. Вворачиванием или выворачиванием болта устанавливается её требуемое значение, после чего болт стопорится контргайкой (2).
Развод осуществляется через один зуб, после чего полотно разворачивается, и операция повторяется в отношении остальных зубьев.
Есть и более простые устройства для развода, предназначенные для развода пил-ножовок. Хотя они не могут обеспечить высокой точности и требуют определенных физических усилий, в крайнем случае , можно воспользоваться и ими.
Заточной станок для ленточных пил — его устройство, разводка зубьев и инструкция
Применение заточного станка для ленточных пил позволяет быстро и качественно восстановить рабочую поверхность инструмента и обеспечить заявленный производителем объем порезки древесины до разрыва полотна.
Источники
- https://LedModa.ru/samodelki/samodelnyj-zatochnoj-stanok-dlya-lentochnyh-pil.html
- https://b2b-instrument.ru/samodelki/kak-samomu-sdelat-lentochnyj-zatochnoj-stanok-2.
html - https://melt-spb.ru/oborudovanie/razvodka-lentochnoj-pily.html
- https://instanko.ru/drugoe/zatochka-lentochnyh-pil.html
[свернуть]
▶▷▶▷ как сделать станок для заточки ленточной пилы своими руками
▶▷▶▷ как сделать станок для заточки ленточной пилы своими руками
| Интерфейс | Русский/Английский |
| Тип лицензия | Free |
| Кол-во просмотров | 257 |
| Кол-во загрузок | 132 раз |
| Обновление: | 15-03-2019 |
как сделать станок для заточки ленточной пилы своими руками — Yahoo Search Results Yahoo Web Search Sign in Mail Go to Mail» data-nosubject=»[No Subject]» data-timestamp=’short’ Help Account Info Yahoo Home Settings Home News Mail Finance Tumblr Weather Sports Messenger Settings Want more to discover? Make Yahoo Your Home Page See breaking news more every time you open your browser Add it now No Thanks Yahoo Search query Web Images Video News Local Answers Shopping Recipes Sports Finance Dictionary More Anytime Past day Past week Past month Anytime Get beautiful photos on every new browser window Download Заточка ленточной пилы своими руками | Строительный портал strportru/instrumenty/zatochka-lentochnoi-pily-svoimi Cached Как сделать обвязку фундамента арматурой с задачей своими руками ? Безусловно, если Как своими руками заточить полотно для ленточной пилы,простое wwwyoutubecom/watch?v=eD1j4RQGGhI Cached Как своими руками заточить полотно для ленточной пилы ,простое приспособление Сергей Владимирович Loading Как Сделать Станок Для Заточки Ленточной Пилы Своими Руками — Image Results More Как Сделать Станок Для Заточки Ленточной Пилы Своими Руками images Самодельный заточной станок для ленточных пил видео обзор wwwyoutubecom/watch?v=VBxCLhWcxuE Cached Столярные изделия своими руками 1,493,421 views 13:45 Заточной станок для ленточных пил — Duration: 12:07 Как сделать ленточную пилу по дереву своими руками instrumentguru/svoimi-rukami/kak-sdelat-lentoch Cached Материалы для изготовления ленточной пилы своими руками Сделать всю конструкцию ленточной пилы из подручных средств не получится Ленточная пила своими руками: чертежи и советы по изготовлению fbru/article/177861/lentochnaya-pila-svoimi-rukami Cached Для того чтобы начать изготовление ленточной пилы своими руками , необходимо подготовиться Вам нужны такие инструменты: — Сварочный аппарат — Резальный и точильный станок — Шуруповерт Чертежи и сборка ленточной пилы своими руками pochiniguru/instrument/sborka-lentochnoy-pilyi Cached Особенности сборки ленточной пилы своими руками сделать своими руками Важно знать Ленточная пилорама своими руками — пошаговая инструкция с prorabguru/insrtrument/lentochnaya-pilorama Cached Как сделать кладовку в квартире для заточки ленточной пилы и разводки её зубьев и т д Не Ленточно шлифовальный станок своими руками – фото и kak-svoimi-rukamicom/2012/06/lentochno-shlifovalnyj Cached Шлифовальный станок своими руками Как Как сделать станок для пилы Ryobu своими руками Ленточная пила по дереву своими руками: чертежи, видео derevo-sru/oborudovanie/instrument/lentochnaya Cached Самодельный ленточнопильный станок для дерева состоит из рабочего стола, служащего основой для элементов: станины, шкивов, блока шкива и ленточной пилы Изготовление самодельной ленточной пилы своими руками chebopro/stroyka-i-remont/kak-sdelat-lentochnu Cached Для уточнения надо использовать рекомендации и инструкции к станку, а также чертежи ленточной пилы по дереву своими руками Promotional Results For You Free Download | Mozilla Firefox ® Web Browser wwwmozillaorg Download Firefox — the faster, smarter, easier way to browse the web and all of Yahoo 1 2 3 4 5 Next 2,020 results Settings Help Suggestions Privacy (Updated) Terms (Updated) Advertise About ads About this page Powered by Bing™
- Заточка ленточных пил, а также их разводка должна производиться качественно и своевременно.
1. В слу - чае заточки ленточной пилы посредством станка, перед началом работ необходимо убедиться в правильности положения заточного диска относительно инструмента.
Ленточная пила — многорезцовый режущий инстр - ти положения заточного диска относительно инструмента.
Ленточная пила — многорезцовый режущий инструмент, применяемый в ленточнопильных станках . Ленточные пилы электроискрового действия работают по тому же принципу, как и круглые пилы электроискрового действия. 3. Геометрия зубьев: профиль зуба и угол заточки.
ЗАТОЧНОЕ ОБОРУДОВАНИЕ ИЗ ОДЕССЫ. От: Ижевская Марка. ZS-13 станок для заточки спиральных сверл и метчиков. Smart TV и STB. От: SterbrustCOM станки для обработки металла и дерева.
Также пилами называют инструменты, станки и устройства, использующие пилу . Ленточная пила. …по дереву (7 полотен) ,. Пила кольцевая ЗУБР 29593-H7-42 серии МАСТЕР представляет собой расходный материал для стационарного станка или электрической дрели.
Заточка зуба обрабатывается общей плоскостью круга с любой стороны, при этом нужно следить за тем, чтобы не был нарушен сам угол заточки.
Каждый из них регулируется по углу наклона, причем стол тарельчатого узла поворачивается не только на 45 вниз, но и на 15 вверх, а стол ленточного можно установить продольно.
Профессиональная заточка ленточных пил!!! #центрзаточкиинструментаспб #заточкаспб #Ялюблюсвоюработу #заточкаленточныхпил. #Обучениезаточке #центрзаточкиинструментаспб #заточкаспб #Ялюблюсвоюработу Проведено обучение двух специалистов из Санкт-Петербурга по заточке фигурных и хоккейных коньков на станке ProSharp AS…
1) применяемые электроприборы включать в сеть и выключать необходимо сухими руками, разборку и чистку электроприборов производить только после отключения от электросети; …а также разобщением звездочки якорного механизма проверить крепление ленточного тормоза;
Инструменты и материалы. пила ленточная; лист фанеры 10мм; две автомобильные помпы; подшипники; двигатель на 1,5 квт.; конденсаторы на 300мкф.; труба профильная и уголок разного размера; сварочный аппарат; слесарные инструменты; крепеж.
Новое прочтение гоголевского отрывка было в дальнейшем переведено с английского на язык африканского племени бамбара, с него опять на французский, где штуки преобразились в вещи, и после этого на итальянский: Ока пила…
где штуки преобразились в вещи
применяемый в ленточнопильных станках . Ленточные пилы электроискрового действия работают по тому же принципу
- простое приспособление Сергей Владимирович Loading Как Сделать Станок Для Заточки Ленточной Пилы Своими Руками — Image Results More Как Сделать Станок Для Заточки Ленточной Пилы Своими Руками images Самодельный заточной станок для ленточных пил видео обзор wwwyoutubecom/watch?v=VBxCLhWcxuE Cached Столярные изделия своими руками 1
- простое wwwyoutubecom/watch?v=eD1j4RQGGhI Cached Как своими руками заточить полотно для ленточной пилы
- 421 views 13:45 Заточной станок для ленточных пил — Duration: 12:07 Как сделать ленточную пилу по дереву своими руками instrumentguru/svoimi-rukami/kak-sdelat-lentoch Cached Материалы для изготовления ленточной пилы своими руками Сделать всю конструкцию ленточной пилы из подручных средств не получится Ленточная пила своими руками: чертежи и советы по изготовлению fbru/article/177861/lentochnaya-pila-svoimi-rukami Cached Для того чтобы начать изготовление ленточной пилы своими руками
как сделать станок для заточки ленточной пилы своими руками — Поиск в Google Специальные ссылки Перейти к основному контенту Справка по использованию специальных возможностей Оставить отзыв о специальных возможностях Нажмите здесь , если переадресация не будет выполнена в течение нескольких секунд Войти Удалить Пожаловаться на неприемлемые подсказки Режимы поиска Все Видео Картинки Новости Покупки Ещё Карты Книги Авиабилеты Финансы Настройки Настройки поиска Языки (Languages) Включить Безопасный поиск Расширенный поиск Ваши данные в Поиске История Поиск в справке Инструменты Результатов: примерно 81 300 (0,46 сек) Looking for results in English? Change to English Оставить русский Изменить язык Результаты поиска Картинки по запросу как сделать станок для заточки ленточной пилы своими руками Другие картинки по запросу «как сделать станок для заточки ленточной пилы своими руками» Жалоба отправлена Пожаловаться на картинки Благодарим за замечания Пожаловаться на другую картинку Пожаловаться на содержание картинки Отмена Пожаловаться Все результаты Самодельный станок для заточки ленточных пил — YouTube ▶ 0:55 21 дек 2015 г — Добавлено пользователем Алексей Масленников 16:39 Стойка для УШМ своими руками — Duration: 7:11 Алексей Аюр 103,933 views · 7:11 · заточной станок для ленточной пилорамы Самодельный заточной станок для ленточных пил — YouTube ▶ 17:01 23 янв 2017 г — Добавлено пользователем Валентин Сыч Предлагаю использовать червячный редуктор Мощный и надёжный Самодельный заточной станок для ленточных пил — YouTube ▶ 3:17 2 мар 2014 г — Добавлено пользователем Уdivi Самодельный заточной станок для ленточных пил Как заточить цепь бензопилы \How to hone a chain of chainsaw — Duration: 7:08 Заточка полотна ленточной пилы — YouTube ▶ 2:37 12 февр 2018 г — Добавлено пользователем Мысли руками Один из вариантов заточки полотна ленточной пилы Метод непростой, древний и примитивный Овладеть им может только человек с Заточка ленточной пилы своими руками | Строительный портал strportru/instrumenty/zatochka-lentochnoi-pily-svoimi-rukami Сохраненная копия Похожие Ленточные пилы – это инструменты для резки, применяющиеся в ленточнопильных станках Являют собой замкнутую ленту с зубьями Обладают Все о зубьях и углах их · Тонкости разводки · Как правильно заточить Заточка ленточной пилы — Tool-Landru tool-landru/zatochka-lentochnoy-pilyphp Сохраненная копия Похожие Ленточные пилы , представляющие собой полотна с зубчатой кромкой, к работе К основным подготовительным операциям относятся заточка и разводка ленточных пил Станки для полнопрофильной заточки ленточных пил работают в не пропадает интерес к созданию пилорамы своими руками Не найдено: сделать Развод и заточка ленточных пил по дереву своими руками stanokgidru › Станки по дереву Сохраненная копия Похожие Рейтинг: 2,5 — 2 голоса Перейти к разделу Конструкция ленточной пилы — Станок с ленточной пилой Однако сделать заточку самостоятельно проблематично Заточка ленточных пил – способы заточки и виды заточных станков met-allorg › Оборудование для обработки металла › Прочее оборудование Сохраненная копия Похожие Рейтинг: 5 — 1 голос Способы и правила заточки ленточных пил, виды заточных станков , особенности сделать заточку по такой технологии позволяют специальные станки При выполнении заточки зубьев пилы своими руками (особенно если у Заточка ленточных пил по дереву: видео-инструкция как заточить › Обработка древесины › Ручной инструментарий Сохраненная копия Исходя из этого, работу можно сделать своими силами Чтобы станок работал всегда стабильно и качественно, следует к его обслуживанию Схема заточки пилы по дереву должна учитывать нижеследующие положения Станок для заточки ленточных пил — Строительный портал — bouwru Сохраненная копия Как затачивают ленточные пилы ; Заточные механизмы и станки для это украшение для сада, которое достаточно просто сделать своими руками Ленточная пила по дереву: заточка и разводка зубьев — Stanokguru › Станки › Отрезные станки и пилы Сохраненная копия Ленточные пилы применяются как инструменты для резки в ленточнопильных станках Требования к заточке инструмента своими руками : Самодельный заточной станок для ленточных пил видео обзор Сохраненная копия Самодельный заточной станок для ленточных пил видео обзор я его собрал бес помощи токарного Как сделать нож из рессоры своими руками в домашних условиях! Как правильно заточить ленточную пилу для пилорамы «Недопустимый» вариант заточки ленточных пил — Методолог Сохраненная копия 26 дек 2007 г — Есть и другие достоинства у ленточных пилорам, но сейчас речь не о них, заточного участка, тк на имеющемся заточном станке не успеть Пила проходит первую заточку для образования правильного В курилке шёл неспешный разговор, не занятые ничем руки Из чего сделать ? Самодельная ленточная пила своими руками: чертеж, технология › Инструмент Сохраненная копия Похожие И в этом случае не стоит сразу бежать в магазин за покупкой станка Ленточная пила своими руками обойдется дешевле, чем ее заводской Прежде чем приступить к работе по созданию ленточной пилы по дереву, стоит сделать чертеж Далее, с использованием шаблонов, делается заточка Ленточная пила по дереву: заточка и разводка зубьев ленточной › Прочее Сохраненная копия С этой целью используются станки для заточки и разводки ленточных пил Исходя из этого, работу можно сделать своими силами Ленточные Схема заточки пилы по дереву должна учитывать нижеследующие положения Заточной станок для ленточных пил – зачем нужен, как работает + tutmetru/zatochnoj-stanok-lentochnyh-pilhtml Сохраненная копия Похожие Перейти к разделу Заточной станок для ленточных пил и способы их заточки — На фото — заточка для ленточной пилы , fw-stankiru Не найдено: сделать Самодельный заточный станок для ленточных пил — Мой очаг my-hearthru/post/samodelnyj-zatocnyj-stanok-dla-lentocnyh-pil Сохраненная копия Но если сделать ее вогнутой, то возможно применять данный аппарат для поперечного Купить станок для заточки твердосплавных дисковых пил можно по Главный износ зубьев пилы происходит на верхней кромке, которая Разводной станок для ленточных пил: настройка, модификации stankiexpertru/stanki/stanki-dlya-rezki/razvodnoi-stanok-dliya-lentochnyh-pilhtml Сохраненная копия Рейтинг: 5 — 2 голоса Разводной станок для ленточных пил используется для обработки станок для ленточных пил, которые можно приобрести или создать своими руками При выборе ленточной пилы для организации производственной от типа режущего элемента, развод и заточку приходится проводить периодически Грамотная заточка ленточной пилы — Пилорамы «Кедр pilorama-kedrru/gramotnaya-zatochka-lentochnoj-pily Сохраненная копия Эта конструкция используется в ленточнопильных станках , как инструмент для распиловки бревна Ленточные пилы конструктивно отличаются от Ленточная пила по дереву — как выбрать, как сделать своими › Техника и инструменты Сохраненная копия Рейтинг: 5 — 2 голоса 6 мар 2018 г — Рассмотри, как выбрать ленточную пилу , на что нужно очередь надо ориентироваться на тип станка , рекомендации по выбору пилы Уровень заточки Если хотите ленточную пилу по дереву своими руками Как точить ленточную пилу чтобы она пилила до 100 кубометров! Сохраненная копия Горячий, взрывной, старающийся все быстро сделать человек никогда не станет Основная причина неверной заточки ленточной пилы − это потеря Фото 1 Заточный станок Wood-Mizer 1 Дешевая группа (цена станка Станок для автоматической заточки ленточных пил Astron FP Сохраненная копия Станок для автоматической заточки ленточных пил Astron FP и задним углами каждого зуба на всей длине пилы без прижогов и микронеровностей Ленточная пила своими руками — детальный отчет › Оборудование Сохраненная копия Похожие Рейтинг: 5 — 1 голос Заточка зубьев различная для разных материалов Для того чтобы ленточнопильный станок своими руками работал исправно, О том, как сделать ленточную пилу своими руками в интернете можно найти немало материалов Как сделать ленточную пилу Ленточная пила своими руками – не Сохраненная копия Как сделать самодельный ленточнопильный станок по дереву своими Ленточная пила , своими руками которую сделать не так уж и сложно, Например, заточка ленточных пил своими руками производится достаточно просто Заточные станки | станки для заточки ленточных пил — Wood-Mizer wwwwoodmizerru/Лесопильное/Ленточные-пилы/Заточные-станки Сохраненная копия Заточной автоматический станок BMS500 предназначен для пилении древесины зависит от ленточной пилы : ее качества, заточки и разводки Не найдено: сделать своими руками Как сделать ленточную пилу своими руками — инструкция с Сохраненная копия Делаем ленточную пилораму своими руками — пошаговая инструкция с Хотя в принципе о ленточной пиле (чаще ее называют станок ) слышали все Это не Кроме того, нужно освоить методику заточки пилы и ее разводки Заточной станок для заточки ленточных пил в России Сравнить › Потребительские товары Сохраненная копия Заточной станок для заточки ленточных пил Продажа, поиск, поставщики и магазины, цены в России Ленточная горизонтальная пила по дереву своими руками Сохраненная копия Перейти к разделу Заточка пилы — Например, заточка ленточных пил своими руками производится Для работы используется специальный станок Если у вас нет опыта заточки пил, то все действия следует делать Простая ленточная пила своими руками | Успешный строитель ust-stroyru/kak-sdelat/prostaja-lentochnaja-pila-svoimi-rukamihtml Сохраненная копия 8 дек 2016 г — Ленточная пила собственными руками в действительности изготавливается просто, Станок достаточно габаритный Есть много подручных средств для того, чтобы сделать агрегат Итак, заточка ленточных пил собственными руками не так страшна и тяжела, как может показаться Заточка ленточных пил по дереву: соблюдение угла, выполнение Сохраненная копия Рейтинг: 5 — 1 голос Применение специальных станков и основные ошибки Решив заточить ленточную пилу своими руками , нелишним будет Разумеется, с первого раза правильно все сделать даже на разводном станке может не получиться , Станки для заточки ленточных пил по металлу | MINING24ru mining24ru/equipment/stanok-dlya-zatochki-lentochnyx-pil-po-metallu/ Сохраненная копия 10 мар 2014 г — Станки для заточки ленточных пил по металлу бывают Ленточные пилы применяются для больших производств, а также для Это можно сделать самостоятельно, но для лучше качества работы нужно использовать специальные станки Станки для Какие купить ювелирные вальцы бу Cтанок для заточки ленточных пил по металлу — Самодельные › › Самодельные станки Сохраненная копия 29 авг 2010 г — думается сделать самодельный станочек для заточки , может у кого есть А разве их точат (по металлу)? На фото , по-моему, пила по дереву Бывают ли станки для заточки ленточных пил именно по металлу Как заточить ленточную пилу болгаркой — Сделай своими руками › Гараж Сохраненная копия Делать это можно разными способами — например, на заточном станке или при помощи дремеля Первый Особенности заточки ленточной пилы Заточка ленточных пил: как выбрать заточные круги для пил по wwwstroy-podskazkaru › Ремонт › Инструменты › Пилы › Ленточная пила Сохраненная копия Способы и правила заточки ленточных пил, а также особенности выполнения Ключевым комплектующим компонентом каждого ленточного станка является ленточная пила (полотно) Условия к заточке полотен своими руками : Изготовление игрового комплекса для кошек своими руками Как сделать Заточка Пил По Металлу — NZIZNRU Сохраненная копия 10 июл 2018 г — Заточка ленточной пилы Малая ширина пропила обуславливает относительно Заточка ручных столярных как правильно делать разводку ручных пил по дереву Заточной станок для ленточных пил ТЕМП боразон (алмаз) Заточка ручных столярных пил и ножовок своими руками Рекомендации, как сделать ленточную пилу своими руками Сохраненная копия Описание процесса изготовления ленточной пилы своими руками в домашних условиях Настройка Станок для заточки сверл: точило своими руками Как сделать ленточную пилу своими руками в домашних условиях tehnikaexpert/dlya-remonta/elektropila/lentochnaya-pila-svoimi-rukamihtml Сохраненная копия Но можно сэкономить, сделав ленточную пилу своими руками Можно сделать небольшой настольный станок Модель из Понадобится самостоятельно вырезать зубья, правильно развести и заточить их Чтобы спаять ленту Ленточная пилу для дома по дереву и металлу?: как выбрать для domsdelatru › Главная › Инструменты Сохраненная копия Перейти к разделу Заточка ленточных пил по дереву — Станок для заточки ленточных пил Заточка пил своими руками потребует от вас определенных Как сделать строительные леса своими руками – фото , видео Чертежи самодельной ленточной пилы – чертежи, правила сборки Сохраненная копия Перейти к разделу Подробное описание процесса изготовления ленточной пилы — Первое, что необходимо сделать , Шкивы привода пилы нужно выточить из фанеры 20мм Когда изготавливается ленточная пила своими руками , не отшлифовать на станке Зубья необходимо заточить и Ленточная пила по дереву своими руками: чертежи, видео Сохраненная копия Самодельный ленточнопильный станок для дерева состоит из рабочего Ленточная пила по дереву: типы, шаг зубьев, сборка своими руками с параметрами зубцов, размером полотна, качеством заточки режущего элемента Ленточная пила по дереву своими руками (станок): чертежи › Пилы Сохраненная копия Ленточная пила (ленточнопильный станок ) по дереву своими руками Ленточная пила по и лесопилках Выбор пилы следует делать , исходя из ваших требований и возможностей 121 Зубья; 122 Заточка ; 123 Разводка Мифы и реальность ленточного пиления Часть 32 Сохраненная копия Фото 1 Разводной станок с ручной подачей в виде колеса Станки для этого варианта бруском снять заусенцы, образовавшиеся после заточки , иначе индикатор будет Многие пытаются делать это по телу ленточной пилы где взять копир (эксцентрик) на заточной станок? — Обсуждение forumswoodru › Обсуждение: Оборудование, инструменты Сохраненная копия Похожие 16 дек 2008 г — 44 сообщения — 14 авторов Заточной станок турецкий, в комплекте было 2 эксцентрика, ни один из Сосед пилит на узкой ленте, у него пилы двух или трех разных профилей, ищи современную! литературу по заточке ленточных пил давай попробую По заточному станку что нужно: его фото ? диаметр вала? Приспособление для быстрой и качественной заточки полотна › Приспособления Сохраненная копия Приспособление для быстрой и качественной заточки полотна ленточной пилы своими руками LeoBrynn 17-11-2018, 18:09 1 269 Приспособления Ленточная пила своими руками: чертежи и советы по изготовлению fbru › Домашний уют › Сделай сам Сохраненная копия Похожие 6 апр 2015 г — Ленточная пила , своими руками которую сделать не так уж и сложно, В процессе работы станок может издавать сильный шум и вибрацию Например, заточка ленточных пил своими руками производится Изготовление самодельной ленточной пилы своими руками Сохраненная копия Как сделать ленточную пилораму своими руками Не последнюю роль играют параметры зубцов, размер полотна и качество заточки режущей кромки Длина и ширина пилы зависят от соответствующих параметров станка Заточка Ленточных Пил По Металлу — ANTIRUNRU Сохраненная копия 18 авг 2018 г — Заточка ленточной пилы Низкая ширина разреза приводит к относительно Заточной станок для ленточных пил ТЕМП боразон (алмаз) Ленточные пилы для дерева, ленточные пилы , пильные полотна Купить ленточные пилы в компании Подскажите куда глядеть и что делать Ленточные пилы по дереву и металлу | газета Новый Севастополь new-sebastopolcom/news/others/lentochnye-pily-po-derevu-i-metallu Сохраненная копия 14 мар 2016 г — Для тех, кто имеет свой дом и ведет хозяйство, ленточная пила , в том Своими руками сделать станок не так сложно, если есть чертежи Большой опыт работы с заточкой позволяет им, даже не используя Ленточные пилы по металлу как выбрать — ooo-astekoru ooo-astekoru/lentochnye-pily-po-metallu-kak-vybrat/ Сохраненная копия 2 Как выбрать ленточную пилу по дереву и металлу для дома: Советы Первое, что необходимо сделать , это определиться, для каких именно Также ленточные полотна используют на пилорамах, ленточных станках и Заточка пил своими руками потребует от вас определенных навыков и умений Вместе с как сделать станок для заточки ленточной пилы своими руками часто ищут заточка ленточной пилы своими руками заточной станок для ленточных пил ленточный заточной станок своими руками настройка заточного станка для ленточных пил заточка ленточных пил по металлу ленточные пилы Навигация по страницам 1 2 3 Следующая Ссылки в нижнем колонтитуле Россия — Подробнее… Справка Отправить отзыв Конфиденциальность Условия Аккаунт Поиск Карты YouTube Play Новости Почта Контакты Диск Календарь Google+ Переводчик Фото Ещё Покупки Документы Blogger Hangouts Google Keep Jamboard Подборки Другие сервисы Google
Заточка ленточных пил, а также их разводка должна производиться качественно и своевременно.
1. В случае заточки ленточной пилы посредством станка, перед началом работ необходимо убедиться в правильности положения заточного диска относительно инструмента.
Ленточная пила — многорезцовый режущий инструмент, применяемый в ленточнопильных станках . Ленточные пилы электроискрового действия работают по тому же принципу, как и круглые пилы электроискрового действия. 3. Геометрия зубьев: профиль зуба и угол заточки.
ЗАТОЧНОЕ ОБОРУДОВАНИЕ ИЗ ОДЕССЫ. От: Ижевская Марка. ZS-13 станок для заточки спиральных сверл и метчиков. Smart TV и STB. От: SterbrustCOM станки для обработки металла и дерева.
Также пилами называют инструменты, станки и устройства, использующие пилу . Ленточная пила. …по дереву (7 полотен) ,. Пила кольцевая ЗУБР 29593-H7-42 серии МАСТЕР представляет собой расходный материал для стационарного станка или электрической дрели.
Заточка зуба обрабатывается общей плоскостью круга с любой стороны, при этом нужно следить за тем, чтобы не был нарушен сам угол заточки.
Каждый из них регулируется по углу наклона, причем стол тарельчатого узла поворачивается не только на 45 вниз, но и на 15 вверх, а стол ленточного можно установить продольно.
Профессиональная заточка ленточных пил!!! #центрзаточкиинструментаспб #заточкаспб #Ялюблюсвоюработу #заточкаленточныхпил. #Обучениезаточке #центрзаточкиинструментаспб #заточкаспб #Ялюблюсвоюработу Проведено обучение двух специалистов из Санкт-Петербурга по заточке фигурных и хоккейных коньков на станке ProSharp AS…
1) применяемые электроприборы включать в сеть и выключать необходимо сухими руками, разборку и чистку электроприборов производить только после отключения от электросети; …а также разобщением звездочки якорного механизма проверить крепление ленточного тормоза;
Инструменты и материалы. пила ленточная; лист фанеры 10мм; две автомобильные помпы; подшипники; двигатель на 1,5 квт.; конденсаторы на 300мкф.; труба профильная и уголок разного размера; сварочный аппарат; слесарные инструменты; крепеж.
Новое прочтение гоголевского отрывка было в дальнейшем переведено с английского на язык африканского племени бамбара, с него опять на французский, где штуки преобразились в вещи, и после этого на итальянский: Ока пила…
Заточной станок для ленточных пил
Содержание
- Как затачивают ленточные пилы
- Заточные механизмы и станки для ленточной пилы
- Устройство и работа заточного станка
- Наиболее удачные станочные заточные системы
- Заключение
Разделка и распиловка массивов древесины и рядовых пиломатериалов выполняется двумя типами станков – циркулярной дисковой пилой и ленточными бесконечными пилами. Технология разрезки с помощью тонкой ленточной пилы, сваренной в кольцо, дает меньше отходов, выше качество обрабатываемой поверхности, и признается наиболее прогрессивной технологией обработки древесины. Высокая скорость пореза и давление на режущую кромку ленты требуют периодически восстанавливать остроту полотна, используя заточной станок для ленточных пил.
Сегодня, кроме плотных древесных массивов, лентой режут и отдельные марки сталей и сплавов.
Как затачивают ленточные пилы
Чтобы добиться высокой производительности, пильное полотно изготавливается из хром-ванадиевых сталей, обладающих высокой стойкостью к истиранию и твердостью поверхности. Дорогие модели ленточных пил делают в виде двух сваренных лент, разной ширины и разного металла.
Для широкой части используются пружинные марки стали, обладающие высокой стойкостью к переменным нагрузкам. Для тонкой полоски полотна используют сплавы, содержащие кобальт и вольфрам. Заточка ленточных пил по дереву такой конструкции требует использования специальных материалов. Для обычной пилы из стали 9ХФ применяются заточные круги на основе нитридов бора или титана. Кобальтовые или вольфрамовые сплавы приходится резать алмазными материалами.
Чтобы правильно подготовить режущую кромку ленточной пилы к работе на заточном оборудовании, потребуется:
- Выполнить разводку ленточного полотна, последовательно отгибая половину или 2/3 высоты каждого зубья в разные стороны от линии реза.
Оптимальная величина отгиба 0,5-0,7 мм. Операцию выполняют с помощью специального приспособления до момента установки пилы на заточной станок; - Правильно настроить на заточном станке высоту и грань затачиваемого профиля. Инструкция по заточке ленточных пил требует обработки передней грани профиля зуба, но допускается также переточка пилы по задней грани. Ленточные пилы по металлу имеют наименьшую высоту и шаг профиля;
- Точно настроить движение заточного круга станка по профилю впадины зуба. В этом случае достигается полнопрофильная заточка. Если толщина полотна маленькая, заточное устройство для ленточных пил настраивают для обработки верхних режущих кромок профиля, чтобы избежать утончения основания зуба.
Параметры профиля и угла наклона задаются при производстве ленточной пилы, и на протяжении всего периода эксплуатации не меняются. При неправильной настройке наклона заточного камня станка оптимальный угол может быть искусственно увеличен. В результате пила, установленная на распиловочный станок, будет работать с перегрузкой и быстро выйдет из строя.
Состояние ленточной пилы и необходимость выполнения заточки зачастую определяют по усилию реза и визуально по режущей кромке профиля. Для режущих полотен маломощных станков можно даже не использовать станок для заточки ленточных пил, подправить кромку с помощью надфиля. Малая величина удаляемого металла практически не влияет на геометрию, но способна существенно повысить режущую способность полотна.
Заточные механизмы и станки для ленточной пилы
Полотно небольшой длины с малоразмерными зубами можно заточить надфилем или насадкой к граверному станку. Это тяжело и долго, но вполне возможно. Главная проблема ручного затачивания заключается в том, что каждый зуб имеет едва уловимое отклонение от оптимальных параметров. Установленная на распиловочный станок лента испытывает нерасчетные нагрузки и сильно нагревается.
Заточной электрический станок позволяет сделать кромки всех зубьев ленточной пилы более-менее одинаковыми. Необходимо только правильно настроить систему подачи полотна и величину захода заточного эльборового круга в профиль.
Конструктивно станки для заточки и восстановления кромок ленточных пил делятся на несколько категорий:
- Полуавтоматические с ручным приводом полотна и консоли абразивного инструмента;
- Станки с настраиваемым шагом перемещения и подачи пилы с автоматической заточкой профиля по регулируемым параметрам полотна. Помимо геометрии зуба, датчик станка отслеживает количество заточенных в ленте зубов и автоматически останавливается после выполнения полного цикла;
- Обрабатывающие центры с программируемой установкой необходимых параметров подачи и заточки. Такие конструкции используются для затачивания сложных и массивных лент с применением охлаждающих жидкостей и контролем рабочей температуры и качества обработки.
Первые модели заточных станков были практически полностью ручными. В отличие от современных моделей, подачу полотна, настройку углов и затачивание необходимо было выполнять встроенными приводами ленты и абразивного круга. Для работы на таком станке требовался очень серьезный опыт, и подготовка специалиста по заточке ленточной пилы занимала достаточно большой период времени.
С появлением автоматизированных станков человеческий фактор стал уменьшаться. Теперь было достаточно правильно отрегулировать движение кулачка подачи и угол заточки зуба. Все остальные операции выполнялись дублированием настроек.
Заточные центры позволили в разы увеличить качество и производительность работы. Самые сложные разнопрофильные пилы затачивались с максимальной точностью.
Устройство и работа заточного станка
В качестве типичного представителя парка полуавтоматов для заточки пил можно привести станок ПСЗЛ.
Настройка параметров работы выполняется регулировочными винтами:
- Винтом 1 регулируется положение под абразивным инструментом и определяется глубина врезания по передней кромке;
- Точкой 2 настраивается глубина опускания диска, фиксатор позиции 3 используется для установки максимального предела для заглубления;
- Поворотным регулятором 4 определяется шаг зуба, с которым кулачок будет проталкивать ленту вдоль прижимных планок.

Чтобы станок мог определить точку, с которой началась заточка зубьев, на полотно с внутренней стороны устанавливается магнит.
В процессе выполнения обработки стального полотна материал охлаждается маслом. Жидкость стекает с поверхности ленточной пилы, собирается и перекачивается масляным насосом через фильтр и магнит. Первый задерживает немагнитные включения и абразивную пыль, второй – металлическую стружку.
Автомат ПЗСЛ 30/60 способен обрабатывать любой профиль зуба для наиболее распространенных размеров лент, длиной от 30 до 60 мм до 10 м. В качестве рабочих дисков применяются эльборовые и алмазные круги. Чтобы освоить работу на заточном станке, даже неопытному человеку потребуется практика в течение 1-2 часов, как на видео:
Наиболее удачные станочные заточные системы
Среди наиболее известных станочных автоматов можно отметить продукцию компании Wood-Mizer, специализирующуюся на изготовлении пилорам и распиловочных линий.
Например, станок BMS500, оснащенный электрическим приводом в 500 Вт, способен в полностью автоматическом режиме затачивать полотно ленточной пилы любой сложности за 4-5 мин работы.
Кроме полных автоматов,фирма выпускает целую линейку полуавтоматических и ручных станков, позволяющих заточить зубья ленточной пилы с максимальной точностью и тем самым обеспечить увеличение ресурса на 30-50%.
Одним из лучших производителей станочного заточного оборудования для пил является компания Vollmer, специализирующаяся на выпуске точной программируемой механики.
Третью строчку в рейтинге производителей заточных систем можно отдать компании Lenker, специализирующейся на выпуске режущего инструмента для станков.
Заключение
Средний срок окупаемости наиболее простых моделей при 50% нагрузке составляет 4-5 месяцев эксплуатации. При ресурсе основных механических частей в 24-36 месяцев станок способен снизить затраты на покупку дорогостоящих ленточных пил для столярной мастерской примерно на 45-50%.
Приведенные данные не учитывают расходов на эльборовые материалы.
Как правильно выбрать дрель для дома
Как выбрать электролобзик
Какой перфоратор выбрать для дома
Выбираем электрические ножницы правильно
Точилка для ленточных пил — Alix Srl
СТАНОК ДЛЯ ЗАТОЧКИ ЛЕНТОЧНЫХ ПИЛ AF 531
Точилка Alix AF 531 предназначена для заточки зубьев ленточной пилы для бревенчатых пил. Это простой и функциональный станок для правильной заточки нескольких типов лезвий. Он состоит из компактной стальной сверхпрочной конструкции, которая значительно снижает любой тип вибрации.
Придание формы зубу осуществляется с помощью традиционной двухкулачковой системы. Устройство для правки шлифовального круга обеспечивает постоянный и правильный профиль шлифовального круга до его полного износа. Тем не менее, этот профиль можно изменить в зависимости от толщины используемого шлифовального круга, чтобы оптимизировать профиль всех типов зубьев. Вертикальная регулировка опорной стойки лезвия осуществляется с помощью электропривода, что позволяет точно позиционировать лезвие. Закрытие тормозных тисков пневматическое с регулируемым усилием торможения.
Распределительный щит имеет эргономичную и удобную панель.
Машина выпускается в правосторонней или левосторонней версии: широкий выбор дополнительных принадлежностей означает, что вы можете настроить машину в соответствии со своими конкретными потребностями.
По запросу скорость вращения шлифовального круга может изменяться, чтобы окружная скорость оставалась неизменной; это, вместе с обильной подачей охлаждающей жидкости, обеспечивает превосходную чистовую обработку зуба и предотвращает опасные термические изменения на корпусе лезвия.
- Фотогалерея
- Характеристики
- Запрос информации
| ОСНОВНЫЕ ТЕХНИЧЕСКИЕ ХАРАКТЕРИСТИКИ | УМ | ЗАТОЧКА – МОД. АФ 531 | |
| Ширина лезвия | [мм] | мин 50 | макс. 310 |
| Длина полотна (в зависимости от типа опоры) | [мм] | мин 4500 | макс. 13000 |
| Шаг зубьев | [мм] | мин 20 | макс. 80 |
| Толщина полотна | [мм] | мин 0,8 | макс. 2,1 |
| Высота зуба | [мм] | макс. 35 | |
| Соединительный уголок | [градусов] | макс. 40 | |
| Диаметр шлифовального круга | [мм] | 300 | |
| Скорость поверхности шлифовального круга при фиксированных оборотах в минуту | [м/сек] | 44 | |
| Постоянная скорость поверхности шлифовального круга | [м/сек] | 63 | |
| Мощность двигателя шлифовального круга | [кВт] | 3 | |
| Скорость подачи | [зубьев/мин] | 8 | |
| Регулируемая скорость подачи | [зубьев/мин] | макс. 20 | |
| Максимальная установленная мощность | [кВт] | 4,2 | |
| Приблизительный вес машины | [даН] | 990 | |
| Емкость бака охлаждающей жидкости | [л] | 230 | |
| ДОСТУПНЫЕ ПРИНАДЛЕЖНОСТИ |
|
Имя:*
Фамилия:*
Адрес:
Город:*
Провинция:
Телефон:
Электронная почта:*
Сообщение:*
Политика конфиденциальности:*
Прочитано и принято
Обработка данных Alix Srl в маркетинговых целях, указанных в пункте b) пункта об информации о правовых основаниях обработки и обязательного предоставления данных, в порядке, предусмотренном
Обработка данных Alix Srl для передачи персональных данных компаниям, связанным с Alix Srl, а также компаниям-партнерам, принадлежащим к смежным секторам, которые могут обрабатывать их в маркетинговых целях, указанных в пункте c) пункт об информации о цели Правовой основы для обработки и Обязательного предоставления данных, в порядке, предусмотренном.
Поля, отмеченные звездочкой (*), обязательны для заполнения для отправки сообщения
В приложении D. Lgs. 196/2003 riguardante ла tutela деи данные personali, ла informiamo че я данные che lei ci fornirà compilando иль форма saranno acquisiti да parte di Alix srl con l’ausilio ди mezzi elettronici e/o Automaticizzati. Tali dati saranno utilizzati per fini strettamente strumentali ad uno studio di mercato. Potrà в ogni caso esercitare я diritti Lei spettanti ai sensi dell’art. 7 дель D. Lgs. 196/2003. Cliccando иль pulsante Invio, dichiaro ди авер летто questo testo е ди смеет l’assense аль trattamento деи miei данные сулла базы dell’informativa че предшествуют.
лучших точилок для дисковых пил (обзор 2022 г.)
Хотите быстрый ответ? Точилка для циркулярной пилы Chicago на 120 вольт — лучшая точилка для пил, которую вы можете получить за свои деньги.
Читайте дальше, чтобы узнать, почему.
Вы уже знаете или скоро узнаете, как резка дерева затупляет ваши лезвия. В случае с электроинструментами вы можете подумать о переточке дисковых пил.
Когда ваше дисковое лезвие затупится, у вас, по сути, есть 3 варианта: купить новое лезвие, заплатить кому-нибудь, чтобы его заточили для вас, или заточить его самостоятельно. Если вы собираетесь делать своими руками, вам понадобится лучшая точилка для циркулярной пилы.
Далее следует более подробное рассмотрение характеристик лучшего точила для циркулярных пил, а также пяти моделей, которые могут вам подойти.
Сравнение лучших точилок для дисковых пил
Миниатюра
Лучший выбор
Второе место
Premium Choice
Название
Универсальное устройство для заточки дисковых пил — 120 В…
Электрическое устройство для заточки дисковых пил, 120 В.
..
Hanchen Устройство для заточки дисковых пил 21,5″…
Tilt
25 ° Слева и справа
25 ° Слева и справа
30 ° спереди и задней части
Диск
Diamond & Emory
Diamond & Emory
Diamond
Клиентский рейтинг
Учените больше
Diamond
. Проверить сегодняшнюю цену
Проверить сегодняшнюю цену
Проверить сегодняшнюю цену
Лучший выбор
Миниатюра
Название
Универсальная заточка дисковых пил — 120 В…
Наклон
25° влево и вправо
Диск
Diamond & Emory
Рейтинг клиентов
Узнать больше
Проверить сегодняшнюю цену
Второе место
Миниатюр
Титул
120 Вольт Электрический круговой пик заточенник …
Tilt
25 ° Слева и справа
Диск
Алмари и Эмори
Клиентский рейтинг
Учените больше
.
0007
Премиум выбор
Миниатюр
Титул
Круговая пила Hanchen. 21,5 «…
Tilt
30 ° Спереди и назад
Диск
Diamond
Клиентский рейтинг
. Руководство по покупке точилки для пилы
Возможно, вы задаетесь вопросом, что такое точилка для циркулярной пилы Проще говоря, это электроинструмент, который удерживает диск циркулярной пилы на месте, пока вращающийся шлифовальный круг перемещается по открытой поверхности Чтобы отшлифовать его, готовая поверхность зуба будет резать более эффективно, чем когда она была матовой.0007
Преимущества точилки для дисковых пил
Во-первых, вы обеспечите точный угол заточки. Эти точилки предназначены для установки под углом. Это также позволит вам повторить этот угол для постоянной заточки на каждом зубе пильного диска и сохранить правильную конфигурацию зубьев.
Во-вторых, вы сможете заточить диск циркулярной пилы быстрее, чем напильником вручную.
Настройка точилки может занять некоторое время, но после этого вы сможете быстро обрабатывать каждый зуб.
Далее, точилка для циркулярной пилы будет сиять при работе с более чем одним лезвием. Как только вы определите угол и размер пильного диска, вы сможете быстро перемещаться между несколькими дисками. Я помню, как мой покойный дедушка вручную точил свои пилы, и я могу сказать, что эти станки сделают эту работу быстрее.
Наконец, вы сэкономите деньги в долгосрочной перспективе, так как вам не придется платить кому-то еще за заточку ваших дисков или, что еще хуже, покупать новый диск для циркулярной пилы каждый раз, когда ваш старый затупится.
Кто больше всего выиграет от заточки дисковой пилы?
Вместо того, чтобы просто ответить «всем», давайте посмотрим, кого может не заинтересовать точилка. Это может не понадобиться для вашей мастерской, если вы работаете только с ручными инструментами по дереву, хотя некоторые столяры используют точилку для различных типов пильных полотен и сверл или фрез.
Есть и те, кто, как я полагаю, заблуждается, считая, что использованное полотно циркулярной пилы не может быть эффективно заточено, если оно затупилось.
Любой человек, не входящий в две упомянутые выше группы, получит пользу от этого типа аксессуара.
Заточка дисковых пил предназначена для повторного использования и экономии денег. Сначала может показаться, что покупка одного из этих станков не сэкономит вам денег, но как только вы заточите всего несколько полотен для циркулярных пил, устройство для заточки лезвий окупит себя (особенно если вы склонны использовать более дорогие полотна для циркулярных пил).
Если вы работаете в сфере строительства или производства, вы быстро заметите экономию. Если у вас есть домашняя мастерская, это может занять немного больше времени, если только вы не затачиваете лезвия быстро, делая партии проектов или много предметов мебели.
На что обращать внимание при заточке дисковых пил
При покупке этого типа инструмента следует помнить о некоторых важных моментах.
Наклон блока двигателя
Точилку необходимо будет наклонить, чтобы создать правильный угол при заточке зуба. Это поможет вам сохранить конфигурацию. Большинство продуктов предлагают угол наклона 25 градусов, поэтому, если вы найдете меньше, поищите в другом месте.
Максимальный размер пильного диска
Диски для циркулярных пил в среднем могут иметь диаметр от 6,5 до 12 дюймов, а некоторые полотна доходят до 16 дюймов. В то время как в большинстве личных мастерских используются лезвия меньшего размера, на стройплощадке вы можете встретить множество лезвий большего размера. Ищите устройство, которое может работать с лезвиями до 10 дюймов или больше, если вы используете торцовочную или торцовочную пилу с большими лезвиями.
Опора для пильного полотна
Пильное полотно крепится к точилке с помощью стяжного винта. В большинстве моделей будет небольшой удлинитель, обеспечивающий дополнительную поддержку. Другие конструкции будут использовать поверхность стола.
Выберите дополнительную опору, которую вы можете себе позволить, но имейте в виду, что эта дополнительная жесткость поможет удерживать лезвие в нужном положении, когда шлифовальный круг перемещается по зубу.
Шлифовальные и полировальные диски
В этих продуктах используются диски для шлифования по лезвию пилы. Они будут поставляться с поверхностью Diamond или Emory. Алмазные круги, как правило, предназначены для удаления большого количества материала (и твердосплавных зубьев), в то время как круг Эмори обеспечивает более тонкую кромку зуба (и для стальных зубьев).
Вы также можете использовать полировальный круг для удаления грубых краев и удаления смолистых отложений вместо использования ручной щетки с вашим предпочтительным чистящим средством.
Точилка для циркулярной пилы Отзывы
Chicago 120-вольтная точилка для циркулярной пилы
ОБЗОР
Chicago Tools предлагает простую конструкцию, в которой используются средние строительные материалы, что позволяет снизить цену.
Эти материалы должны выдерживать вибрации, создаваемые двигателем.
- Ручки регулировки прочные и большие
- Используется защитный кожух, который закрывает всю поверхность, кроме необходимой
- Некоторые компоненты изготовлены из чугуна большой износ
- Инструменты марки Chicago имеют репутацию инструментов, требующих некоторой доработки перед использованием
Проверить цену на Amazon
Универсальный точило для дисковых пил — 120 Вольт
ОБЗОР
Первое, что бросается в глаза, это низкая цена этой модели. Это может быть преимуществом для тех, кто хочет попробовать точилку, не прибегая к более дорогой системе.
- Весит менее 11 фунтов, что облегчает перемещение по цеху
- Включает в себя алмазный и наждачный круги
- Прозрачный защитный экран обнимает лезвие ближе, чем другие модели
- Возможно, вам придется проверить набор углов между лезвиями, чтобы убедиться, что он не соскользнул
- Подпружиненный рычаг может иметь больше свободного хода, чем необходимо
Узнать цену на Amazon
YWTR 120-вольтный электрический точило для циркулярных пил
ОБЗОР
Этот точило для циркулярных пил имеет компактную конструкцию, что упрощает хранение когда он не используется, включая длину всего 9,5 дюймов.
- Он имеет укороченный профиль 11 дюймов, что облегчает его хранение под некоторыми полками
- Его можно отрегулировать для работы с лезвиями размером до 15 3/4 дюйма
- Угломер с крупными линиями облегчает считывание показаний
- Он имеет индексный рычаг лезвия, который необходимо проверять между лезвиями, чтобы оставаться на месте
- Его шлифовальный круг и инструменты изготовлены из материалов не самого лучшего качества
Проверить цену на Amazon
Точилка для дисковых пил Hanchen
ОБЗОР
Это высококачественное устройство обеспечивает заточку больших пил, что делает его идеальным для строительных площадок производственных цехов. Датчики цветные и легко читаемые с тонкими линиями для большей точности.
- Подходит для дисковых пил диаметром более 21 дюйма
- Прочная сталь используется во всей конструкции, что делает ее более долговечной, чем алюминий
- Обеспечивает угол резки до 30 градусов
- высокая цена, которая может оказаться слишком высокой для новичка
- В этой установке есть много настроек, что усложняет ее использование
Узнать цену на Amazon
Точилка для дисковых пил Techtongda
Товаров не найдено.
ОБЗОР
Эта конструкция от Techtongda обеспечивает надежную фиксацию, а также поддержку различных дисковых пил. После того, как система настроена, точилка проста в использовании.
- Платформа обеспечивает широкую опору для лезвия во время работы
- Она подходит для оправок различных размеров до 1,57 дюйма
- Прочная конструкция зажима надежно удерживает лезвие на точильном станке
- Вы можете почувствовать небольшая вибрация, так как электроинструмент находится на
- Занимает много места из-за встроенных конструктивных особенностей
Узнать цену на Amazon
Самый острый зуб Принадлежит… Точилка для дисковых пил, 120 В
. Этот продукт предоставляет функции, которые понадобятся начинающему или среднему мастеру по дереву, не заставляя их совершать крупную покупку.
Блок двигателя регулируется на 25 градусов влево и вправо, обеспечивая приличный диапазон углов.
Он может работать с дисковыми пилами размером до 15 3/4 дюйма с оправкой размером до одного дюйма.
Обеспечивает поддержку лезвия в виде стержня рядом с зоной резания. Это минимально по своей природе, но этого должно быть достаточно для большинства лезвий.
Этот продукт поставляется с четырехдюймовым алмазным кругом для твердосплавных зубьев, а также четырехдюймовым наждачным кругом для стальных зубьев.
Заточка пилы 101 | Популярные Деревообработка
Мы можем получать комиссию, когда вы используете наши партнерские ссылки. Однако это не влияет на наши рекомендации.
Мы все сталкивались с этим: вы берете пилу в середине проекта и, прежде чем начать пилить, проводите пальцем по зубьям и говорите себе: «Эх… они достаточно острые». Но вскоре вы обнаружите, что они совсем не такие.
Было бы неплохо, если бы вы могли сами точить свои пилы и никогда больше не довольствоваться тупой пилой? При небольших затратах времени и денег можно.
Итак, давайте сразу перейдем к четырем важным шагам заточки любой ручной пилы: установка, соединение, напильник и затачивание.
Настройка
Разрывные и поперечные зубья. Разрывные зубья (слева) имеют форму крошечных стамесок, а форму и заточку затачивают путем заточки поперек лезвия. Поперечные зубья по форме больше напоминают ножи и формируются запиливанием под углом к лезвию.
Комплект пилы – правый и левый выступ зубьев от пластины пилы – определяет ширину пропила и предотвращает заедание пилы в пропиле.
Установка зубов может потребоваться не всегда, поэтому первым шагом является оценка.
Чтобы проверить комплект пилы, сделайте надрез в куске дерева, порода, толщина и влажность которого типичны для вашей работы. Если пила заедает (застревает в пропиле), требуется настройка. Однако, если лезвие не закреплено в пропиле, то оно может быть переустановлено, что можно исправить на последнем этапе забивания камнями.
Большинство инструментов для набора пил регулируются для установки зубьев разного размера и типа работы.
Я рекомендую отрегулировать ваш инструмент так, чтобы он создавал наименьшую разводку для обратной пилы и чуть больше для ручной пилы. Не обращайте внимания на цифры на инструменте; они существуют только для того, чтобы сбить вас с толку.
Комплект. Наденьте набор пил на пильное полотно, плотно прижмите его к линии зубьев, совместите молоток с зубом пилы, затем сожмите.
Если ваша пила требует настройки, начните с зажима пилы в тисках так, чтобы линия зубьев находилась примерно на 2″ выше губок. Начиная с пятки пилы, определите первый зуб, расположенный от вас. Поместите набор пил так, чтобы центр молотка (стальной механизм, который сгибает зуб над наковальней) совпадал с острием зуба. Убедитесь, что отливка плотно прилегает к линии зубьев, и крепко сожмите инструмент. Вы увидите, как зуб слегка изгибается от вас. Пропустите следующий зуб и перейдите к следующему набору зубов от вас. Установите его, как вы делали раньше, и повторите по всей длине пилы. Теперь переверните пилу в тисках и установите зубья, которые вы пропустили при первом проходе.
Соединение
Соединение. Напильник (здесь он находится в изготовленной в магазине направляющей для соединения пилы) выравнивает зубья относительно друг друга и создает на каждом из них плоскую поверхность. (Вы можете приобрести аналогичное руководство по расшивке; выполните поиск в Интернете по запросу «Руководство по расшивке карточных шаберов».)
Стыковка пилы при каждой ее заточке гарантирует, что все зубья будут одинаковой высоты. Это также создает плоскую грань в самой точке каждого зуба, которая будет направлять вашу работу на этапе опиливания.
Чтобы начать соединение, крепко держите пилу в тисках так, чтобы лезвие было примерно на 2″ выше губок. Возьмите напильник обеими руками и положите его на пятку на линию зубьев. Проведите напильником по линии зубьев по направлению к носке пилы, умеренно нажимая, пока не увидите плоскую грань на вершине каждого зуба. Для большинства пил должно быть достаточно двух-четырех проходов напильником.
Крайне важно держать напильник перпендикулярно стороне пильного диска при соединении зубьев.
Вы можете использовать направляющую для соединения скребков или деревянный брусок, чтобы помочь в этом процессе.
Прежде чем приступить к шлифовке зубов, прикрепите к кончику напильника направляющую переднего угла, чтобы создать правильную геометрию на режущей поверхности каждого зуба. У большинства дисковых пил угол наклона зубьев составляет от 5° до 10°, а у большинства поперечных пропилов — 15°.
Направляющая переднего угла представляет собой небольшой деревянный брусок или промышленное изделие с подвижными частями, множеством накаток и чешуек, который надевается на кончик напильника для создания визуальной ориентира переднего угла при напильнике. Если вы сделаете свой собственный, вам понадобится несколько для каждого размера файла и угла наклона, который вы обычно используете.
Инструменты для напильника
Конические напильники (с рукояткой): Подберите расстояние между зубьями пилы и напильником нужного размера. Всегда используйте ручку соответствующего размера.
■ 12–15 точек на дюйм: двойной сверхтонкий конус 4 или 5 дюймов (xx-slim)
■ 10–11 пикселей на дюйм: двойной сверхтонкий конус 6 дюймов (xx-slim)
■ 9 пикселей на дюйм: дополнительный 6 дюймов тонкий конус (x-slim)
■ 8 точек на дюйм: тонкий конус 6 дюймов
■ 5–7 пикселей на дюйм: тонкий конус 7 дюймов
■ 3,5–4,5 пикселей на дюйм: обычный конус 7 дюймов
Фрезерный напильник: насечка, от 6″ до 8″ для лобзиков, от 10″ до 12″ для ручных пил.
Набор пил: любой марки или стиля, хотя в настоящее время не производится качественных новых наборов пил.
Тиски для пилы: Изготовленные из дерева для экономных, тиски для пилы Gramercy для требовательных или винтажные чугунные тиски для ностальгирующих. Я подшиваю от двух до четырех часов каждый день, и моей Грамерси нет равных.
Точильный камень: 6″ x 2″ алмазный камень #600 или мелкий индийский камень для ручных пил, камень 1″ x 4″ для ножовочных пил.
Направляющая для заточки пилы: Я предпочитаю изготовленные в заводских условиях деревянные направляющие для переднего угла и угла скоса, потому что они свободны, когда их делают из обрезков, легкие и бесконечно настраиваемые. Тем не менее, новые руководства, доступные в Blackburn Tools или Veritas, очень полезны для учащихся.
— MC
Напильник для продольной пилы
Геометрия с продольными зубьями. Дисковая пила подпиливается, образуя ряд крошечных скребков. В тот момент, когда плоскость, образованная соединением, спиливается, пила становится острой.
Целью этого этапа является обработка каждого зуба до тех пор, пока не исчезнет плоская поверхность, созданная соединением, и ни на один штрих больше. В тот момент, когда плоскость исчезает, зуб становится острым и остается точно такой же высоты, как и остальные зубы. (Если бы вы продолжали подпиливать, зуб остался бы острым, но стал бы короче остальных, что сделало бы его бесполезным.)
Зажмите пилу в тисках так, чтобы пятка находилась справа от вас, а нижняя часть впадин находилась на 1⁄16 дюйма выше губок.
Поместите напильник в первую глотку. Убедитесь, что файл полностью вошел в нижнюю часть пищевода. Держите напильник перпендикулярно стороне пильного диска (на уровне пола) и к линии зубьев, если смотреть сверху. Используйте напильник на всю длину и слегка надавите на пилу.
Начинающие филлеры обычно используют короткие, сильные, вибрирующие удары. Легкие, полные, ровные ходы являются признаком опытного и точного напильника. Когда вы протолкнете напильник через пилу, вы должны увидеть блестящую свежую сталь, обнаженную на трех поверхностях: на режущей поверхности зуба справа от напильника, впадине и задней поверхности зуба слева от напильника.
Продолжайте обтачивать зуб, наблюдая за плоскостью справа от напильника. Прекратите запись в тот самый момент, когда исчезнет квартира справа от файла. Перейдите к следующему впадине и продолжайте тот же процесс по всей длине пилы на каждом зубе.
Терминология
Термины, связанные с напильником, вызывают много путаницы.
Важно использовать стандартный и точный язык при обучении или изучении нового навыка, особенно такого древнего, как напильник. Это исторически точные и лучшие термины для использования.
Интервал: Американская стандартная мера количества зубьев на дюйм (ppi) на любой пиле, которая определяет ее грубость или тонкость. (Английский стандарт использует количество зубьев на дюйм (tpi), что равно количеству точек на дюйм минус один. Таким образом, 6 ppi равняется 5 tpi.) Современные производители пил часто неправильно называют расстояние между зубьями «шагом».
Передний угол: Величина, на которую передняя режущая поверхность зуба пилы отклоняется от перпендикуляра к линии зуба. Измеряется в градусах от перпендикуляра. Также традиционно именуется «шагом».
Фаска: Внутренний острый угол на торце и вершине зуба пилы, создающий режущую кромку для поперечного пропила. Также обычно упоминается как «флам».
Пищевод: V-образное пространство между двумя соседними зубьями пилы, где скапливаются опилки при работе.
— MC
Торцовочная пилка для опиливания
Следите за углом. Угол, под которым вы толкаете напильник поперек зубьев, влияет на геометрию резания пилы.
После соединения пилы снова закрепите ее, снова так, чтобы нижняя часть впадин находилась примерно на 1⁄16 дюйма выше губок тисков, и поместите напильник между первой парой зубьев на пятке зубом, направленным к себе на справа от напильника, а зуб от вас слева. Это может быть либо первая, либо вторая глотка на линии зубов.
Когда напильник находится в пазухе и, удерживая указательным пальцем напильник в том месте, где он лежит на пиле, плотно вдавите его в пазуху. Файл должен вращаться от перпендикулярной линии от пилы, если смотреть сверху, обычно от 15° до 25° для большинства торцовочных пил. Это угол скоса зубьев. Запиливание под таким углом создает лезвие ножа, которое позволяет зубьям пилы резать волокна древесины.
Сделайте первый проход файлом, полностью вошедшим в пищевод, тщательно сохраняя угол скоса, и следите за плоскостью на обоих зубах справа и слева от файла.
Цель состоит в том, чтобы напильниковать до тех пор, пока вы одновременно не уменьшите ширину плоскости на обоих зубах наполовину.
Геометрия поперечного зуба. Соединение зубьев поперечной пилы создает треугольные плоские поверхности на вершине каждого зуба. Они отражают свет и помогают направлять процесс заточки.
Пропустить следующую впадину и перейти к следующей впадине зубом к себе справа от напильника. Теперь повторите процесс напильника, сохраняя угол скоса и наблюдая за обоими зубами по обе стороны от напильника. Уменьшите лыски на обоих зубах наполовину и остановитесь. Пропустите следующую глотку и повторите, спускаясь по пиле.
По мере продвижения обратите внимание на то, как каждая пара зубов подпиливается в одном направлении, а остальные еще не подпилены.
После того, как вы подпилите каждую пару зубьев в одном направлении по всей длине пилы, вернитесь к пятке.
Теперь вы удалите лыски, оставшиеся от предыдущего шага, чтобы сделать все зубья острыми.
Поместите файл в первую глотку на пятке, которую вы пропустили ранее. Зуб, смещенный от вас, должен быть слева от файла, а зуб, смещенный к вам, должен быть справа.
Как и раньше, вдавите файл в горло и обратите внимание, как угол файла отклоняется от перпендикуляра, но в противоположном направлении, как раньше. Этот угол должен быть таким же относительным углом от перпендикуляра, как и раньше (15°-25°). Этот последний угол, спиленный в каждом зубе, создаст второй и дополнительный внутренний скос и завершит геометрию поперечного реза.
Как и раньше, сохраняя постоянный угол скоса, протолкните файл через впадину и следите за обеими плоскостями по обеим сторонам файла. Держите файл в пищеводе и убедитесь, что вы удаляете металл с поверхности каждого зуба в дополнение к пищеводе. В идеале вы хотите, чтобы все квартиры исчезли в один и тот же момент. Это гарантирует, что каждый зуб будет острым и одинаковой высоты.
Перейдите к следующему незапиленному глотку и повторите запиливание каждой пары зубьев, пока не закончите пилу.
О том, как делать это неправильно
В классических текстах по заточке пил есть предупреждения о заточке только с одной стороны. Хотя обычно я склоняюсь к мудрости прошлого, здесь я отклоняюсь от нее. Почему? я честно не помню; это просто способ, которым я научился напиливать пилу. Многие другие сегодня также подают все с одной стороны. Вам следует знать об этом споре, если вы планируете самостоятельно затачивать пилы. Вот основные возражения:
1) Опиливание с одной стороны пилы затупляет напильник быстрее, потому что вам приходится подпиливать зубья, наклоненные к вам, что приводит к большему износу зубьев напильника.
Край впадины файла изнашивается первым и разрушает файл. Я нахожу дополнительный износ лицевых краев довольно неуместным; они остаются неповрежденными еще долго после того, как файл станет бесполезным, независимо от того, как вы подпиливаете зубы.
2) Опиливание только с одной стороны пилы приводит к тому, что все заусенцы опиливаются на противоположной стороне зубьев пилы, и при использовании пилы пропил будет вестись в эту сторону.
Я подал сотни пил. Единственный случай, когда я обнаружил, что вышесказанное верно, — это пилы типа «ласточкин хвост» и аналогичные пилы с шагом 14 пикселей на дюйм или меньше. Мелкие зубы могут быть затронуты заусенцами, но один или два дополнительных прохода по зубам со стороны заусенцев — это простое решение. На пилах с зубьями грубее 14 ppi я обнаружил, что они достаточно велики, чтобы решить любые проблемы, которые может создать заусенец.
3) Вы не можете создать зубья пилы с задними фасками независимой формы (наклонными впадинами) путем напиливания с одной стороны пилы.
Я бы сказал, что это в основном правда. Но я не думаю, что для 95 процентов столяров независимые задние фаски на зубьях имеют значение. Для большинства работ выгода незначительна. Можете ли вы получить небольшое преимущество в работе с задними скосами независимой формы? Конечно. Но для меня это как разница между Corvette и Ferrari.
Итак, со всеми этими возражениями вы можете задаться вопросом, почему бы мне просто не перевернуть пилу, подпилить с любой стороны и избежать споров? Если на то пошло, почему некоторые люди сначала обрезают штифты своих ласточкиных хвостов? Или использовать наждачную бумагу после шлифовки рубанком? Или сделать что-нибудь из, казалось бы, странных вещей, которые любой из нас делает миллион раз в день?
Как и большинство вещей в жизни, я просто понятия не имею.
Но я знаю, что мой метод работает.
— MC
Забивание камнями
Забивание камнями. Чтобы удалить заусенцы, оставленные напильником, и удалить разводы, сделайте не более четырех проходов по каждой стороне зубьев мелким индийским камнем или алмазным камнем #600.
Завершающим этапом заточки пилы является закалка ее камнем. Положите инструмент на стол так, чтобы ручка выступала за край. При работе с мелким индийским камнем или алмазным камнем зернистостью 600 используйте легкое давление, когда вы проводите камнем по зубьям по всей длине пилы, чтобы выровнять сетку и удалить заусенцы, образовавшиеся при шлифовке. Переверните пилу и повторите. Достаточно одного прохода в каждую сторону. (Если пила изначально была перенастроена, при необходимости сделайте больше проходов.) Рекомендуется не более четырех проходов с каждой стороны. (Этот шаг также известен как «боковое соединение».)
Вы можете обнаружить, что при пробном резе после заточки пилы с тонким рип-пилом (14 ppi и выше) она отклоняется в сторону.





Развод в данном случае имеет переменное значение. При этом образовывается своеобразная волна.

Данный метод наиболее сложен.
Пилы биметаллические точат на боразоновых либо алмазных кругах.
В реальной жизни же большинство специалистов и самодеятельных мастеров производят операцию лишь по задней стороне, т.к. это более удобно.


html
1. В слу
Оптимальная величина отгиба 0,5-0,7 мм. Операцию выполняют с помощью специального приспособления до момента установки пилы на заточной станок;
13000
20