Π ΡΠ±ΠΊΠ° ΠΊΡΡΠ³Π° Π½Π° ΠΏΡΠ΅ΡΡΠ΅: Π ΡΠ±ΠΊΠ° Π»ΠΈΡΡΠΎΠ²ΠΎΠ³ΠΎ ΠΌΠ΅ΡΠ°Π»Π»Π° Π½Π° Π³ΠΈΠ»ΡΠΎΡΠΈΠ½Π΅ Π² ΠΠΎΡΠΊΠ²Π΅
Π‘ΠΎΠ΄Π΅ΡΠΆΠ°Π½ΠΈΠ΅
ΠΠΈΠ΄Ρ ΡΡΠ±ΠΊΠΈ ΠΌΠ΅ΡΠ°Π»Π»Π° | ΠΠ»ΠΎΠ³ ΠΎ ΠΌΠ΅ΡΠ°Π»Π»ΠΎΠΎΠ±ΡΠ°Π±ΠΎΡΠΊΠ΅
Π ΡΠ±ΠΊΠ° β ΡΠ΅Ρ Π½ΠΎΠ»ΠΎΠ³ΠΈΡ ΠΌΠ΅ΡΠ°Π»Π»ΠΎΠΎΠ±ΡΠ°Π±ΠΎΡΠΊΠΈ, ΠΏΡΠΈ ΠΈΡΠΏΠΎΠ»ΡΠ·ΠΎΠ²Π°Π½ΠΈΠΈ ΠΊΠΎΡΠΎΡΠΎΠΉ Π·Π°Π³ΠΎΡΠΎΠ²ΠΊΠ° ΡΠ°Π·ΡΡΠ±Π°Π΅ΡΡΡ Π½Π° ΡΠ°ΡΡΠΈ ΠΈΠ»ΠΈ Ρ Π½Π΅Π΅ ΡΠ΄Π°Π»ΡΡΡΡΡ ΡΠ»ΠΎΠΈ ΠΌΠ΅ΡΠ°Π»Π»Π°. ΠΡΠΎ ΠΏΠΎΠ·Π²ΠΎΠ»ΡΠ΅Ρ ΡΠ΄Π΅Π»Π°ΡΡ ΠΏΡΠΎΠΈΠ·Π²ΠΎΠ΄ΡΡΠ²Π΅Π½Π½ΡΠΉ ΡΠΈΠΊΠ» Π³ΠΎΡΠ°Π·Π΄ΠΎ ΠΊΠΎΡΠΎΡΠ΅.
- Π§Π΅ΠΌ ΡΡΠ±ΡΡ ΠΌΠ΅ΡΠ°Π»Π»
- Π‘ΠΏΠΎΡΠΎΠ±Ρ ΡΡΠ±ΠΊΠΈ ΠΌΠ΅ΡΠ°Π»Π»Π°
- Π ΡΡΠ½Π°Ρ ΡΡΠ±ΠΊΠ°
- ΠΠΈΠ»ΡΠΎΡΠΈΠ½Π½Π°Ρ ΡΡΠ±ΠΊΠ°
- ΠΠΎΠ»ΡΠ°Π²ΡΠΎΠΌΠ°ΡΠΈΡΠ΅ΡΠΊΠ°Ρ ΠΈ Π°Π²ΡΠΎΠΌΠ°ΡΠΈΡΠ΅ΡΠΊΠ°Ρ ΡΡΠ±ΠΊΠΈ ΠΌΠ΅ΡΠ°Π»Π»Π°
- Π’Π΅Ρ Π½ΠΈΠΊΠ° Π±Π΅Π·ΠΎΠΏΠ°ΡΠ½ΠΎΡΡΠΈ ΠΏΡΠΈ ΡΡΠ±ΠΊΠ΅ ΠΌΠ΅ΡΠ°Π»Π»Π°
Π£ ΠΏΡΠΈΠΌΠ΅Π½Π΅Π½ΠΈΡ ΡΠ΅Ρ Π½ΠΎΠ»ΠΎΠ³ΠΈΠΈ ΡΡΠ±ΠΊΠΈ Π΅ΡΡΡ ΡΡΠ΄ ΠΏΠ»ΡΡΠΎΠ²:
-
ΠΠ΅ ΠΏΡΠΈΡ ΠΎΠ΄ΠΈΡΡΡ Π΄ΠΎΠΏΠΎΠ»Π½ΠΈΡΠ΅Π»ΡΠ½ΠΎ ΠΎΠ±ΡΠ°Π±Π°ΡΡΠ²Π°ΡΡ ΠΏΠΎΠ²Π΅ΡΡ Π½ΠΎΡΡΡ ΠΈΠ·Π΄Π΅Π»ΠΈΡ. Π‘ΡΠ΅Π· ΠΏΠΎΠ»ΡΡΠ°Π΅ΡΡΡ Π°Π±ΡΠΎΠ»ΡΡΠ½ΠΎ ΡΠΎΠ²Π½ΡΠΌ Π±Π΅Π· Π·Π°ΡΡΠ΅Π½ΡΠ΅Π², ΠΈ ΠΌΠΎΠΆΠ½ΠΎ ΡΡΠ°Π·Ρ ΠΈΡΠΏΠΎΠ»ΡΠ·ΠΎΠ²Π°ΡΡ Π·Π°Π³ΠΎΡΠΎΠ²ΠΊΡ. Π’Π°ΠΊΠΈΠΌ ΠΎΠ±ΡΠ°Π·ΠΎΠΌ ΡΠΊΠΎΠ½ΠΎΠΌΠΈΡΡΡ ΠΌΠ°ΡΡΠ° Π²ΡΠ΅ΠΌΠ΅Π½ΠΈ.
-
ΠΠΎΠΆΠ½ΠΎ ΡΠ°ΡΠΊΡΠΎΠΈΡΡ ΠΌΠ°ΡΠ΅ΡΠΈΠ°Π» ΠΌΠ°ΠΊΡΠΈΠΌΠ°Π»ΡΠ½ΠΎ ΡΠΎΡΠ½ΠΎ, Π΄ΠΎ ΠΌΠΈΠ»Π»ΠΈΠΌΠ΅ΡΡΠ°.
-
Π‘ΠΎΠΊΡΠ°ΡΠ°Π΅ΡΡΡ ΠΎΠ±ΡΠ΅ΠΌ ΠΎΡΡ ΠΎΠ΄ΠΎΠ². ΠΠΎΡΠ»Π΅ ΠΎΠ±ΡΠ°Π±ΠΎΡΠΊΠΈ ΠΎΡΡΠ°Π΅ΡΡΡ ΠΌΠ΅Π½ΡΡΠ΅ ΠΎΠΏΠΈΠ»ΠΎΠΊ ΠΈ ΡΡΡΡΠΆΠΊΠΈ.
-
ΠΡΠΎΠΈΠ·Π²ΠΎΠ΄ΡΡΠ²ΠΎ Π·Π½Π°ΡΠΈΡΠ΅Π»ΡΠ½ΠΎ ΡΡΠΊΠΎΡΡΠ΅ΡΡΡ.
ΠΡΠΏΠΎΠ»ΡΠ·ΠΎΠ²Π°Π½ΠΈΠ΅ ΡΠ»Π΅ΠΊΡΡΠΎΠΌΠ΅Ρ
Π°Π½ΠΈΡΠ΅ΡΠΊΠΈΡ
Π³ΠΈΠ»ΡΠΎΡΠΈΠ½ ΠΏΠΎΠ·Π²ΠΎΠ»ΡΠ΅Ρ ΡΠ°Π±ΠΎΡΠ°ΡΡ Ρ Π±ΠΎΠ»Π΅Π΅ Π²ΡΡΠΎΠΊΠΎΠΉ ΠΏΡΠΎΠΈΠ·Π²ΠΎΠ΄ΠΈΡΠ΅Π»ΡΠ½ΠΎΡΡΡΡ. -
ΠΠΎΠ»Π½ΠΎΡΡΡΡ ΡΠΎΡ ΡΠ°Π½ΡΡΡΡΡ ΡΠΊΡΠΏΠ»ΡΠ°ΡΠ°ΡΠΈΠΎΠ½Π½ΡΠ΅ Ρ Π°ΡΠ°ΠΊΡΠ΅ΡΠΈΡΡΠΈΠΊΠΈ ΠΌΠ΅ΡΠ°Π»Π»Π° Π·Π° ΡΡΠ΅Ρ ΡΠΎΠ³ΠΎ, ΡΡΠΎ ΠΎΠ½ ΠΎΠ±ΡΠ°Π±Π°ΡΡΠ²Π°Π΅ΡΡΡ Π±Π΅Π· Π½Π°Π³ΡΠ΅Π²Π°.
-
Π£ΠΌΠ΅Π½ΡΡΠ°ΡΡΡΡ ΡΠ°ΡΡ ΠΎΠ΄Ρ. ΠΡΠΈ ΡΠ°ΠΊΠΎΠΌ ΡΠΏΠΎΡΠΎΠ±Π΅ ΠΎΠ±ΡΠ°Π±ΠΎΡΠΊΠΈ ΡΡΠΎΠΈΠΌΠΎΡΡΡ Π³ΠΎΡΠΎΠ²ΡΡ ΠΈΠ·Π΄Π΅Π»ΠΈΠΉ Π·Π½Π°ΡΠΈΡΠ΅Π»ΡΠ½ΠΎ ΡΠΌΠ΅Π½ΡΡΠ°Π΅ΡΡΡ Π±Π»Π°Π³ΠΎΠ΄Π°ΡΡ ΡΠΎΠΊΡΠ°ΡΠ΅Π½ΠΈΡ ΡΠΈΡΠ»Π° Π½Π΅ΠΎΠ±Ρ ΠΎΠ΄ΠΈΠΌΡΡ ΠΎΠΏΠ΅ΡΠ°ΡΠΈΠΉ. Π ΡΠ΅Π·ΡΠ»ΡΡΠ°ΡΠ΅ ΠΏΡΠΎΡΠ΅Π΄ΡΡΠ° ΡΡΠ°Π½ΠΎΠ²ΠΈΡΡΡ Π΄ΠΎΡΡΡΠΏΠ½Π΅Π΅ Π΄Π»Ρ Π·Π°ΠΊΠ°Π·ΡΠΈΠΊΠΎΠ².
-
ΠΠΎΠ»Π΅Π΅ ΡΡΡΠ΅ΠΊΡΠΈΠ²Π½ΠΎ ΠΏΡΠΎΠΈΠ·Π²ΠΎΠ΄ΡΡΡΡ ΠΏΡΡΠΌΠΎΡΠ³ΠΎΠ»ΡΠ½ΡΠ΅ Π·Π°Π³ΠΎΡΠΎΠ²ΠΊΠΈ, ΡΠ΅ΠΌ ΠΏΡΠΈ Π³Π°Π·ΠΎΠ²ΠΎΠΉ ΡΠ΅Π·ΠΊΠ΅, ΡΠ°ΠΌΠΎΠΉ Π±Π»ΠΈΠ·ΠΊΠΎΠΉ ΠΊ ΡΡΠ±ΠΊΠ΅ Π°Π»ΡΡΠ΅ΡΠ½Π°ΡΠΈΠ²Π½ΠΎΠΉ ΡΠ΅Ρ Π½ΠΎΠ»ΠΎΠ³ΠΈΠΈ. Π ΠΌΠΈΠ½ΡΡΡ ΠΌΠΎΠΆΠ½ΠΎ Π΄Π΅Π»Π°ΡΡ Π²ΠΏΠ»ΠΎΡΡ Π΄ΠΎ 10-12 ΡΠ°Π·ΡΠ΅Π·ΠΎΠ².
Π§Π΅ΠΌ ΡΡΠ±ΡΡ ΠΌΠ΅ΡΠ°Π»Π»
Π ΠΏΡΠΎΡΠ΅ΡΡΠ΅ ΡΡΠ±ΠΊΠΈ ΠΌΠΎΠ³ΡΡ ΠΈΡΠΏΠΎΠ»ΡΠ·ΠΎΠ²Π°ΡΡΡΡ ΠΈΠ½ΡΡΡΡΠΌΠ΅Π½ΡΡ Π΄Π²ΡΡ ΡΠΈΠΏΠΎΠ²: ΡΠ΅ΠΆΡΡΠΈΠ΅ ΠΈ ΡΠ΄Π°ΡΠ½ΡΠ΅.
ΠΡΠ½ΠΎΠ²Π½ΡΠ΅ Π²ΠΈΠ΄Ρ ΡΠ΅ΠΆΡΡΠΈΡ ΠΈΠ½ΡΡΡΡΠΌΠ΅Π½ΡΠΎΠ²:
-
Π·ΡΠ±ΠΈΠ»ΠΎ;
-
ΠΊΡΠ΅ΠΉΡΠΌΠ΅ΠΉΡΠ΅Π»Ρ;
-
ΠΊΠ°Π½Π°Π²ΠΎΡΠ½ΠΈΠΊ.
Π£ Π·ΡΠ±ΠΈΠ»Π° ΠΊΠ»ΠΈΠ½ΠΎΠ²ΠΈΠ΄Π½Π°Ρ ΡΠ΅ΠΆΡΡΠ°Ρ ΡΠ°ΡΡΡ, Π·Π°ΡΠΎΡΠ΅Π½Π½Π°Ρ ΠΏΠΎΠ΄ ΡΠ³Π»ΠΎΠΌ.
ΠΠΎΠ΄ ΠΊΠ°ΠΊΠΈΠΌ ΠΈΠΌΠ΅Π½Π½ΠΎ, Π·Π°Π²ΠΈΡΠΈΡ ΠΎΡ ΠΏΡΠΎΡΠ½ΠΎΡΡΠΈ ΠΎΠ±ΡΠ°Π±Π°ΡΡΠ²Π°Π΅ΠΌΠΎΠ³ΠΎ ΠΌΠ°ΡΠ΅ΡΠΈΠ°Π»Π°. Π§Π΅ΠΌ ΠΎΠ½Π° Π²ΡΡΠ΅, ΡΠ΅ΠΌ Π±ΠΎΠ»ΡΡΠ΅ ΡΠ³ΠΎΠ». Π ΠΏΡΠΈΠΌΠ΅ΡΡ, Π΄Π»Ρ ΡΡΠ°Π»ΠΈ ΡΡΠΎ 60 Π³ΡΠ°Π΄ΡΡΠΎΠ², Π° Π΄Π»Ρ Π±ΡΠΎΠ½Π·Ρ ΠΈ ΡΡΠ³ΡΠ½Π° β 70.
ΠΠ»ΠΈΠ½Π° Π·ΡΠ±ΠΈΠ»Π° Π² Π΄ΠΈΠ°ΠΏΠ°Π·ΠΎΠ½Π΅ ΠΎΡ 10 ΡΠΌ Π΄ΠΎ 20 Ρ ΡΠ°Π·Π½ΠΈΡΠ΅ΠΉ ΠΌΠ΅ΠΆΠ΄Ρ ΡΠΎΡΠ΅Π΄Π½ΠΈΠΌΠΈ ΡΠ°Π·ΠΌΠ΅ΡΠ°ΠΌΠΈ Π² 2,5 ΡΠΌ. Π£ Π½Π΅Π³ΠΎ Π΄Π²Π΅ ΠΎΡΠ½ΠΎΠ²Π½ΡΠ΅ ΡΠ°ΡΡΠΈ: ΡΠ΅ΠΆΡΡΠ°Ρ ΠΈ Ρ Π²ΠΎΡΡΠΎΠ²Π°Ρ. ΠΠ±Π΅ Π·Π°ΠΊΠ°Π»Π΅Π½Ρ. ΠΡΠ±ΠΈΠ»ΠΎ ΠΌΠΎΠΆΠ΅Ρ Π±ΡΡΡ ΠΊΡΠ·Π½Π΅ΡΠ½ΡΠΌ ΠΈΠ»ΠΈ ΡΠ»Π΅ΡΠ°ΡΠ½ΡΠΌ. ΠΠ΅ΡΠ²ΡΠΌ ΠΎΠ±ΡΠ°Π±Π°ΡΡΠ²Π°Π΅ΡΡΡ Π³ΠΎΡΡΡΠΈΠΉ ΠΌΠ΅ΡΠ°Π»Π», Π° Π²ΡΠΎΡΡΠΌ β Ρ ΠΎΠ»ΠΎΠ΄Π½ΡΠΉ. ΠΠ°ΠΊ ΠΈΠ½ΡΡΡΡΠΌΠ΅Π½Ρ Π²ΠΎΠ·Π΄Π΅ΠΉΡΡΠ²ΡΠ΅Ρ Π½Π° ΠΌΠ΅ΡΠ°Π»Π»ΠΈΡΠ΅ΡΠΊΡΡ Π·Π°Π³ΠΎΡΠΎΠ²ΠΊΡ, Π·Π°Π²ΠΈΡΠΈΡ ΠΎΡ ΡΠΎΠ³ΠΎ, ΠΊΠ°ΠΊ ΡΠ°ΡΠΏΠΎΠ»ΠΎΠΆΠ΅Π½Π° Π΅Π³ΠΎ ΡΠ΅ΠΆΡΡΠ°Ρ ΡΠ°ΡΡΡ ΠΈ Ρ ΠΊΠ°ΠΊΠΎΠΉ ΡΠΈΠ»ΠΎΠΉ ΠΎΠΊΠ°Π·ΡΠ²Π°Π΅ΡΡΡ Π²ΠΎΠ·Π΄Π΅ΠΉΡΡΠ²ΠΈΠ΅ Π½Π° ΠΎΡΠ½ΠΎΠ²Π°Π½ΠΈΠ΅ Π·ΡΠ±ΠΈΠ»Π°.
ΠΠ½ΡΡΡΡΠΌΠ΅Π½Ρ Π²ΡΡΠΎΠΊΠΎΠ³ΠΎ ΠΊΠ°ΡΠ΅ΡΡΠ²Π° ΠΎΡΠ»ΠΈΡΠ°Π΅ΡΡΡ Ρ ΠΎΡΠΎΡΠ΅ΠΉ Π·Π°ΠΊΠ°Π»ΠΊΠΎΠΉ ΠΈ ΠΏΡΠ°Π²ΠΈΠ»ΡΠ½ΠΎΠΉ Π·Π°ΡΠΎΡΠΊΠΎΠΉ. ΠΠΌΠ΅Π½Π½ΠΎ ΠΎΡ ΡΡΠΈΡ Ρ Π°ΡΠ°ΠΊΡΠ΅ΡΠΈΡΡΠΈΠΊ Π·Π°Π²ΠΈΡΠΈΡ ΡΠ΅Π·ΡΠ»ΡΡΠ°Ρ Π΅Π³ΠΎ ΠΈΡΠΏΠΎΠ»ΡΠ·ΠΎΠ²Π°Π½ΠΈΡ.
ΠΡΠ΅ΠΉΡΠΌΠ΅ΠΉΡΠ΅Π»Ρ ΠΏΠΎΡ
ΠΎΠΆ Π½Π° Π·ΡΠ±ΠΈΠ»ΠΎ Π²Π½Π΅ΡΠ½Π΅. Π£ Π½Π΅Π³ΠΎ ΡΠ°ΠΊΠΆΠ΅ Π·Π°ΠΎΡΡΡΠ΅Π½Π½Π°Ρ ΡΠ΅ΠΆΡΡΠ°Ρ ΡΠ°ΡΡΡ, Π½ΠΎ ΠΎΠ½Π° ΡΠΆΠ΅. ΠΠ° ΡΡΠ΅Ρ ΡΡΠΎΠ³ΠΎ ΠΏΡΠΈ ΠΏΠΎΠΌΠΎΡΠΈ ΡΠ°ΠΊΠΎΠ³ΠΎ ΠΈΠ½ΡΡΡΡΠΌΠ΅Π½ΡΠ° ΠΌΠΎΠ³ΡΡ Π²ΡΡΡΠ±Π°ΡΡΡΡ ΡΠΏΠΎΠ½ΠΎΡΠ½ΡΠ΅ ΠΏΠ°Π·Ρ ΠΈ ΡΠ·ΠΊΠΈΠ΅ ΠΊΠ°Π½Π°Π²ΠΊΠΈ. ΠΡΠΎΠΌΠΊΠ°, ΡΠ°Π·ΡΠ΅Π·Π°ΡΡΠ°Ρ ΠΌΠ°ΡΠ΅ΡΠΈΠ°Π», Π±ΠΎΠ»Π΅Π΅ ΡΠΈΡΠΎΠΊΠ°Ρ, ΡΠ΅ΠΌ ΡΠ°Π±ΠΎΡΠ°Ρ ΡΠ°ΡΡΡ. ΠΠ° ΡΡΠ΅Ρ ΡΡΠΎΠ³ΠΎ ΠΈΠ½ΡΡΡΡΠΌΠ΅Π½Ρ Π½Π΅ Π·Π°ΠΊΠ»ΠΈΠ½ΠΈΠ²Π°Π΅Ρ, ΠΏΠΎΠ³ΡΡΠΆΠ°ΡΡΡ Π² ΡΠ³Π»ΡΠ±Π»Π΅Π½ΠΈΠ΅.
Π£Π³ΠΎΠ», ΠΏΠΎΠ΄ ΠΊΠΎΡΠΎΡΡΠΌ Π½Π΅ΠΎΠ±Ρ
ΠΎΠ΄ΠΈΠΌΠΎ Π·Π°ΠΎΡΡΡΡΡΡ ΠΊΡΠ΅ΠΉΡΠΌΠ΅ΠΉΡΠ΅Π»Ρ, ΠΈ ΡΠΈΠ»Π°, ΠΊΠΎΡΠΎΡΡΡ ΡΠ»Π΅Π΄ΡΠ΅Ρ ΠΏΡΠΈΠΌΠ΅Π½ΡΡΡ Ρ ΡΡΠ΅ΡΠΎΠΌ ΠΏΡΠΎΡΠ½ΠΎΡΡΠΈ ΠΌΠ°ΡΠ΅ΡΠΈΠ°Π»Π°, ΡΠ°ΡΡΡΠΈΡΡΠ²Π°ΡΡΡΡ ΠΏΠΎ ΡΠ΅ΠΌ ΠΆΠ΅ Π½ΠΎΡΠΌΠ°ΠΌ, ΡΡΠΎ ΠΈ Π΄Π»Ρ Π·ΡΠ±ΠΈΠ»Π°.
ΠΠ°Π½Π°Π²ΠΎΡΠ½ΠΈΠΊ β ΠΎΡΠΎΠ±ΡΠΉ Π²ΠΈΠ΄ ΠΊΡΠ΅ΠΉΡΠΌΠ΅ΠΉΡΠ΅Π»Ρ. ΠΡΠΈ ΠΏΠΎΠΌΠΎΡΠΈ ΡΡΠΎΠ³ΠΎ ΠΈΠ½ΡΡΡΡΠΌΠ΅Π½ΡΠ° Π²ΡΡΡΠ±Π°ΡΡΡΡ ΠΏΡΠΎΡΠΈΠ»ΡΠ½ΡΠ΅ ΠΊΠ°Π½Π°Π²ΠΊΠΈ. ΠΠ΄ΠΈΠ½ΡΡΠ²Π΅Π½Π½ΠΎΠ΅ Π΅Π³ΠΎ ΠΎΡΠ»ΠΈΡΠΈΡΠ΅Π»ΡΠ½ΠΎΠ΅ ΡΠ²ΠΎΠΉΡΡΠ²ΠΎ β ΠΎΡΡΡΠΎΠΊΠΎΠ½Π΅ΡΠ½Π°Ρ ΠΈΠ»ΠΈ ΠΏΠΎΠ»ΡΠΊΡΡΠ³Π»Π°Ρ ΡΠΎΡΠΌΠ° ΡΠ΅ΠΆΡΡΠ΅ΠΉ ΠΊΡΠΎΠΌΠΊΠΈ.
ΠΡΠΎΡΠ°Ρ ΡΠ°Π·Π½ΠΎΠ²ΠΈΠ΄Π½ΠΎΡΡΡ ΠΈΠ½ΡΡΡΡΠΌΠ΅Π½ΡΠΎΠ², ΠΈΡΠΏΠΎΠ»ΡΠ·ΡΠ΅ΠΌΡΡ Π΄Π»Ρ ΡΡΠ±ΠΊΠΈ ΠΌΠ΅ΡΠ°Π»Π»ΠΈΡΠ΅ΡΠΊΠΈΡ ΠΈΠ·Π΄Π΅Π»ΠΈΠΉ β ΡΠ΄Π°ΡΠ½ΡΠ΅.
ΠΡΠΎ ΡΠ°Π·Π½ΠΎΠΎΠ±ΡΠ°Π·Π½ΡΠ΅ ΠΌΠΎΠ»ΠΎΡΠΊΠΈ Π΄Π»Ρ ΠΏΡΠΎΠ²Π΅Π΄Π΅Π½ΠΈΡ ΡΠ°Π·Π½ΡΡ Π²ΠΈΠ΄ΠΎΠ² ΡΠ»Π΅ΡΠ°ΡΠ½ΡΡ ΡΠ°Π±ΠΎΡ, Π½Π°ΠΏΡΠΈΠΌΠ΅Ρ, Π΄Π»Ρ ΡΠ±ΠΎΡΠΊΠΈ ΠΈΠ»ΠΈ ΡΠ΅ΠΊΠ°Π½ΠΊΠΈ.
ΠΠ½ΠΈ ΠΎΡΠ»ΠΈΡΠ°ΡΡΡΡ ΠΏΠΎ ΠΌΠ°ΡΡΠ΅ ΠΈ ΠΌΠΎΠ³ΡΡ Π±ΡΡΡ:
-
ΡΡΠΆΠ΅Π»ΡΠΌΠΈ;
-
ΡΡΠ΅Π΄Π½ΠΈΠΌΠΈ;
-
ΠΌΠ°Π»ΡΠΌΠΈ.
Π‘ΠΏΠΎΡΠΎΠ±Ρ ΡΡΠ±ΠΊΠΈ ΠΌΠ΅ΡΠ°Π»Π»Π°
ΠΠ½Π° ΠΌΠΎΠΆΠ΅Ρ ΠΏΡΠΎΠ²ΠΎΠ΄ΠΈΡΡΡΡ Π΄Π²ΡΠΌΡ ΡΠΏΠΎΡΠΎΠ±Π°ΠΌΠΈ β Π²ΡΡΡΠ½ΡΡ ΠΈΠ»ΠΈ ΠΏΡΠΈ ΠΏΠΎΠΌΠΎΡΠΈ Π³ΠΈΠ»ΡΠΎΡΠΈΠ½Ρ (Π² ΡΡΠΎΠΌ ΡΠ»ΡΡΠ°Π΅ ΠΏΡΠΎΠΈΡΡ ΠΎΠ΄ΠΈΡ ΡΠ΅Π·ΠΊΠ° ΠΌΠ΅ΡΠ°Π»Π»ΠΈΡΠ΅ΡΠΊΠΈΡ ΠΈΠ·Π΄Π΅Π»ΠΈΠΉ).
Π ΡΡΠ½Π°Ρ ΡΡΠ±ΠΊΠ°
ΠΡΠΎΠΈΠ·Π²ΠΎΠ΄ΠΈΡΠ΅Π»ΡΠ½ΠΎΡΡΡ ΡΠ°ΠΊΠΎΠ³ΠΎ ΠΌΠ΅ΡΠΎΠ΄Π° ΠΎΠ±ΡΠ°Π±ΠΎΡΠΊΠΈ Π½ΠΈΠΆΠ΅, Π² ΡΠ²ΡΠ·ΠΈ Ρ ΡΠ΅ΠΌ ΠΎΠ½ ΠΈΡΠΏΠΎΠ»ΡΠ·ΡΠ΅ΡΡΡ Π² ΠΎΡΠ½ΠΎΠ²Π½ΠΎΠΌ Π΄Π»Ρ ΠΈΠ·Π³ΠΎΡΠΎΠ²Π»Π΅Π½ΠΈΡ ΠΎΡΠ΄Π΅Π»ΡΠ½ΡΡ
Π΄Π΅ΡΠ°Π»Π΅ΠΉ.
Π ΡΠΎΠΌΡ ΠΆΠ΅ ΠΈΡΠΏΠΎΠ»ΡΠ·ΡΠ΅ΠΌΡΠ΅ ΠΏΡΠΈ ΡΡΡΠ½ΠΎΠΉ ΡΡΠ±ΠΊΠ΅ ΠΈΠ½ΡΡΡΡΠΌΠ΅Π½ΡΡ, ΠΊΠΎΡΠΎΡΡΡ
Π±ΠΎΠ»ΡΡΠΎΠ΅ ΠΊΠΎΠ»ΠΈΡΠ΅ΡΡΠ²ΠΎ, ΡΠ΅ΠΌ Π½Π΅ ΠΌΠ΅Π½Π΅Π΅ Π½Π΅ ΡΠΏΠΎΡΠΎΠ±Π½Ρ Π΄Π°ΡΡ ΡΠ°ΠΊΠΎΠΉ ΠΆΠ΅ ΡΠΎΡΠ½ΡΠΉ ΡΠ΅Π·ΡΠ»ΡΡΠ°Ρ, ΠΊΠ°ΠΊ ΠΎΠ±ΠΎΡΡΠ΄ΠΎΠ²Π°Π½ΠΈΠ΅ Ρ Π§ΠΠ£.
ΠΡΠ΅ΠΆΠ΄Π΅ ΡΠ΅ΠΌ ΠΏΡΠΈΡΡΡΠΏΠΈΡΡ ΠΊ ΡΠ°Π±ΠΎΡΠ΅ ΠΌΠ°ΡΡΠ΅Ρ Π΄ΠΎΠ»ΠΆΠ΅Π½ ΠΎΠΏΡΠ΅Π΄Π΅Π»ΠΈΡΡ, Π² ΠΊΠ°ΠΊΠΎΠΌ Π½Π°ΠΏΡΠ°Π²Π»Π΅Π½ΠΈΠΈ Π±ΡΠ΄Π΅Ρ Π΄Π²ΠΈΠ³Π°ΡΡΡΡ ΠΈΠ½ΡΡΡΡΠΌΠ΅Π½Ρ: Π²Π΅ΡΡΠΈΠΊΠ°Π»ΡΠ½ΠΎΠΌ ΠΈΠ»ΠΈ Π³ΠΎΡΠΈΠ·ΠΎΠ½ΡΠ°Π»ΡΠ½ΠΎΠΌ. ΠΡΠ±ΠΎΡ Π·Π°Π²ΠΈΡΠΈΡ ΠΎΡ ΡΠΎΠ³ΠΎ, ΠΊΠ°ΠΊ Π·Π°ΠΊΡΠ΅ΠΏΠ»ΡΠ΅ΡΡΡ Π·Π°Π³ΠΎΡΠΎΠ²ΠΊΠ°. Π§Π°ΡΠ΅ Π²ΡΠ΅Π³ΠΎ Π΅Π΅ ΡΠΈΠΊΡΠΈΡΡΡΡ Π² ΡΠΈΡΠΊΠ°Ρ . Π’Π°ΠΊ ΠΌΠΎΠΆΠ½ΠΎ ΠΈΠ·Π±Π΅ΠΆΠ°ΡΡ ΡΠΊΠΎΠ»ΡΠΆΠ΅Π½ΠΈΡ ΠΈ Π½Π°Π΄Π΅ΠΆΠ½ΠΎ Π·Π°ΠΊΡΠ΅ΠΏΠΈΡΡ ΠΈΠ·Π΄Π΅Π»ΠΈΠ΅. ΠΠ»Π°Π²Π½ΡΠΉ ΠΌΠΈΠ½ΡΡ ΡΠΈΡΠΊΠΎΠ² β ΠΎΠ½ΠΈ ΠΏΠΎΠ΄Ρ ΠΎΠ΄ΡΡ Π΄Π»Ρ Π·Π°Π³ΠΎΡΠΎΠ²ΠΎΠΊ Π½Π΅ Π»ΡΠ±ΠΎΠΉ ΡΠΎΠ»ΡΠΈΠ½Ρ ΠΈ ΡΠΎΡΠΌΡ. ΠΡΠ»ΠΈ Π΄Π΅ΡΠ°Π»Ρ ΠΊΡΡΠΏΠ½Π°Ρ, Π΅Π΅, ΠΊΠ°ΠΊ ΠΏΡΠ°Π²ΠΈΠ»ΠΎ, ΠΎΠ±ΡΠ°Π±Π°ΡΡΠ²Π°ΡΡ Π½Π° ΡΠΏΠ΅ΡΠΈΠ°Π»ΡΠ½ΠΎΠΌ ΡΡΠΎΠ»Π΅ ΡΠΎ ΡΡΠ°Π»ΡΠ½ΠΎΠΉ ΠΏΠ»Π°ΡΡΠΈΠ½ΠΎΠΉ, ΠΏΠΎΠ²ΡΡΠ°ΡΡΠ΅ΠΉ Π΅Π³ΠΎ ΠΏΡΠΎΡΠ½ΠΎΡΡΡ. Π§ΡΠΎΠ±Ρ ΠΈΠ·Π΄Π΅Π»ΠΈΠ΅ ΡΠΈΠΊΡΠΈΡΠΎΠ²Π°Π»ΠΎΡΡ Π½Π°Π΄Π΅ΠΆΠ½Π΅Π΅, ΠΈΡΠΏΠΎΠ»ΡΠ·ΡΡΡΡΡ ΠΏΡΠΎΡΠ΅Π·ΠΈΠ½Π΅Π½Π½ΡΠ΅ Π½Π°ΠΊΠ»Π°Π΄ΠΊΠΈ ΠΈ ΡΠ°ΠΌΠΎΡΠ΅Π·Ρ.
ΠΠ°Π»ΡΡΠ΅ Π½ΡΠΆΠ½ΠΎ Π²ΡΠ±ΡΠ°ΡΡ ΠΈΠ½ΡΡΡΡΠΌΠ΅Π½ΡΡ. Π Π±ΠΎΠ»ΡΡΠΈΠ½ΡΡΠ²Π΅ ΡΠ»ΡΡΠ°Π΅Π² Π΄Π»Ρ ΠΎΠ±ΡΠ°Π±ΠΎΡΠΊΠΈ ΠΌΠ΅ΡΠ°Π»Π»ΠΈΡΠ΅ΡΠΊΠΎΠΉ Π·Π°Π³ΠΎΡΠΎΠ²ΠΊΠΈ Π²ΡΡΡΠ½ΡΡ ΠΈΡΠΏΠΎΠ»ΡΠ·ΡΡΡ ΠΌΠΎΠ»ΠΎΡΠΎΠΊ ΠΈ Π·ΡΠ±ΠΈΠ»ΠΎ (ΠΈΠ»ΠΈ ΠΊΡΠ΅ΠΉΡΠΌΠ΅ΠΉΡΠ΅Π»Ρ). Π‘ ΠΈΡ
ΠΏΠΎΠΌΠΎΡΡΡ ΠΌΠΎΠΆΠ½ΠΎ ΠΎΠ±ΡΠ°Π±Π°ΡΡΠ²Π°ΡΡ Π·Π°Π³ΠΎΡΠΎΠ²ΠΊΠ°ΠΌΠΈ ΡΠ°ΠΌΡΡ
ΡΠ°ΡΡΠΎ Π²ΡΡΡΠ΅ΡΠ°ΡΡΠΈΡ
ΡΡ ΡΠΈΠΏΠΎΠ² ΠΈΠ· Π±ΠΎΠ»ΡΡΠΈΠ½ΡΡΠ²Π° ΡΠ°Π·Π½ΠΎΠ²ΠΈΠ΄Π½ΠΎΡΡΠ΅ΠΉ ΠΌΠ΅ΡΠ°Π»Π»ΠΎΠ².
Π£Π΄Π°ΡΡΡΡ Π»ΠΈ ΠΎΠ±Π΅ΡΠΏΠ΅ΡΠΈΡΡ Π΄ΠΎΡΡΠ°ΡΠΎΡΠ½ΠΎ Π²ΡΡΠΎΠΊΡΡ ΡΠΎΡΠ½ΠΎΡΡΡ ΠΈ ΠΊΠ°ΡΠ΅ΡΡΠ²ΠΎ ΡΠ°Π±ΠΎΡΡ, Π·Π°Π²ΠΈΡΠΈΡ ΠΎΡ ΠΌΠ°ΡΡΠ΅ΡΡΡΠ²Π°. Π ΠΏΡΠΎΡΠ΅ΡΡΠ΅ ΡΡΠ±ΠΊΠΈ ΠΌΠ΅ΡΠ°Π»Π» ΠΏΡΠΎΡΡΠ²Π°Π΅ΡΡΡ Π² Π½Π΅ΠΎΠ±Ρ ΠΎΠ΄ΠΈΠΌΠΎΠΌ ΠΌΠ΅ΡΡΠ΅. ΠΡΠΈ ΠΏΠΎΠΌΠΎΡΠΈ Π·ΡΠ±ΠΈΠ»Π° ΠΈΠ»ΠΈ ΠΊΡΠ΅ΠΉΡΠΌΠ΅ΠΉΡΠ΅Π»Ρ ΡΠΈΠ»Π° ΠΏΡΠΈΠΊΠ»Π°Π΄ΡΠ²Π°Π΅ΡΡΡ ΡΠΎΡΠ΅ΡΠ½ΠΎ, Π½ΠΎ Π΄Π»Ρ ΡΠ΅ΡΠ΅Π½ΠΈΡ Π³Π»Π°Π²Π½ΠΎΠΉ Π·Π°Π΄Π°ΡΠΈ ΠΌΠ°ΡΡΠ΅Ρ ΠΈΡΠΏΠΎΠ»ΡΠ·ΡΠ΅Ρ ΠΌΠΎΠ»ΠΎΡΠΎΠΊ. ΠΠ΅Π·ΡΡΠ»ΠΎΠ²Π½ΠΎ, ΠΏΡΠΈ ΡΡΠΎΠΌ ΠΊΡΠ°ΠΉΠ½Π΅ Π²Π°ΠΆΠ½ΠΎ, Ρ ΠΊΠ°ΠΊΠΎΠΉ ΡΠΈΠ»ΠΎΠΉ ΡΠΎΠ²Π΅ΡΡΠ°Π΅ΡΡΡ ΡΠ΄Π°Ρ. ΠΡΠΈΡΠ΅ΠΌ ΡΠΈΠ»ΡΠ½Π΅Π΅ Π½Π΅ΠΎΠ±ΡΠ·Π°ΡΠ΅Π»ΡΠ½ΠΎ Π»ΡΡΡΠ΅. ΠΠ°ΡΡΠ΅ΡΠ° Ρ ΠΎΠΏΡΡΠΎΠΌ Π½Π°ΡΠΈΠ½Π°ΡΡ ΠΎΠ±ΡΠ°Π±ΠΎΡΠΊΡ Ρ ΡΠΎΠ·Π΄Π°Π½ΠΈΡ Π·Π°Π·ΡΠ±ΡΠΈΠ½Ρ Π½Π° ΠΌΠ΅ΡΠ°Π»Π»Π΅, Π±Π»Π°Π³ΠΎΠ΄Π°ΡΡ ΠΊΠΎΡΠΎΡΠΎΠΉ Π»Π΅Π·Π²ΠΈΠ΅ Π½Π΅ Π±ΡΠ΄Π΅Ρ ΡΠΎΡΠΊΠ°Π»ΡΠ·ΡΠ²Π°ΡΡ Π² ΠΏΡΠΎΡΠ΅ΡΡΠ΅ ΡΡΠ±ΠΊΠΈ. ΠΡΠΈ Π½Π΅ΡΠΏΠΎΡΠΎΠ±Π½ΠΎΡΡΠΈ Π³ΡΠ°ΠΌΠΎΡΠ½ΠΎ ΠΈΡΠΏΠΎΠ»ΡΠ·ΠΎΠ²Π°ΡΡ ΡΠΈΠ»Ρ ΠΌΠ°ΡΡΠ΅Ρ ΠΌΠΎΠΆΠ΅Ρ Π½Π΅ ΡΠΎΠ»ΡΠΊΠΎ ΠΏΠΎΠ²ΡΠ΅Π΄ΠΈΡΡ Π·Π°Π³ΠΎΡΠΎΠ²ΠΊΡ, Π½ΠΎ ΠΈ ΡΠ»ΠΎΠΌΠ°ΡΡ ΠΈΠ½ΡΡΡΡΠΌΠ΅Π½Ρ. Π‘ Π΄ΡΡΠ³ΠΎΠΉ ΡΡΠΎΡΠΎΠ½Ρ, Π΅ΡΠ»ΠΈ ΠΎΠ½ ΠΎΠΏΡΡΠ½ΡΠΉ, ΡΠΎΡΠ½ΠΎΡΡΡ ΠΏΡΠ°ΠΊΡΠΈΡΠ΅ΡΠΊΠΈ ΡΠ°ΠΊΠ°Ρ ΠΆΠ΅, ΠΊΠ°ΠΊ ΠΏΡΠΈ ΠΎΠ±ΡΠ°Π±ΠΎΡΠΊΠ΅ Π½Π° ΡΡΠ°Π½ΠΊΠ΅.
ΠΠ°ΠΆΠ½ΠΎ ΡΠ°ΠΊΠΆΠ΅, ΡΡΠΎΠ±Ρ ΡΠ»Π΅ΡΠ°ΡΡ ΠΌΠ°ΡΡΠ΅ΡΡΠΊΠΈ ΡΠ°Π±ΠΎΡΠ°Π» Ρ ΠΌΠΎΠ»ΠΎΡΠΊΠΎΠΌ. ΠΡΠΎ Π΄ΠΎΠ²ΠΎΠ»ΡΠ½ΠΎ ΠΏΡΠΎΡΡΠΎΠΉ ΠΈΠ½ΡΡΡΡΠΌΠ΅Π½Ρ, Π½ΠΎ ΠΎΡ Π½Π΅Π³ΠΎ Π·Π°Π²ΠΈΡΠΈΡ, Π½Π°ΡΠΊΠΎΠ»ΡΠΊΠΎ Π³ΡΠ°ΠΌΠΎΡΠ½ΠΎ ΠΏΡΠΈΠΊΠ»Π°Π΄ΡΠ²Π°Π΅ΡΡΡ ΡΠΈΠ»Π° ΠΈ ΠΊΠ°ΠΊΠΎΠ²ΠΎ ΠΊΠ°ΡΠ΅ΡΡΠ²ΠΎ ΠΏΠΎΠ»ΡΡΠ΅Π½Π½ΠΎΠ³ΠΎ ΡΠ΅Π·ΡΠ»ΡΡΠ°ΡΠ°. ΠΠ»Π°Π²Π½ΠΎΠ΅ ΡΠΎΠ²Π΅ΡΡΠ°Π΅ΠΌΠΎΠ΅ ΠΌΠ°ΡΡΠ΅ΡΠΎΠΌ Π΄Π²ΠΈΠΆΠ΅Π½ΠΈΠ΅ β ΡΠ΄Π°Ρ. ΠΠΎ ΡΠ»Π΅ΡΠ°ΡΠ½ΠΎΠ΅ Π΄Π΅Π»ΠΎ Π³ΠΎΡΠ°Π·Π΄ΠΎ Π±ΠΎΠ»Π΅Π΅ ΡΠ»ΠΎΠΆΠ½ΠΎΠ΅, ΡΠ΅ΠΌ ΡΠ΅ΡΠ΅Π½ΠΈΠ΅ ΡΠ΅Ρ
Π·Π°Π΄Π°Ρ, Ρ ΠΊΠΎΡΠΎΡΡΠΌΠΈ ΠΌΡ ΡΡΠ°Π»ΠΊΠΈΠ²Π°Π΅ΠΌΡΡ Π² Π±ΡΡΡ, Π½Π°ΠΏΡΠΈΠΌΠ΅Ρ, Π·Π°Π±ΠΈΠ²Π°Π½ΠΈΠ΅ Π³Π²ΠΎΠ·Π΄Π΅ΠΉ.
ΠΠ»Ρ ΡΠ»Π΅ΡΠ°ΡΡ Π΄Π°ΠΆΠ΅ ΠΎΠ±ΡΡΠ½ΡΠΉ ΡΠ΄Π°Ρ ΠΈΠΌΠ΅Π΅Ρ ΠΌΠ½ΠΎΠ³ΠΎΡΠΈΡΠ»Π΅Π½Π½ΡΠ΅ ΠΎΡΠΎΠ±Π΅Π½Π½ΠΎΡΡΠΈ. ΠΠ° Π΅Π³ΠΎ ΡΠΈΠ»Ρ Π²Π»ΠΈΡΠ΅Ρ ΠΈ ΡΠΎ, Π½Π°ΡΠΊΠΎΠ»ΡΠΊΠΎ Π΄Π»ΠΈΠ½Π½Π°Ρ Ρ ΠΌΠΎΠ»ΠΎΡΠΊΠ° ΡΡΡΠΊΠ°, ΠΈ ΠΌΠ΅ΡΡΠΎ, Ρ ΠΊΠΎΡΠΎΡΠΎΠ³ΠΎ ΠΌΠ°ΡΡΠ΅Ρ Π½Π°ΡΠ°Π» Π·Π°ΠΌΠ°Ρ
. ΠΡΠ²ΠΎΠΈΠ²ΡΠΈΠΉ ΡΠ΅Ρ
Π½ΠΈΠΊΡ ΡΠ΄Π°ΡΠ° ΠΌΠ°ΡΡΠ΅Ρ ΠΌΠΎΠΆΠ΅Ρ ΠΏΡΠΈΠΊΠ»Π°Π΄ΡΠ²Π°ΡΡ ΡΡΠΈΠ»ΠΈΡ Π² Π½Π΅ΠΎΠ±Ρ
ΠΎΠ΄ΠΈΠΌΠΎΠΌ ΠΎΠ±ΡΠ΅ΠΌΠ΅, ΡΡΠΎΠ±Ρ ΡΠ΄Π΅Π»Π°ΡΡ Π·Π°Π·ΡΠ±ΡΠΈΠ½Ρ ΠΈΠ»ΠΈ ΠΏΡΠΎΡΠ²Π°ΡΡ ΠΌΠ΅ΡΠ°Π»Π».
ΠΡΠΈ ΡΡΡΠ½ΠΎΠΉ ΡΡΠ±ΠΊΠ΅ ΠΏΡΠ΅Π΄ΠΏΠΎΠ»Π°Π³Π°Π΅ΡΡΡ ΡΠΎΠ²Π΅ΡΡΠ΅Π½ΠΈΠ΅ Π½Π΅Π±ΠΎΠ»ΡΡΠΎΠ³ΠΎ ΠΊΠΎΠ»ΠΈΡΠ΅ΡΡΠ²Π° Π΄Π΅ΠΉΡΡΠ²ΠΈΠΉ. ΠΠ°Π³ΠΎΡΠΎΠ²ΠΊΠ° Π½Π°Π΄Π΅ΠΆΠ½ΠΎ ΡΠΈΠΊΡΠΈΡΡΠ΅ΡΡΡ ΠΏΡΠΈ ΠΏΠΎΠΌΠΎΡΠΈ Π΄ΠΎΡΡΡΠΏΠ½ΡΡ ΠΈΠ½ΡΡΡΡΠΌΠ΅Π½ΡΠΎΠ². ΠΠ°ΡΠ΅ΠΌ ΠΏΡΠΎΠΈΠ·Π²ΠΎΠ΄ΠΈΡΡΡ ΡΠ°Π·ΠΌΠ΅ΡΠΊΠ°. Π‘Π»Π΅Π΄ΡΡΡΠΈΠΉ ΡΡΠ°ΠΏ β Π½Π°Π½Π΅ΡΠ΅Π½ΠΈΠ΅ ΡΠ΄Π°ΡΠΎΠ² ΠΌΠΎΠ»ΠΎΡΠΊΠΎΠΌ ΠΈ Π·ΡΠ±ΠΈΠ»ΠΎΠΌ. ΠΠ°ΡΡΠ΅Ρ Ρ Π±ΠΎΠ»ΡΡΠΈΠΌ ΠΎΠΏΡΡΠΎΠΌ ΡΠΏΠΎΡΠΎΠ±Π΅Π½ Π±Π΅Π· ΠΎΡΠΎΠ±ΠΎΠ³ΠΎ ΡΡΡΠ΄Π° ΠΎΠ±Π΅ΡΠΏΠ΅ΡΠΈΠ²Π°ΡΡ ΠΊΠΎΠ½ΡΡΠΎΠ»Ρ ΠΏΠΎΠ»ΠΎΠΆΠ΅Π½ΠΈΡ ΠΈΠ½ΡΡΡΡΠΌΠ΅Π½ΡΠΎΠ², ΠΈΡ Π½Π°ΠΊΠ»ΠΎΠ½Π° ΠΈ ΠΊΠΎΡΡΠ΅ΠΊΡΠΈΡΠΎΠ²Π°ΡΡ ΡΠΈΠ»Ρ Π²ΠΎΠ·Π΄Π΅ΠΉΡΡΠ²ΠΈΡ.
ΠΠ»Π°Π²Π½ΡΠ΅ ΠΏΡΠ΅ΠΈΠΌΡΡΠ΅ΡΡΠ²Π° ΡΡΡΠ½ΠΎΠΉ ΡΡΠ±ΠΊΠΈ ΠΌΠ΅ΡΠ°Π»Π»ΠΈΡΠ΅ΡΠΊΠΈΡ ΠΈΠ·Π΄Π΅Π»ΠΈΠΉ β ΡΡΠΎ ΡΡΠ°Π²Π½ΠΈΡΠ΅Π»ΡΠ½ΠΎ Π½Π΅Π²ΡΡΠΎΠΊΠΈΠ΅ ΡΠ°ΡΡ ΠΎΠ΄Ρ Π½Π° ΠΏΡΠΎΠ²Π΅Π΄Π΅Π½ΠΈΠ΅ ΡΠ°Π±ΠΎΡ. ΠΠ°ΠΆΠ΅ Ρ Π½Π΅Π±ΠΎΠ»ΡΡΠΎΠΉ ΡΠΈΡΠΌΡ Ρ Π²Π°ΡΠΈΡ ΡΡΠ΅Π΄ΡΡΠ² Π½Π° ΠΏΡΠΈΠΎΠ±ΡΠ΅ΡΠ΅Π½ΠΈΠ΅ ΠΈΠ½ΡΡΡΡΠΌΠ΅Π½ΡΠΎΠ² ΠΈ Π·Π°ΡΠΏΠ»Π°ΡΡ ΠΎΠ΄Π½ΠΎΠ³ΠΎ ΡΠ»Π΅ΡΠ°ΡΡ. Π ΡΠ±ΠΊΡ Π² Π½Π΅ΠΊΠΎΡΠΎΡΡΡ ΡΠ»ΡΡΠ°ΡΡ ΠΌΠΎΠΆΠ½ΠΎ ΠΏΡΠΎΠ²ΠΎΠ΄ΠΈΡΡ Π΄Π°ΠΆΠ΅ Π² Π΄ΠΎΠΌΠ°ΡΠ½ΠΈΡ ΡΡΠ»ΠΎΠ²ΠΈΡΡ .
ΠΠΈΠ»ΡΠΎΡΠΈΠ½Π½Π°Ρ ΡΡΠ±ΠΊΠ°
Π’ΡΠ°Π΄ΠΈΡΠΈΠΎΠ½Π½ΠΎ ΡΡΠ±ΠΊΠ° ΠΌΠ΅ΡΠ°Π»Π»Π° ΠΏΡΠΎΠ²ΠΎΠ΄ΠΈΠ»Π°ΡΡ Π²ΡΡΡΠ½ΡΡ, Π½ΠΎ ΡΡΠΎΡ ΡΠΏΠΎΡΠΎΠ± ΡΡΠ°Π» Π½Π΅Π°ΠΊΡΡΠ°Π»ΡΠ½ΡΠΌ ΠΏΠΎΡΠ»Π΅ ΡΠΎΠ³ΠΎ, ΠΊΠ°ΠΊ ΠΏΠΎΡΠ²ΠΈΠ»ΡΡ Π³ΠΈΠ»ΡΠΎΡΠΈΠ½Π½ΡΠΉ.
ΠΠ³ΠΎ ΠΏΡΠΈΠΌΠ΅Π½ΡΡΡ Π² ΡΠ°ΠΌΡΡ
ΡΠ°Π·Π½ΠΎΠΎΠ±ΡΠ°Π·Π½ΡΡ
ΡΡΠ΅ΡΠ°Ρ
Π±Π»Π°Π³ΠΎΠ΄Π°ΡΡ ΡΠΎΠΌΡ, ΡΡΠΎ ΡΠ°ΠΊΠ°Ρ ΠΎΠ±ΡΠ°Π±ΠΎΡΠΊΠ° ΠΌΠ΅ΡΠ°Π»Π»Π° Π±ΠΎΠ»Π΅Π΅ ΡΡΡΠ΅ΠΊΡΠΈΠ²Π½Π°, Ρ Π½Π΅Π΅ Π²ΡΡΠ΅ ΠΏΡΠΎΠΈΠ·Π²ΠΎΠ΄ΠΈΡΠ΅Π»ΡΠ½ΠΎΡΡΡ ΠΈ ΡΠΊΠΎΠ½ΠΎΠΌΠΈΡΠ΅ΡΠΊΠ°Ρ ΡΠ΅Π»Π΅ΡΠΎΠΎΠ±ΡΠ°Π·Π½ΠΎΡΡΡ. ΠΡΠΈ ΡΡΡΠ½ΠΎΠΉ ΡΡΠ±ΠΊΠ΅ ΠΈΡΠΏΠΎΠ»ΡΠ·ΡΠ΅ΡΡΡ Π±ΠΎΠ»ΡΡΠ΅ ΡΠ΅ΡΡΡΡΠΎΠ², ΠΈ Π½Π° ΡΠ°ΠΊΡΡ ΡΠ°Π±ΠΎΡΡ ΡΡΠ°ΡΠΈΡΡΡ Π±ΠΎΠ»ΡΡΠ΅ Π²ΡΠ΅ΠΌΠ΅Π½ΠΈ. ΠΡΠΎΠΌΠ΅ ΡΠΎΠ³ΠΎ, Π²ΡΡΠ΅ Π²Π΅ΡΠΎΡΡΠ½ΠΎΡΡΡ ΡΠ°Π·Π½ΠΎΠ³ΠΎ ΡΠΎΠ΄Π° ΠΎΡΠΈΠ±ΠΎΠΊ.
ΠΠΈΠ»ΡΠΎΡΠΈΠ½Π½ΡΠΉ ΡΠΏΠΎΡΠΎΠ± ΠΏΠΎΠ·Π²ΠΎΠ»ΡΠ΅Ρ ΠΏΠΎΠ»ΡΡΠΈΡΡ ΡΠ΅Π·ΡΠ»ΡΡΠ°Ρ Π±ΠΎΠ»Π΅Π΅ Π²ΡΡΠΎΠΊΠΎΠ³ΠΎ ΠΊΠ°ΡΠ΅ΡΡΠ²Π°, ΠΈ Π½Π΅Ρ Π½Π΅ΠΎΠ±Ρ ΠΎΠ΄ΠΈΠΌΠΎΡΡΠΈ Π΄ΠΎΠΏΠΎΠ»Π½ΠΈΡΠ΅Π»ΡΠ½ΠΎ ΠΎΠ±ΡΠ°Π±Π°ΡΡΠ²Π°ΡΡ Π³ΠΎΡΠΎΠ²ΡΠ΅ ΠΈΠ·Π΄Π΅Π»ΠΈΡ ΠΏΠΎΡΠ»Π΅ ΡΠ°ΠΊΠΎΠΉ ΡΠ΅Π·ΠΊΠΈ. Π‘ΡΠ΅Π·Ρ ΠΏΠΎΠ»ΡΡΠ°ΡΡΡΡ ΠΌΠ°ΠΊΡΠΈΠΌΠ°Π»ΡΠ½ΠΎ ΡΠΎΠ²Π½ΡΠΌΠΈ, Π½Π΅Ρ Π·Π°ΡΡΠ΅Π½ΡΠ΅Π², ΠΈ Π΄Π΅ΡΠ°Π»ΠΈ, ΠΎΠ±ΡΠ°Π±ΠΎΡΠ°Π½Π½ΡΠ΅ ΠΏΠΎ Π³ΠΈΠ»ΡΠΎΡΠΈΠ½Π½ΠΎΠΉ ΡΠ΅Ρ Π½ΠΎΠ»ΠΎΠ³ΠΈΠΈ, ΠΌΠΎΠΆΠ½ΠΎ ΡΡΠ°Π·Ρ ΠΈΡΠΏΠΎΠ»ΡΠ·ΠΎΠ²Π°ΡΡ, Π½Π°ΠΏΡΠΈΠΌΠ΅Ρ, ΠΊΡΠ°ΡΠΈΡΡ, ΡΠ²Π΅ΡΠ»ΠΈΡΡ, ΡΠ²Π°ΡΠΈΠ²Π°ΡΡ ΠΈΠ»ΠΈ ΠΏΡΠΎΠΈΠ·Π²ΠΎΠ΄ΠΈΡΡ Ρ Π½ΠΈΠΌΠΈ Π΄ΡΡΠ³ΠΈΠ΅ Π΄Π΅ΠΉΡΡΠ²ΠΈΡ.
Π‘ΡΠ°Π½ΠΊΠΈ, Π½Π° ΠΊΠΎΡΠΎΡΡΡ ΠΌΠ΅ΡΠ°Π»Π»ΠΈΡΠ΅ΡΠΊΠΈΠ΅ Π·Π°Π³ΠΎΡΠΎΠ²ΠΊΠΈ ΡΠ°Π·ΡΠ΅Π·Π°ΡΡ ΠΏΠΎΡΡΠ΅Π΄ΡΡΠ²ΠΎΠΌ Π³ΠΈΠ»ΡΠΎΡΠΈΠ½Π½ΠΎΠΉ ΡΠ΅Ρ Π½ΠΎΠ»ΠΎΠ³ΠΈΠΈ, Π½Π°ΠΏΠΎΠΌΠΈΠ½Π°ΡΡ ΠΈΠ·Π²Π΅ΡΡΠ½ΠΎΠ΅ ΠΎΡΡΠ΄ΠΈΠ΅ ΠΊΠ°Π·Π½ΠΈ, ΠΎΡ ΠΊΠΎΡΠΎΡΠΎΠ³ΠΎ ΠΎΠ½Π° ΠΈ ΠΏΠΎΠ»ΡΡΠΈΠ»Π° ΡΠ²ΠΎΠ΅ Π½Π°Π·Π²Π°Π½ΠΈΠ΅. ΠΡΠΈΠΌΠ΅Π½ΡΡ ΡΠ°ΠΊΠΎΠΉ ΠΌΠ΅ΡΠΎΠ΄ ΡΡΠ±ΠΊΠΈ ΠΌΠ΅ΡΠ°Π»Π»Π°, ΠΌΠΎΠΆΠ½ΠΎ Π·Π½Π°ΡΠΈΡΠ΅Π»ΡΠ½ΠΎ ΡΠΌΠ΅Π½ΡΡΠΈΡΡ Π·Π°ΡΡΠ°ΡΡ Π½Π° ΠΈΠ·Π³ΠΎΡΠΎΠ²Π»Π΅Π½ΠΈΠ΅ Π΄Π΅ΡΠ°Π»Π΅ΠΉ ΠΈ ΡΠΎΠΊΡΠ°ΡΠΈΡΡ ΠΎΠ±ΡΠ΅ΠΌ ΠΎΡΡ ΠΎΠ΄ΠΎΠ².
ΠΠΎΠ»ΡΠ°Π²ΡΠΎΠΌΠ°ΡΠΈΡΠ΅ΡΠΊΠ°Ρ ΠΈ Π°Π²ΡΠΎΠΌΠ°ΡΠΈΡΠ΅ΡΠΊΠ°Ρ ΡΡΠ±ΠΊΠΈ ΠΌΠ΅ΡΠ°Π»Π»Π°
Π ΡΠ±ΠΊΠ° Π²ΡΡΡΠ½ΡΡ, ΠΊΠ°ΠΊ ΡΠΆΠ΅ ΡΠΏΠΎΠΌΠΈΠ½Π°Π»ΠΎΡΡ, ΡΠΆΠ΅ Π΄Π°Π²Π½ΠΎ Π½Π΅ ΡΠ²Π»ΡΠ΅ΡΡΡ Π°ΠΊΡΡΠ°Π»ΡΠ½ΠΎΠΉ.
ΠΡΠΎΡ ΠΌΠ΅ΡΠΎΠ΄ ΠΈΡΠΏΠΎΠ»ΡΠ·ΡΠ΅ΡΡΡ ΠΈΡΠΊΠ»ΡΡΠΈΡΠ΅Π»ΡΠ½ΠΎ ΡΠ΅Π΄ΠΊΠΎ, ΠΊΠΎΠ³Π΄Π° Π½Π΅Ρ Π²ΠΎΠ·ΠΌΠΎΠΆΠ½ΠΎΡΡΠΈ ΠΈΡΠΏΠΎΠ»ΡΠ·ΠΎΠ²Π°ΡΡ ΡΡΠ°Π½ΠΎΠΊ. Π Π΄ΡΡΠ³ΠΈΡ
ΡΠ»ΡΡΠ°ΡΡ
ΠΏΡΠΎΠΈΠ·Π²ΠΎΠ΄ΡΡΠ²Π΅Π½Π½ΡΠΉ ΠΏΡΠΎΡΠ΅ΡΡ Π°Π²ΡΠΎΠΌΠ°ΡΠΈΠ·ΠΈΡΡΠ΅ΡΡΡ ΠΈΠ»ΠΈ ΠΌΠ΅Ρ
Π°Π½ΠΈΠ·ΠΈΡΡΠ΅ΡΡΡ.
Π’Π΅Ρ Π½ΠΎΠ»ΠΎΠ³ΠΈΡ Π΄ΠΎΠ²ΠΎΠ»ΡΠ½ΠΎ ΠΏΡΠΎΡΡΠ°Ρ. ΠΠ°Π³ΠΎΡΠΎΠ²ΠΊΠ° ΡΠΈΠΊΡΠΈΡΡΠ΅ΡΡΡ Π½Π° ΡΡΠ°Π½ΠΊΠ΅, ΠΈ ΠΌΠ°ΡΡΠ΅Ρ ΠΏΡΠΎΠ²ΠΎΠ΄ΠΈΡ ΡΠ°Π·ΠΌΠ΅ΡΠΊΡ. ΠΡΠ΅ ΠΎΠΏΠ΅ΡΠ°ΡΠΈΠΈ, ΠΊΠΎΡΠΎΡΡΠ΅ ΡΡΠ΅Π±ΡΡΡ ΠΏΡΠΈΠ»ΠΎΠΆΠ΅Π½ΠΈΡ ΡΠΈΠ»Ρ, Π²ΡΠΏΠΎΠ»Π½ΡΡΡΡΡ ΡΡΠ°Π½ΠΊΠΎΠΌ. ΠΡ ΡΠΎΠ³ΠΎ, ΠΊΠ°ΠΊΠΎΠ΅ ΠΈΠΌΠ΅Π½Π½ΠΎ ΠΎΠ±ΠΎΡΡΠ΄ΠΎΠ²Π°Π½ΠΈΠ΅ ΠΈΡΠΏΠΎΠ»ΡΠ·ΡΠ΅ΡΡΡ Π½Π° ΠΏΡΠΎΠΈΠ·Π²ΠΎΠ΄ΡΡΠ²Π΅, Π·Π°Π²ΠΈΡΠΈΡ ΠΏΡΠΎΡΠ΅ΡΡ ΡΡΠ±ΠΊΠΈ. ΠΠ½ ΠΌΠΎΠΆΠ΅Ρ Π±ΡΡΡ Π°Π²ΡΠΎΠΌΠ°ΡΠΈΡΠ΅ΡΠΊΠΈΠΌ ΠΈΠ»ΠΈ ΠΏΠΎΠ»ΡΠ°Π²ΡΠΎΠΌΠ°ΡΠΈΡΠ΅ΡΠΊΠΈΠΌ. ΠΠ΅ΡΠ²ΡΠΉ Π²Π°ΡΠΈΠ°Π½Ρ ΠΏΡΠ΅Π΄ΠΏΠΎΠ»Π°Π³Π°Π΅Ρ ΡΠ°ΠΌΠΎΡΡΠΎΡΡΠ΅Π»ΡΠ½ΡΠΉ Π²ΡΠ±ΠΎΡ Π±ΠΎΠ»ΡΡΠΈΠ½ΡΡΠ²Π° ΠΏΠ°ΡΠ°ΠΌΠ΅ΡΡΠΎΠ² ΠΎΠ±ΡΠ°Π±ΠΎΡΠΊΠΈ ΡΡΠ°Π½ΠΊΠΎΠΌ.
ΠΠ»Π°Π²Π½ΡΠ΅ ΠΏΡΠ΅ΠΈΠΌΡΡΠ΅ΡΡΠ²Π° ΡΡΠΎΠ³ΠΎ ΡΠΏΠΎΡΠΎΠ±Π° ΡΡΠ±ΠΊΠΈ ΠΌΠ΅ΡΠ°Π»Π»Π° β ΠΌΠ°ΠΊΡΠΈΠΌΠ°Π»ΡΠ½ΠΎ ΡΠΎΡΠ½ΡΠΉ ΡΠ΅Π·ΡΠ»ΡΡΠ°Ρ ΠΈ Π²ΡΡΠΎΠΊΠΈΠ΅ ΠΏΠΎΠΊΠ°Π·Π°ΡΠ΅Π»ΠΈ ΠΏΡΠΎΠΈΠ·Π²ΠΎΠ΄ΠΈΡΠ΅Π»ΡΠ½ΠΎΡΡΠΈ. Π ΠΊΠ°ΡΠ΅ΡΡΠ²Π΅ Π½Π΅Π΄ΠΎΡΡΠ°ΡΠΊΠ° ΠΌΠΎΠΆΠ½ΠΎ Π²ΡΠ΄Π΅Π»ΠΈΡΡ ΡΠΎΠ»ΡΠΊΠΎ Π²Π½ΡΡΠΈΡΠ΅Π»ΡΠ½ΡΠ΅ ΡΠ°ΡΡ ΠΎΠ΄Ρ Π½Π° ΡΠΏΠ΅ΡΠΈΠ°Π»ΠΈΠ·ΠΈΡΠΎΠ²Π°Π½Π½ΠΎΠ΅ ΠΎΠ±ΠΎΡΡΠ΄ΠΎΠ²Π°Π½ΠΈΠ΅. Π’ΠΎΠ»ΡΠΊΠΎ Ρ Π±ΠΎΠ»ΡΡΠΈΡ ΠΊΠΎΠΌΠΏΠ°Π½ΠΈΠΉ Π΄ΠΎΡΡΠ°ΡΠΎΡΠ½ΠΎ ΡΡΠ΅Π΄ΡΡΠ² Π½Π° ΠΈΡ ΠΏΡΠΈΠΎΠ±ΡΠ΅ΡΠ΅Π½ΠΈΠ΅ ΠΈ ΠΎΠ±ΡΠ»ΡΠΆΠΈΠ²Π°Π½ΠΈΠ΅.
ΠΠ»Π°Π²Π½ΡΠΉ ΠΌΠ΅Ρ
Π°Π½ΠΈΡΠ΅ΡΠΊΠΈΠΉ ΡΠΏΠΎΡΠΎΠ± ΡΡΠ±ΠΊΠΈ ΠΌΠ΅ΡΠ°Π»Π»ΠΈΡΠ΅ΡΠΊΠΈΡ
Π·Π°Π³ΠΎΡΠΎΠ²ΠΎΠΊ β Π³ΠΈΠ»ΡΠΎΡΠΈΠ½Π½ΡΠΉ, ΠΏΡΠΈ ΠΊΠΎΡΠΎΡΠΎΠΌ ΠΈΡΠΏΠΎΠ»ΡΠ·ΡΠ΅ΡΡΡ ΠΎΠ΄Π½ΠΎΠΈΠΌΠ΅Π½Π½ΡΠΉ ΡΡΠ°Π½ΠΎΠΊ. Π‘Π΅Π³ΠΎΠ΄Π½Ρ ΠΎΠ±ΠΎΡΡΠ΄ΠΎΠ²Π°Π½ΠΈΠ΅ ΡΠΎΠ»ΡΠΊΠΎ ΠΎΡΠ΅Π½Ρ ΠΎΡΠ΄Π°Π»Π΅Π½Π½ΠΎ Π½Π°ΠΏΠΎΠΌΠΈΠ½Π°Π΅Ρ ΠΎΡΡΠ΄ΠΈΠ΅ ΠΊΠ°Π·Π½ΠΈ, ΠΊΠΎΡΠΎΡΠΎΠ΅ ΠΈΡΠΏΠΎΠ»ΡΠ·ΠΎΠ²Π°Π»ΠΈ ΡΡΠΎΠ»Π΅ΡΠΈΠ΅ Π½Π°Π·Π°Π΄.
Π‘ΠΎΠ²ΠΏΠ°Π΄Π°Π΅Ρ ΡΠΎΠ»ΡΠΊΠΎ ΠΏΡΠΈΠ½ΡΠΈΠΏ, Π»Π΅ΠΆΠ°ΡΠΈΠΉ Π² ΠΎΡΠ½ΠΎΠ²Π΅ Π΅Π³ΠΎ Π΄Π΅ΠΉΡΡΠ²ΠΈΡ. Π£ ΡΡΠ°Π½ΠΊΠ° Π΄Π»Ρ Π³ΠΈΠ»ΡΠΎΡΠΈΠ½Π½ΠΎΠΉ ΡΡΠ±ΠΊΠΈ Π΅ΡΡΡ Π»Π΅Π·Π²ΠΈΠ΅ Ρ ΠΊΠΎΡΡΠΌ ΡΡΠ΅Π·ΠΎΠΌ, Π΄Π²ΠΈΠ³Π°ΡΡΠ΅Π΅ΡΡ Π² ΠΎΠ΄Π½ΠΎΠΉ ΠΏΠ»ΠΎΡΠΊΠΎΡΡΠΈ, Π½Π΅ ΠΌΠ΅Π½ΡΡ ΡΠ³ΠΎΠ» Π½Π°ΠΊΠ»ΠΎΠ½Π°. ΠΡΠΎ Π΄ΠΎΠ²ΠΎΠ»ΡΠ½ΠΎ ΡΡΠ°ΡΠ°Ρ ΡΠ΅Ρ
Π½ΠΈΠΊΠ°, ΠΊΠΎΡΠΎΡΠ°Ρ Π²ΠΏΠ΅ΡΠ²ΡΠ΅ ΠΏΠΎΡΠ²ΠΈΠ»Π°ΡΡ ΠΏΡΠΈΠΌΠ΅ΡΠ½ΠΎ Π² ΡΠΎ ΠΆΠ΅ Π²ΡΠ΅ΠΌΡ, ΡΡΠΎ ΠΈ ΡΠ°ΠΌΠ° Π³ΠΈΠ»ΡΠΎΡΠΈΠ½Π°, ΠΊΠΎΡΠΎΡΠ°Ρ Π΄Π°Π»Π° Π΅ΠΉ Π½Π°Π·Π²Π°Π½ΠΈΠ΅. ΠΠΎ ΡΠ΅Π³ΠΎΠ΄Π½Ρ ΠΎΠ±ΠΎΡΡΠ΄ΠΎΠ²Π°Π½ΠΈΠ΅ Π³ΠΎΡΠ°Π·Π΄ΠΎ Π±ΠΎΠ»Π΅Π΅ ΡΠΎΠ²Π΅ΡΡΠ΅Π½Π½ΠΎΠ΅ ΠΈ ΡΠΏΠΎΡΠΎΠ±Π½ΠΎ ΡΠ°Π±ΠΎΡΠ°ΡΡ Π°Π²ΡΠΎΠΌΠ°ΡΠΈΡΠ΅ΡΠΊΠΈ ΠΈΠ»ΠΈ ΠΈ Π² ΡΠ΅ΠΆΠΈΠΌΠ΅ ΠΏΠΎΠ»ΡΠ°Π²ΡΠΎΠΌΠ°ΡΠ°.
Π§ΡΠΎ ΠΆΠ΅ Π΄Π΅Π»Π°Π΅Ρ ΡΡΡ ΡΡΠ°ΡΠΈΠ½Π½ΡΡ ΡΠ΅Ρ Π½ΠΎΠ»ΠΎΠ³ΠΈΡ, ΠΊΠΎΡΠΎΡΠ°Ρ ΠΈΡΠΏΠΎΠ»ΡΠ·ΡΠ΅ΡΡΡ ΡΠΆΠ΅ Π½Π΅ΡΠΊΠΎΠ»ΡΠΊΠΎ ΡΡΠΎΠ»Π΅ΡΠΈΠΉ, Π²ΠΎΡΡΡΠ΅Π±ΠΎΠ²Π°Π½Π½ΠΎΠΉ ΠΈ ΡΠ΅Π³ΠΎΠ΄Π½Ρ, ΠΏΡΠΈΡΠ΅ΠΌ Π² ΡΠ°Π·Π½ΠΎΠΎΠ±ΡΠ°Π·Π½ΡΡ ΠΏΡΠΎΠΌΡΡΠ»Π΅Π½Π½ΡΡ ΠΎΡΡΠ°ΡΠ»ΡΡ ? ΠΠ΅ ΠΏΠΎΠΏΡΠ»ΡΡΠ½ΠΎΡΡΡ ΠΎΠ±ΡΡΡΠ½ΡΠ΅ΡΡΡ ΡΠ΅ΠΌ, ΡΡΠΎ Ρ ΡΡΠ±ΠΊΠΈ ΠΌΠ΅ΡΠ°Π»Π»Π° Π³ΠΈΠ»ΡΠΎΡΠΈΠ½Π½ΡΠΌ ΠΌΠ΅ΡΠΎΠ΄ΠΎΠΌ Π΅ΡΡΡ Π½Π΅ΠΊΠΎΡΠΎΡΡΠ΅ ΡΡΡΠ΅ΡΡΠ²Π΅Π½Π½ΡΠ΅ ΠΏΡΠ΅ΠΈΠΌΡΡΠ΅ΡΡΠ²Π°. ΠΡΠΈΡΠ΅ΠΌ ΠΏΡΠΈΠΌΠ΅Π½Π΅Π½ΠΈΠ΅ ΠΈΠ½Π½ΠΎΠ²Π°ΡΠΈΠΎΠ½Π½ΡΡ ΡΠ΅Ρ Π½ΠΎΠ»ΠΎΠ³ΠΈΠΉ Π΄Π΅Π»Π°Π΅Ρ ΠΈΡ Π΅ΡΠ΅ Π·Π°ΠΌΠ΅ΡΠ½Π΅Π΅. ΠΡΠΎ, Π² ΠΏΠ΅ΡΠ²ΡΡ ΠΎΡΠ΅ΡΠ΅Π΄Ρ, ΠΏΡΠΎΡΡΠΎΡΠ° ΠΏΡΠΎΠ²Π΅Π΄Π΅Π½ΠΈΡ ΡΠ°Π±ΠΎΡ ΠΈ Π²ΡΡΠΎΠΊΠΈΠΉ ΡΡΠΎΠ²Π΅Π½Ρ ΠΈΡ ΠΊΠ°ΡΠ΅ΡΡΠ²Π°.
ΠΠΈΠ»ΡΠΎΡΠΈΠ½Π½ΡΠΉ ΡΡΠ°Π½ΠΎΠΊ ΡΠΎΡΡΠΎΠΈΡ ΠΈΠ· ΡΠ°ΠΊΠΈΡ ΠΊΠΎΠΌΠΏΠ»Π΅ΠΊΡΡΡΡΠΈΡ :
-
ΡΡΠΎΠ», Π½Π° ΠΊΠΎΡΠΎΡΠΎΠΌ ΡΠ°Π·ΠΌΠ΅ΡΠ°ΡΡΡΡ ΠΌΠ΅ΡΠ°Π»Π»ΠΈΡΠ΅ΡΠΊΠΈΠ΅ Π·Π°Π³ΠΎΡΠΎΠ²ΠΊΠΈ. Π Π·Π°Π²ΠΈΡΠΈΠΌΠΎΡΡΠΈ ΠΎΡ ΡΠΎΠ³ΠΎ, ΠΊΠ°ΠΊΠΎΠΉ ΠΈΠΌΠ΅Π½Π½ΠΎ ΡΡΠ°Π½ΠΎΠΊ Π²ΡΠ±ΡΠ°Π½, ΠΎΠ½ ΠΌΠΎΠΆΠ΅Ρ Π±ΡΡΡ ΡΡΠ°ΡΠΈΠΎΠ½Π°ΡΠ½ΡΠΌ ΠΈΠ»ΠΈ Ρ ΠΏΠΎΠ΄Π²ΠΈΠΆΠ½ΡΠΌΠΈ ΡΠ°ΡΡΡΠΌΠΈ;
-
ΠΏΠΎΠ΄Π²ΠΈΠΆΠ½Π°Ρ Π±Π°Π»ΠΊΠ°.
Π Π°Π·ΠΌΠ΅ΡΠ°Π΅ΡΡΡ Π² Π²Π΅ΡΡ
Π½Π΅ΠΉ ΡΠ°ΡΡΠΈ ΡΡΠ°Π½ΠΊΠ° ΠΈ ΠΎΡΠ½Π°ΡΠ΅Π½Π° Π»Π΅Π·Π²ΠΈΠ΅ΠΌ. Π‘ Π΅Π΅ ΠΏΠΎΠΌΠΎΡΡΡ Π½Π΅ΠΏΠΎΡΡΠ΅Π΄ΡΡΠ²Π΅Π½Π½ΠΎ ΠΎΡΡΡΠ΅ΡΡΠ²Π»ΡΠ΅ΡΡΡ ΡΡΠ±ΠΊΠ° ΠΌΠ΅ΡΠ°Π»Π»Π°; -
Π½ΠΈΠΆΠ½Π΅Π΅ (ΠΊΠ°ΠΊ ΠΏΡΠ°Π²ΠΈΠ»ΠΎ, ΡΡΠ°ΡΠΈΠΎΠ½Π°ΡΠ½ΠΎΠ΅) Π»Π΅Π·Π²ΠΈΠ΅. ΠΠ½ΠΎ Π΄Π΅Π»Π°Π΅Ρ ΡΠ΅Π·ΠΊΡ Π±ΠΎΠ»Π΅Π΅ ΡΠΎΡΠ½ΠΎΠΉ ΠΈ ΠΊΠ°ΡΠ΅ΡΡΠ²Π΅Π½Π½ΠΎΠΉ. ΠΡΠΎΠΌΠ΅ ΡΠΎΠ³ΠΎ, Ρ Π΅Π³ΠΎ ΠΏΠΎΠΌΠΎΡΡΡ ΠΌΠΎΠΆΠ½ΠΎ ΡΠ°ΡΠΊΡΠ°ΠΈΠ²Π°ΡΡ ΠΌΠ°ΡΠ΅ΡΠΈΠ°Π». ΠΠΎ Π½Π΅ Π²ΡΠ΅ ΡΡΠ°Π½ΠΊΠΈ ΠΎΡΠ½Π°ΡΠ΅Π½Ρ ΡΠ°ΠΊΠΎΠΉ Π΄Π΅ΡΠ°Π»ΡΡ;
-
ΡΠΏΠΎΡ-ΡΠΈΠΊΡΠ°ΡΠΎΡ, ΠΏΠΎΠ·Π²ΠΎΠ»ΡΡΡΠΈΠΉ Ρ ΠΎΡΠΎΡΠΎ Π·Π°ΠΊΡΠ΅ΠΏΠΈΡΡ ΠΌΠ΅ΡΠ°Π»Π»ΠΈΡΠ΅ΡΠΊΡΡ Π·Π°Π³ΠΎΡΠΎΠ²ΠΊΡ ΠΈ ΡΠ΄Π΅Π»Π°ΡΡ Π΅Π΅ ΠΎΠ±ΡΠ°Π±ΠΎΡΠΊΡ ΠΌΠ°ΠΊΡΠΈΠΌΠ°Π»ΡΠ½ΠΎ Π±Π΅Π·ΠΎΠΏΠ°ΡΠ½ΠΎΠΉ;
-
Π·Π°ΠΆΠΈΠΌΡ ΠΈ ΠΏΡΠ΅ΡΡΡ. Π‘ ΠΈΡ ΠΏΠΎΠΌΠΎΡΡΡ ΠΈΠ·Π΄Π΅Π»ΠΈΡ ΡΠ°Π·Π½ΡΡ ΡΠΈΠΏΠΎΠ² ΡΠΈΠΊΡΠΈΡΡΡΡΡΡ Π² Π½Π΅ΠΎΠ±Ρ ΠΎΠ΄ΠΈΠΌΠΎΠΌ ΠΏΠΎΠ»ΠΎΠΆΠ΅Π½ΠΈΠΈ.
Π‘Π»Π΅Π΄ΡΠ΅Ρ ΡΡΠΈΡΡΠ²Π°ΡΡ, ΡΡΠΎ ΡΠΎΠ²ΡΠ΅ΠΌΠ΅Π½Π½ΡΠΉ ΡΡΠ½ΠΎΠΊ ΠΏΡΠ΅Π΄Π»Π°Π³Π°Π΅Ρ ΡΡΠ°Π½ΠΊΠΈ Ρ ΡΠ°Π·Π½ΠΎΠΎΠ±ΡΠ°Π·Π½ΡΠΌΠΈ ΠΏΡΠΈΠ²ΠΎΠ΄Π°ΠΌΠΈ: ΠΏΠ½Π΅Π²ΠΌΠ°ΡΠΈΡΠ΅ΡΠΊΠΈΠΌ, Π³ΠΈΠ΄ΡΠ°Π²Π»ΠΈΡΠ΅ΡΠΊΠΈΠΌ, ΡΡΡΠ½ΡΠΌ ΠΈ Ρ.Π΄.
Π Π°Π±ΠΎΡΠ°ΡΡ Π½Π° Π½ΠΈΡ ΡΠΎΠ²ΡΠ΅ΠΌ Π½Π΅ΡΠ»ΠΎΠΆΠ½ΠΎ.
-
ΠΡΠΆΠ½ΠΎ ΡΠ°Π·ΠΌΠ΅ΡΠΈΡΡ Π·Π°Π³ΠΎΡΠΎΠ²ΠΊΡ Π½Π° ΡΡΠΎΠ»Π΅ ΠΈ Π·Π°ΡΠΈΠΊΡΠΈΡΠΎΠ²Π°ΡΡ Π² Π½ΡΠΆΠ½ΠΎΠΌ ΠΏΠΎΠ»ΠΎΠΆΠ΅Π½ΠΈΠΈ.
-
ΠΠ°Π»ΡΡΠ΅ Π½Π° ΠΌΠ΅ΡΠ°Π»Π»ΠΈΡΠ΅ΡΠΊΠΎΠ΅ ΠΈΠ·Π΄Π΅Π»ΠΈΠ΅ Π²ΠΎΠ·Π΄Π΅ΠΉΡΡΠ²ΡΠ΅Ρ Π»Π΅Π·Π²ΠΈΠ΅ (ΠΈΠ»ΠΈ Π΄Π²Π°, Π΅ΡΠ»ΠΈ ΡΡΠΎ ΠΏΡΠ΅Π΄ΡΡΠΌΠΎΡΡΠ΅Π½ΠΎ ΠΊΠΎΠ½ΡΡΡΡΠΊΡΠΈΠ΅ΠΉ ΡΡΠ°Π½ΠΊΠ°).

-
ΠΡΠ»ΠΈ ΠΎΠ±ΠΎΡΡΠ΄ΠΎΠ²Π°Π½ΠΈΠ΅ ΠΈΡΠΏΡΠ°Π²Π½ΠΎ, Π² ΠΏΡΠΎΡΠ΅ΡΡΠ΅ Π΅Π³ΠΎ ΠΈΡΠΏΠΎΠ»ΡΠ·ΠΎΠ²Π°Π½ΠΈΡ Π»ΠΎΠΌ ΠΎΠ±ΡΠ°Π·ΡΠ΅ΡΡΡ Π² Π½Π΅Π±ΠΎΠ»ΡΡΠΎΠΌ ΠΊΠΎΠ»ΠΈΡΠ΅ΡΡΠ²Π΅. ΠΡΠ°ΠΌΠΎΡΠ½Π°Ρ ΡΠ°Π±ΠΎΡΠ° Π½Π° ΡΡΠ°Π½ΠΊΠ΅ ΠΏΠΎΠ·Π²ΠΎΠ»ΡΡ ΠΈΠ·Π±Π΅ΠΆΠ°ΡΡ Π΄ΠΎΠΏΠΎΠ»Π½ΠΈΡΠ΅Π»ΡΠ½ΠΎΠΉ ΠΎΠ±ΡΠ°Π±ΠΎΡΠΊΠΈ ΠΊΡΠΎΠΌΠΊΠΈ. Π ΡΡΠΎ, Π² ΡΠ²ΠΎΡ ΠΎΡΠ΅ΡΠ΅Π΄Ρ, Π΄Π΅Π»Π°Π΅Ρ ΠΏΡΠΎΠΈΠ·Π²ΠΎΠ΄ΡΡΠ²Π΅Π½Π½ΡΠΉ ΠΏΡΠΎΡΠ΅ΡΡ Π±ΠΎΠ»Π΅Π΅ Π΄Π΅ΡΠ΅Π²ΡΠΌ ΠΈ ΡΡΠΊΠΎΡΡΠ΅Ρ Π΅Π³ΠΎ.
ΠΡΡΡ ΠΈ Π΄ΡΡΠ³ΠΈΠ΅ ΡΠ°Π·Π½ΠΎΠ²ΠΈΠ΄Π½ΠΎΡΡΠΈ ΡΡΠ°Π½ΠΊΠΎΠ², ΠΈΡΠΏΠΎΠ»ΡΠ·ΡΠ΅ΠΌΡΡ Π΄Π»Ρ ΡΡΠ±ΠΊΠΈ ΠΌΠ΅ΡΠ°Π»Π»ΠΈΡΠ΅ΡΠΊΠΈΡ ΠΈΠ·Π΄Π΅Π»ΠΈΠΉ. ΠΠΎ ΠΎΠ½ΠΈ Π½Π΅ ΡΠ°ΠΊ ΠΏΠΎΠΏΡΠ»ΡΡΠ½Ρ. ΠΡΠΎ ΠΏΡΠ΅ΡΡΡ-Π½ΠΎΠΆΠ½ΠΈΡΡ, ΠΏΡΠ΅ΡΡΡ ΠΈ ΡΠ³Π»ΠΎΠ²ΡΡΠ΅ΡΠ½ΡΠ΅ ΡΡΠ°Π½ΠΊΠΈ.
Π’Π΅Ρ Π½ΠΈΠΊΠ° Π±Π΅Π·ΠΎΠΏΠ°ΡΠ½ΠΎΡΡΠΈ ΠΏΡΠΈ ΡΡΠ±ΠΊΠ΅ ΠΌΠ΅ΡΠ°Π»Π»Π°
ΠΡΠΎΡ Π²ΠΈΠ΄ ΡΠ»Π΅ΡΠ°ΡΠ½ΡΡ ΡΠ°Π±ΠΎΡ ΠΎΡΠ»ΠΈΡΠ°Π΅ΡΡΡ ΡΠ΅Ρ Π½ΠΎΠ»ΠΎΠ³ΠΈΡΠ΅ΡΠΊΠΎΠΉ ΡΠ»ΠΎΠΆΠ½ΠΎΡΡΡΡ, ΠΏΡΠ΅Π΄ΠΏΠΎΠ»Π°Π³Π°Π΅Ρ ΠΈΡΠΏΠΎΠ»ΡΠ·ΠΎΠ²Π°Π½ΠΈΠ΅ ΡΠΏΠ΅ΡΠΈΠ°Π»ΠΈΠ·ΠΈΡΠΎΠ²Π°Π½Π½ΠΎΠ³ΠΎ ΠΎΠ±ΠΎΡΡΠ΄ΠΎΠ²Π°Π½ΠΈΡ ΠΈ ΡΠ²ΡΠ·Π°Π½ Ρ Π½Π΅ΠΎΠ±Ρ ΠΎΠ΄ΠΈΠΌΠΎΡΡΡΡ ΡΠ»Π΅Π΄ΠΎΠ²Π°ΡΡ Π½ΠΎΡΠΌΠ°ΠΌ ΠΎΠ±Π΅ΡΠΏΠ΅ΡΠ΅Π½ΠΈΡ Π±Π΅Π·ΠΎΠΏΠ°ΡΠ½ΠΎΡΡΠΈ ΠΏΠ΅ΡΡΠΎΠ½Π°Π»Π°. ΠΠ΅ΡΠ΅ΡΠΈΡΠ»ΠΈΠΌ ΠΎΡΠ½ΠΎΠ²Π½ΡΠ΅ ΠΈΠ· Π½ΠΈΡ .
-
ΠΡΠ΅ΠΆΠ΄Π΅ Π²ΡΠ΅Π³ΠΎ, Π±Π΅Π·ΡΡΠ»ΠΎΠ²Π½ΠΎ, Π½Π΅ΠΎΠ±Ρ ΠΎΠ΄ΠΈΠΌΠΎ ΡΠ±Π΅Π΄ΠΈΡΡΡΡ Π² ΡΠΎΠΌ, ΡΡΠΎ ΠΈΠ½ΡΡΡΡΠΌΠ΅Π½ΡΡ, ΠΊΠΎΡΠΎΡΡΠ΅ Π±ΡΠ΄ΡΡ ΠΈΡΠΏΠΎΠ»ΡΠ·ΠΎΠ²Π°ΡΡΡΡ Π΄Π»Ρ ΡΡΠ±ΠΊΠΈ, ΠΈΡΠΏΡΠ°Π²Π½Ρ. ΠΡΠΎ ΠΏΠΎΠ΄ΡΠ²Π΅ΡΠΆΠ΄Π°Π΅ΡΡΡ ΠΎΡΡΡΡΡΡΠ²ΠΈΠ΅ΠΌ Π·Π°ΡΡΠ΅Π½ΡΠ΅Π², ΡΡΠ΅ΡΠΈΠ½ ΠΈ Π΄ΡΡΠ³ΠΈΡ ΠΏΠΎΠ²ΡΠ΅ΠΆΠ΄Π΅Π½ΠΈΠΉ ΠΌΠ΅Ρ Π°Π½ΠΈΡΠ΅ΡΠΊΠΎΠ³ΠΎ ΠΏΡΠΎΠΈΡΡ ΠΎΠΆΠ΄Π΅Π½ΠΈΡ.
ΠΡΠΈ ΠΈΡ
Π½Π°Π»ΠΈΡΠΈΠΈ ΡΠ΅Π·ΡΠ»ΡΡΠ°Ρ ΠΌΠΎΠΆΠ΅Ρ Π±ΡΡΡ ΠΌΠ΅Π½Π΅Π΅ ΠΊΠ°ΡΠ΅ΡΡΠ²Π΅Π½Π½ΡΠΌ, Π° ΡΠ΄Π°Ρ Π½Π΅Π΄ΠΎΡΡΠ°ΡΠΎΡΠ½ΠΎ ΡΠΎΡΠ½ΡΠΌ. ΠΡΠΎΠΌΠ΅ ΡΠΎΠ³ΠΎ, ΠΏΠΎΠ²ΡΡΠ°Π΅ΡΡΡ ΡΠΈΡΠΊ ΡΡΠ°Π²ΠΌΠΈΡΠΎΠ²Π°Π½ΠΈΡ ΡΠ°Π±ΠΎΡΠ½ΠΈΠΊΠ°. ΠΠ΅ΠΎΠ±Ρ
ΠΎΠ΄ΠΈΠΌΠΎ ΠΏΡΠΎΠΊΠΎΠ½ΡΡΠΎΠ»ΠΈΡΠΎΠ²Π°ΡΡ, ΡΡΠΎΠ±Ρ ΠΏΠ°ΡΠ°ΠΌΠ΅ΡΡΡ ΡΠ°Π±ΠΎΡΡ ΠΎΠ±ΠΎΡΡΠ΄ΠΎΠ²Π°Π½ΠΈΡ Π½Π΅ Π²ΡΡ
ΠΎΠ΄ΠΈΠ»ΠΈ Π·Π° ΠΏΡΠ΅Π΄Π΅Π»Ρ Π½ΠΎΡΠΌΠ°ΡΠΈΠ²Π½ΡΡ
, ΠΈ ΠΏΡΠΎΠ²Π΅ΡΡΠΈ ΠΈΡ
Π½Π°ΡΡΡΠΎΠΉΠΊΡ Ρ ΡΡΠ΅ΡΠΎΠΌ ΡΠ²ΠΎΠΉΡΡΠ² ΠΌΠ°ΡΠ΅ΡΠΈΠ°Π»Π°, ΠΊΠΎΡΠΎΡΡΠΉ Π±ΡΠ΄Π΅Ρ ΠΎΠ±ΡΠ°Π±Π°ΡΡΠ²Π°ΡΡΡΡ. Π’ΠΎΠ»ΡΠΊΠΎ ΠΏΠΎΡΠ»Π΅ Π²ΡΠΏΠΎΠ»Π½Π΅Π½ΠΈΡ ΡΡΠΈΡ
ΡΡΠ΅Π±ΠΎΠ²Π°Π½ΠΈΠΉ ΠΌΠΎΠΆΠ½ΠΎ Π½Π°ΡΠΈΠ½Π°ΡΡ ΡΡΠ±ΠΊΡ. Π ΡΠ»ΡΡΠ°Π΅ ΠΈΡΠΏΠΎΠ»ΡΠ·ΠΎΠ²Π°Π½ΠΈΡ Π³ΠΈΠ»ΡΠΎΡΠΈΠ½Ρ ΡΠ»Π΅Π΄ΡΠ΅Ρ ΠΏΡΠΈΠ΄Π΅ΡΠΆΠΈΠ²Π°ΡΡΡΡ ΡΠΎΠ΄Π΅ΡΠΆΠ°ΡΠΈΡ
ΡΡ Π² ΡΠ΅Ρ
Π½ΠΈΡΠ΅ΡΠΊΠΎΠΉ Π΄ΠΎΠΊΡΠΌΠ΅Π½ΡΠ°ΡΠΈΠΈ ΠΏΡΠ°Π²ΠΈΠ». -
ΠΡΠΏΠΎΠ»ΡΠ·ΠΎΠ²Π°ΡΡ Π² ΠΏΡΠΎΡΠ΅ΡΡΠ΅ ΡΠ°Π±ΠΎΡΡ Π·Π°ΡΠΈΡΠ½ΡΠ΅ ΠΎΡΠΊΠΈ, ΠΊΠΎΡΠΎΡΡΠ΅ ΠΎΠ±Π΅Π·ΠΎΠΏΠ°ΡΡΡ Π³Π»Π°Π·Π° ΡΠ°Π±ΠΎΡΠ½ΠΈΠΊΠ°. Π ΡΠΎ ΠΌΠ΅ΡΡΠΎ, Π³Π΄Π΅ ΠΏΡΠΎΠ²ΠΎΠ΄ΠΈΡΡΡ ΡΡΠ±ΠΊΠ°, Π½ΡΠΆΠ½ΠΎ ΠΎΠ³ΡΠ°Π΄ΠΈΡΡ ΡΠΈΡΠΊΠ°ΠΌΠΈ ΠΈΠ»ΠΈ ΡΠΊΡΠ°Π½Π°ΠΌΠΈ, ΡΡΠΎΠ±Ρ ΠΎΡΡΡΠ±Π»Π΅Π½Π½Π°Ρ ΡΠ°ΡΡΡ ΠΈΠ·Π΄Π΅Π»ΠΈΡ Π½Π΅ ΡΠΏΠ°Π»Π° ΠΈ Π½Π΅ Π½Π°Π²ΡΠ΅Π΄ΠΈΠ»Π° ΡΠ°Π±ΠΎΡΠ½ΠΈΠΊΡ.
-
ΠΡΠΈ ΠΈΡΠΏΠΎΠ»ΡΠ·ΠΎΠ²Π°Π½ΠΈΠΈ ΠΏΠ½Π΅Π²ΠΌΠ°ΡΠΈΡΠ΅ΡΠΊΠΎΠ³ΠΎ Π·ΡΠ±ΠΈΠ»Π° Π½Π΅ΠΎΠ±Ρ ΠΎΠ΄ΠΈΠΌΠΎ ΠΏΡΠ΅Π΄Π²Π°ΡΠΈΡΠ΅Π»ΡΠ½ΠΎ ΡΠΏΠ΅ΡΠ΅ΡΡ Π΅Π³ΠΎ Π² ΠΎΠ±ΡΠ°Π±Π°ΡΡΠ²Π°Π΅ΠΌΡΡ Π·Π°Π³ΠΎΡΠΎΠ²ΠΊΡ ΠΈ ΡΠΎΠ»ΡΠΊΠΎ ΠΏΠΎΡΠ»Π΅ ΡΡΠΎΠ³ΠΎ ΠΌΠΎΠΆΠ½ΠΎ Π²ΠΊΠ»ΡΡΠΈΡΡ ΠΈΠ½ΡΡΡΡΠΌΠ΅Π½Ρ.
-
ΠΡΠΆΠ½ΠΎ ΠΏΠΎΠ·Π°Π±ΠΎΡΠΈΡΡΡΡ ΠΎ Π½Π°Π΄Π΅ΠΆΠ½ΠΎΠΌ Π·Π°ΠΊΡΠ΅ΠΏΠ»Π΅Π½ΠΈΠΈ ΠΈΠ·Π΄Π΅Π»ΠΈΡ Π² ΡΠΈΡΠΊΠ°Ρ , Π½Π° ΠΏΠ»ΠΈΡΠ΅ ΠΈΠ»ΠΈ Π΄ΡΡΠ³ΠΈΠΌ ΡΠΏΠΎΡΠΎΠ±ΠΎΠΌ Π² Π·Π°Π²ΠΈΡΠΈΠΌΠΎΡΡΠΈ ΠΎΡ ΡΠΎΠ³ΠΎ, ΠΊΠ°ΠΊΠ°Ρ ΡΠ΅Ρ Π½ΠΎΠ»ΠΎΠ³ΠΈΡ ΠΈ ΠΈΠ½ΡΡΡΡΠΌΠ΅Π½ΡΡ ΠΈΡΠΏΠΎΠ»ΡΠ·ΡΡΡΡΡ.

-
ΠΠ½ΡΡΡΡΠΌΠ΅Π½Ρ, ΠΈΡΠΏΠΎΠ»ΡΠ·ΡΠ΅ΠΌΡΠΉ Π΄Π»Ρ ΡΠ°Π±ΠΎΡΡ Ρ ΠΌΠ΅ΡΠ°Π»Π»ΠΈΡΠ΅ΡΠΊΠΈΠΌΠΈ Π·Π°Π³ΠΎΡΠΎΠ²ΠΊΠ°ΠΌΠΈ (Π΅ΡΠ»ΠΈ ΡΠ»Π΅ΡΠ°ΡΡ ΡΠ°Π±ΠΎΡΠ°Π΅Ρ Π²ΡΡΡΠ½ΡΡ), Π΄ΠΎΠ»ΠΆΠ΅Π½ Π·Π°ΡΠ°ΡΠΈΠ²Π°ΡΡΡΡ Ρ ΡΠΎΠ±Π»ΡΠ΄Π΅Π½ΠΈΠ΅ΠΌ ΡΠ΅Ρ Π½ΠΈΠΊΠΈ Π±Π΅Π·ΠΎΠΏΠ°ΡΠ½ΠΎΡΡΠΈ, ΡΠΎ Π΅ΡΡΡ Π½ΡΠΆΠ½ΠΎ Π½Π°Ρ ΠΎΠ΄ΠΈΡΡΡΡ Π½Π° Π΄ΠΎΡΡΠ°ΡΠΎΡΠ½ΠΎΠΌ ΡΠ°ΡΡΡΠΎΡΠ½ΠΈΠΈ ΠΈ ΠΎΠΏΡΡΡΠΈΡΡ Π·Π°ΡΠΈΡΠ½ΡΠΉ ΡΠΊΡΠ°Π½.
-
ΠΠΎΡΠ»Π΅ Π·Π°Π²Π΅ΡΡΠ΅Π½ΠΈΡ ΠΎΠ±ΡΠ°Π±ΠΎΡΠΊΠΈ ΡΠ»Π΅Π΄ΡΠ΅Ρ ΠΏΡΠΎΠ²Π΅ΡΡΠΈ ΠΏΠΎΠ²ΡΠΎΡΠ½ΡΡ ΠΏΡΠΎΠ²Π΅ΡΠΊΡ ΠΈΠ½ΡΡΡΡΠΌΠ΅Π½ΡΠΎΠ² Π½Π° ΠΏΡΠ΅Π΄ΠΌΠ΅Ρ ΠΈΡ ΠΈΡΠΏΡΠ°Π²Π½ΠΎΡΡΠΈ ΠΈ, Π΅ΡΠ»ΠΈ Π±ΡΠ΄ΡΡ ΠΎΠ±Π½Π°ΡΡΠΆΠ΅Π½Ρ Π½Π΅ΠΏΠΎΠ»Π°Π΄ΠΊΠΈ, ΡΡΡΡΠ°Π½ΠΈΡΡ ΠΈΡ . ΠΠ°Π»Π΅Π΅ ΠΈΠ½ΡΡΡΡΠΌΠ΅Π½ΡΡ ΠΏΡΠΈΠ²ΠΎΠ΄ΡΡΡΡ Π² ΠΈΡΡ ΠΎΠ΄Π½ΠΎΠ΅ ΡΠΎΡΡΠΎΡΠ½ΠΈΠ΅.
ΠΠ»Ρ Π²ΡΠ΅Ρ Π΄Π΅ΠΉΡΡΠ²ΠΈΠΉ, ΡΠΎΠ²Π΅ΡΡΠ°Π΅ΠΌΡΡ Π²ΡΡΡΠ½ΡΡ Π² ΠΏΡΠΎΡΠ΅ΡΡΠ΅ ΠΎΠ±ΡΠ°Π±ΠΎΡΠΊΠΈ ΠΌΠ΅ΡΠ°Π»Π»Π°, Π² ΡΠ°ΡΡΠ½ΠΎΡΡΠΈ Π΅Π³ΠΎ ΡΡΠ±ΠΊΠΈ, Π½Π΅ΠΎΠ±Ρ ΠΎΠ΄ΠΈΠΌΡ Π·Π½Π°ΡΠΈΡΠ΅Π»ΡΠ½ΡΠ΅ Π·Π°ΡΡΠ°ΡΡ. Π ΡΠ²ΡΠ·ΠΈ Ρ ΡΡΠΈΠΌ, ΡΡΠΎΠ±Ρ Π³ΠΎΡΠΎΠ²ΡΠ΅ ΠΈΠ·Π΄Π΅Π»ΠΈΡ ΠΈΠΌΠ΅Π»ΠΈ Π½Π΅ΠΎΠ±Ρ ΠΎΠ΄ΠΈΠΌΡΠ΅ ΡΠ°Π·ΠΌΠ΅ΡΡ, Π²ΡΡΠΎΠΊΠΎΠ΅ ΠΊΠ°ΡΠ΅ΡΡΠ²ΠΎ ΠΈ ΠΈΡ ΠΌΠΎΠΆΠ½ΠΎ Π±ΡΠ»ΠΎ ΠΈΡΠΏΠΎΠ»ΡΠ·ΠΎΠ²Π°ΡΡ ΡΡΠ°Π·Ρ ΠΏΠΎΡΠ»Π΅ ΡΡΠ±ΠΊΠΈ, ΡΡΠΎΠΈΡ Π²ΠΎΡΠΏΠΎΠ»ΡΠ·ΠΎΠ²Π°ΡΡΡΡ ΡΡΠ»ΡΠ³Π°ΠΌΠΈ ΠΏΡΠΎΡΠ΅ΡΡΠΈΠΎΠ½Π°Π»ΠΎΠ².
Π ΡΠ±ΠΊΠ° Π»ΠΈΡΡΠΎΠ²ΠΎΠ³ΠΎ ΠΌΠ΅ΡΠ°Π»Π»Π°. | ΠΠ΅Ρ Π°Π½ΠΈΠΊΠΠ½ΡΠΎ
Π ΡΠ±ΠΊΠ° Π»ΠΈΡΡΠΎΠ²ΠΎΠ³ΠΎ ΠΌΠ΅ΡΠ°Π»Π»Π°. ΠΡΠ΅ΡΡ-Π½ΠΎΠΆΠ½ΠΈΡΡ. ΠΠΈΠ»ΡΠΎΡΠΈΠ½Π½ΡΠ΅ Π½ΠΎΠΆΠ½ΠΈΡΡ. ΠΠΈΠ±ΡΠ°ΡΠΈΠΎΠ½Π½ΡΠ΅ Π½ΠΎΠΆΠ½ΠΈΡΡ.
ΠΡΠ΅Π½ΠΈΡΠ΅ Π·Π°ΠΏΠΈΡΡ
Β
Β
ΠΠ°Π·Π½Π°ΡΠ΅Π½ΠΈΠ΅ ΠΈ Π²ΠΈΠ΄Ρ ΡΠ΅Π·ΠΊΠΈ ΠΌΠ΅ΡΠ°Π»Π»ΠΎΠ²
Β
ΠΡΠ΅ΠΆΠ΄Π΅ ΡΠ΅ΠΌ ΠΈΠ·Π³ΠΎΡΠΎΠ²ΠΈΡΡ ΠΎΡΠ΄Π΅Π»ΡΠ½ΡΠ΅ Π΄Π΅ΡΠ°Π»ΠΈ ΠΎΠΏΡΠ΅Π΄Π΅Π»Π΅Π½Π½ΡΡ
ΡΠ°Π·ΠΌΠ΅ΡΠΎΠ², Π»ΠΈΡΡΠΎΠ²ΠΎΠΉ ΠΈ ΠΏΡΠΎΡΠΈΠ»ΡΠ½ΡΠΉ ΠΌΠ°ΡΠ΅ΡΠΈΠ°Π»Ρ ΠΏΠΎΠ΄Π²Π΅ΡΠ³Π°ΡΡΡΡ ΡΠ΅Π·ΠΊΠ΅.
Π ΠΊΠΎΡΠ΅Π»ΡΠ½ΠΎΠΌ ΠΏΡΠΎΠΈΠ·Π²ΠΎΠ΄ΡΡΠ²Π΅ ΠΏΡΠΈΠΌΠ΅Π½ΡΡΡΡΡ ΡΡΠΈ ΠΌΠ΅ΡΠΎΠ΄Π° ΡΠ΅Π·ΠΊΠΈ: ΠΌΠ΅Ρ Π°Π½ΠΈΡΠ΅ΡΠΊΠΈΠΉ, Π°Π²ΡΠΎΠ³Π΅Π½Π½ΡΠΉ ΠΈ ΡΠ»Π΅ΠΊΡΡΠΈΡΠ΅ΡΠΊΠΈΠΉ. ΠΡΠΈ ΠΌΠ΅ΡΠΎΠ΄Ρ ΡΠ΅Π·ΠΊΠΈ ΠΈΠΌΠ΅ΡΡ ΠΏΡΠΈΠ½ΡΠΈΠΏΠΈΠ°Π»ΡΠ½ΠΎΠ΅ ΡΠ°Π·Π»ΠΈΡΠΈΠ΅ ΠΏΠΎ Π²Π»ΠΈΡΠ½ΠΈΡ, ΠΎΠΊΠ°Π·ΡΠ²Π°Π΅ΠΌΠΎΠΌΡ Π½Π° ΡΠ²ΠΎΠΉΡΡΠ²Π° ΠΌΠ΅ΡΠ°Π»Π»Π°, ΠΏΠΎ ΡΠ²ΠΎΠ΅ΠΌΡ ΠΎΡΡΡΠ΅ΡΡΠ²Π»Π΅Π½ΠΈΡ ΠΈ ΠΏΠΎ ΡΠΊΠΎΠ½ΠΎΠΌΠΈΡΠ½ΠΎΡΡΠΈ.
ΠΡΠΈ ΠΌΠ΅Ρ Π°Π½ΠΈΡΠ΅ΡΠΊΠΎΠΌ ΠΌΠ΅ΡΠΎΠ΄Π΅ ΡΠ°Π·Π΄Π΅Π»Π΅Π½ΠΈΠ΅ ΠΌΠ΅ΡΠ°Π»Π»Π° ΠΏΡΠΎΠΈΡΡ ΠΎΠ΄ΠΈΡ Π±Π»Π°Π³ΠΎΠ΄Π°ΡΡ Π΄Π΅ΠΉΡΡΠ²ΠΈΡ Π²Π½Π΅ΡΠ½Π΅ΠΉ ΡΠΈΠ»Ρ. ΠΡΠΈ Π°Π²ΡΠΎΠ³Π΅Π½Π½ΠΎΠΌ ΠΌΠ΅ΡΠΎΠ΄Π΅ β Π±Π»Π°Π³ΠΎΠ΄Π°ΡΡ ΡΠ³ΠΎΡΠ°Π½ΠΈΡ ΠΌΠ΅ΡΠ°Π»Π»Π° Π² ΡΡΡΡΠ΅ ΠΊΠΈΡΠ»ΠΎΡΠΎΠ΄Π°. ΠΡΠΈ ΡΠ»Π΅ΠΊΡΡΠΈΡΠ΅ΡΠΊΠΎΠΉ ΡΠ΅Π·ΠΊΠ΅ ΠΌΠ΅ΡΠ°Π»Π» ΡΠ°ΡΠΏΠ»Π°Π²Π»ΡΠ΅ΡΡΡ Π² ΠΏΠ»Π°ΠΌΠ΅Π½ΠΈ ΡΠ»Π΅ΠΊΡΡΠΈΡΠ΅ΡΠΊΠΎΠΉ Π΄ΡΠ³ΠΈ. ΠΠ°ΠΊ ΡΠΎΡ, ΡΠ°ΠΊ ΠΈ Π΄ΡΡΠ³ΠΎΠΉ ΠΌΠ΅ΡΠΎΠ΄ ΠΌΠΎΠΆΠ΅Ρ Π±ΡΡΡ ΡΡΡΠ½ΡΠΌ ΠΈ ΠΌΠ΅Ρ Π°Π½ΠΈΠ·ΠΈΡΠΎΠ²Π°Π½Π½ΡΠΌ. ΠΡΠΎΠΌΠ΅ ΡΠΊΠ°Π·Π°Π½Π½ΠΎΠ³ΠΎ Π²ΡΡΠ΅, ΠΌΠ΅Ρ Π°Π½ΠΈΡΠ΅ΡΠΊΠΈΠΉ ΠΌΠ΅ΡΠΎΠ΄ ΠΌΠΎΠΆΠ΅Ρ Π±ΡΡΡ ΡΠ°Π·Π΄Π΅Π»Π΅Π½ Π½Π° Π΄Π²Π° Π²ΠΈΠ΄Π°:
β ΡΠ΅Π·ΠΊΠ° ΡΠΊΠ°Π»ΡΠ²Π°Π½ΠΈΠ΅ΠΌ;
β ΡΠ΅Π·ΠΊΠ°, ΠΎΡΡΡΠ΅ΡΡΠ²Π»ΡΠ΅ΠΌΠ°Ρ ΡΠΈΡΡΡΠΌ ΡΠ΅Π·Π°Π½ΠΈΠ΅ΠΌ (ΡΠ½ΡΡΠΈΠ΅ ΡΡΡΡΠΆΠΊΠΈ ΡΠ΅Π·ΡΠΎΠΌ).
Π Π·Π°Π²ΠΈΡΠΈΠΌΠΎΡΡΠΈ ΠΎΡ ΠΏΡΠΎΡΠΈΠ»Ρ ΡΠ°Π·ΡΠ΅Π·Π°Π΅ΠΌΠΎΠ³ΠΎ ΠΌΠ°ΡΠ΅ΡΠΈΠ°Π»Π° ΠΏΡΠΈ ΡΠ΅Π·ΠΊΠ΅ ΠΏΡΠΈΠΌΠ΅Π½ΡΡΡΡΡ ΡΠΏΠ΅ΡΠΈΠ°Π»ΡΠ½ΡΠ΅ ΠΈΠ½ΡΡΡΡΠΌΠ΅Π½ΡΡ, ΠΏΡΠΈΡΠΏΠΎΡΠΎΠ±Π»Π΅Π½ΠΈΡ ΠΈ ΡΡΠ°Π½ΠΊΠΈ.
Π ΠΈΡ. 1. ΠΠΎΠΆΠ½ΠΈΡΡ:
Π° β ΡΡΡΠ½ΡΠ΅; Π± β ΡΡΡΠ»ΠΎΠ²ΡΠ΅.
Β
Π Π΅Π·ΠΊΠ° ΡΠΎΠ½ΠΊΠΎΠ»ΠΈΡΡΠΎΠ²ΠΎΠ³ΠΎ ΠΌΠ΅ΡΠ°Π»Π»Π° Π½ΠΎΠΆΠ½ΠΈΡΠ°ΠΌΠΈ.
Π Π΅Π·ΠΊΠ° ΡΠΊΠ°Π»ΡΠ²Π°Π½ΠΈΠ΅ΠΌ.
Β
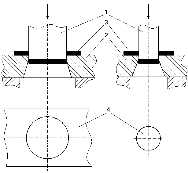
Π Π΅Π·ΠΊΠ° ΡΠΊΠ°Π»ΡΠ²Π°Π½ΠΈΠ΅ΠΌ ΠΎΡΡΡΠ΅ΡΡΠ²Π»ΡΠ΅ΡΡΡ Π½Π° ΡΡΡΠ½ΡΡ ΠΈ ΡΡΡΠ»ΠΎΠ²ΡΡ Π½ΠΎΠΆΠ½ΠΈΡΠ°Ρ (ΡΠΈΡ. 1, Π° ΠΈ Π±), Π½Π° ΡΡΡΠ°ΠΆΠ½ΡΡ (ΡΠΈΡ. 2), Π²ΠΈΠ±ΡΠ°ΡΠΈΠΎΠ½Π½ΡΡ , Π³ΠΈΠ»ΡΠΎΡΠΈΠ½Π½ΡΡ , Π΄ΠΈΡΠΊΠΎΠ²ΡΡ (ΡΠΈΡ. 3) Π½ΠΎΠΆΠ½ΠΈΡΠ°Ρ , ΠΏΡΠ΅ΡΡ-Π½ΠΎΠΆΠ½ΠΈΡΠ°Ρ , Π½Π° ΡΠΏΠ΅ΡΠΈΠ°Π»ΡΠ½ΡΡ ΠΎΡΡΠ΅Π·Π½ΡΡ ΡΡΠ°ΠΌΠΏΠ°Ρ .
Π ΠΈΡ. 2. Π ΡΡΠ°ΠΆΠ½ΡΠ΅ Π½ΠΎΠΆΠ½ΠΈΡΡ.
Β
ΠΠΎΡΠΌΠΎΡΡΠ΅Π² Π½Π° ΠΎΠ±ΡΠ΅Π·Π°Π½Π½ΡΡ ΡΠ°ΡΡΡ Π»ΠΈΡΡΠ°, ΠΌΡ Π²ΠΈΠ΄ΠΈΠΌ ΡΡΠΈ ΠΏΠΎΠ»ΠΎΡΡ: Π΄Π²Π΅ ΠΈΠ· Π½ΠΈΡ , ΠΊΠΎΡΠΎΡΡΠ΅ ΠΏΠΎ ΠΊΡΠ°ΡΠΌ, Π±ΡΠ΄ΡΡ ΡΠ·ΠΊΠΈΠΌΠΈ ΠΈ Π±Π»Π΅ΡΡΡΡΠΈΠΌΠΈ, ΡΡΠΎ ΡΠ»Π΅Π΄Ρ Π²ΡΠ΅Π·Π°Π½ΠΈΡ Π½ΠΎΠΆΠ΅ΠΉ (Π° ΠΈ Π²), Π° ΠΏΠΎΠ²Π΅ΡΡ Π½ΠΎΡΡΡ ΠΏΠΎΡΠ΅ΡΠ΅Π΄ΠΈΠ½Π΅ Π±ΡΠ΄Π΅Ρ ΠΌΠ°ΡΠΎΠ²Π°Ρ (Π±) ΠΎΡ ΡΠΊΠ°Π»ΡΠ²Π°Π½ΠΈΡ (ΡΠΈΡ. 4). ΠΠΎ Π»ΠΈΠ½ΠΈΠΈ ΡΠ΅Π·Π° ΠΌΠΎΠΆΠ½ΠΎ Π½Π°Π±Π»ΡΠ΄Π°ΡΡ ΠΌΠ°Π»Π΅Π½ΡΠΊΠΈΠ΅ ΡΡΠ΅ΡΠΈΠ½Ρ ΠΈ Π·Π°ΡΡΠ΅Π½ΡΡ. ΠΡΠΎΠΌΠ΅ ΡΠΎΠ³ΠΎ, ΠΏΠΎΠ»ΠΎΡΠ° ΠΌΠ΅ΡΠ°Π»Π»Π° ΡΠΎΠ»ΡΠΈΠ½ΠΎΠΉ ΠΎΡ 2 β 3 ΠΌΠΌ, ΠΎΡ ΡΠ΄Π°Π²Π»ΠΈΠ²Π°Π½ΠΈΡ Π½ΠΎΠΆΠ°ΠΌΠΈ ΠΏΠΎ Π²ΡΠ΅ΠΉ Π»ΠΈΠ½ΠΈΠΈ ΡΠ΅Π·Π°, Π±ΡΠ΄Π΅Ρ ΠΈΠΌΠ΅ΡΡ Π½Π°ΠΊΠ»Π΅ΠΏ.
Π Π·Π°Π²ΠΈΡΠΈΠΌΠΎΡΡΠΈ ΠΎΡ ΠΈΠ·Π³ΠΎΡΠ°Π²Π»ΠΈΠ²Π°Π΅ΠΌΠΎΠΉ ΠΊΠΎΠ½ΡΡΡΡΠΊΡΠΈΠΈ, Π½Π°ΠΊΠ»Π΅ΠΏ ΠΈ ΡΡΠ΅ΡΠΈΠ½Ρ Π½Π΅ΠΎΠ±Ρ ΠΎΠ΄ΠΈΠΌΠΎ ΡΠΎΡΡΡΠΎΠ³Π°ΡΡ.
Π ΠΈΡ. 3. ΠΠΈΡΠΊΠΎΠ²ΡΠ΅ Π½ΠΎΠΆΠ½ΠΈΡΡ.
Β
Π Π΅Π·ΠΊΠ° ΡΠΊΠ°Π»ΡΠ²Π°Π½ΠΈΠ΅ΠΌ ΠΏΡΠΎΠΈΡΡ
ΠΎΠ΄ΠΈΡ ΡΠ»Π΅Π΄ΡΡΡΠΈΠΌ ΠΎΠ±ΡΠ°Π·ΠΎΠΌ: ΡΠ°Π·ΡΠ΅Π·Π°Π΅ΠΌΡΠΉ ΠΌΠ°ΡΠ΅ΡΠΈΠ°Π» 2 ΠΏΠΎΠΌΠ΅ΡΠ°Π΅ΡΡΡ ΠΌΠ΅ΠΆΠ΄Ρ Π΄Π²ΡΠΌΡ Π½ΠΎΠΆΠ°ΠΌΠΈ 1 ΠΈ 3 (ΡΠΈΡ. 5), ΠΈΠ· ΠΊΠΎΡΠΎΡΡΡ
Π½ΠΈΠΆΠ½ΠΈΠΉ 3 ΠΎΠ±ΡΠΊΠ½ΠΎΠ²Π΅Π½Π½ΠΎ Π±ΡΠ²Π°Π΅Ρ Π½Π΅ΠΏΠΎΠ΄Π²ΠΈΠΆΠ½ΡΠΌ, Π° Π²Π΅ΡΡ
Π½ΠΈΠΉ 1 β ΠΏΠΎΠ΄Π²ΠΈΠΆΠ½ΡΠΌ.
ΠΠ΅ΡΡ
Π½ΠΈΠΉ Π½ΠΎΠΆ 1, ΠΎΠΏΡΡΠΊΠ°ΡΡΡ, Π΄Π°Π²ΠΈΡ Π½Π° ΠΌΠ΅ΡΠ°Π»Π», ΠΏΡΠΈΠΆΠΈΠΌΠ°Ρ Π΅Π³ΠΎ ΠΊ Π½ΠΈΠΆΠ½Π΅ΠΌΡ Π½ΠΎΠΆΡ. ΠΠ±Π° Π½ΠΎΠΆΠ° Π½Π΅ΡΠΊΠΎΠ»ΡΠΊΠΎ Π²Π΄Π°Π²Π»ΠΈΠ²Π°ΡΡΡΡ Π² ΠΌΠ΅ΡΠ°Π»Π» Π‘ Π²ΡΠ΅Π·Π°Π½ΠΈΠ΅ΠΌ Π½ΠΎΠΆΠ΅ΠΉ Π² ΠΌΠ΅ΡΠ°Π»Π» ΠΏΠΎΠΏΠ΅ΡΠ΅ΡΠ½ΠΎΠ΅ ΡΠ΅ΡΠ΅Π½ΠΈΠ΅ Π΅Π³ΠΎ ΡΠΌΠ΅Π½ΡΡΠ°Π΅ΡΡΡ, ΠΏΠΎΡΠ²Π»ΡΡΡΡΡ Π²Π½Π°ΡΠ°Π»Π΅ ΠΌΠ΅Π»ΠΊΠΈΠ΅, Π° Π·Π°ΡΠ΅ΠΌ ΠΊΡΡΠΏΠ½ΡΠ΅ ΡΡΠ΅ΡΠΈΠ½Ρ, ΠΈ ΠΎΠ½ ΡΠΊΠ°Π»ΡΠ²Π°Π΅ΡΡΡ.
Π ΠΈΡ. 4. Π‘Ρ Π΅ΠΌΠ° Π΄Π΅ΠΉΡΡΠ²ΠΈΡ Π½ΠΎΠΆΠ΅ΠΉ Π½Π° ΠΌΠ΅ΡΠ°Π»Π».
ΠΠΎΠ΄ Π΄Π΅ΠΉΡΡΠ²ΠΈΠ΅ΠΌ Π½ΠΎΠΆΠ΅ΠΉ Π½Π° ΡΠ°Π·ΡΠ΅Π·Π°Π΅ΠΌΡΠΉ ΠΌΠ΅ΡΠ°Π»Π» ΡΠ°ΡΡΡ Π΅Π³ΠΎ, Π»Π΅ΠΆΠ°ΡΠ°Ρ Π½Π° ΡΡΠΎΠ»Π΅, ΠΏΡΠΈΠΏΠΎΠ΄Π½ΠΈΠΌΠ°Π΅ΡΡΡ ΠΈ ΠΏΠΎΠ²ΠΎΡΠ°ΡΠΈΠ²Π°Π΅ΡΡΡ Π²ΠΎΠΊΡΡΠ³ Π³ΡΠ°Π½ΠΈ Π½ΠΈΠΆΠ½Π΅Π³ΠΎ Π½ΠΎΠΆΠ°. ΠΠ»Ρ ΠΏΡΠ΅Π΄ΠΎΡΠ²ΡΠ°ΡΠ΅Π½ΠΈΡ ΡΡΠΎΠ³ΠΎ ΠΌΠ΅ΡΠ°Π»Π» ΠΏΡΠΈΠΆΠΈΠΌΠ°Π΅ΡΡΡ ΠΊ ΡΡΠΎΠ»Ρ ΡΠΏΠ΅ΡΠΈΠ°Π»ΡΠ½ΡΠΌ ΠΏΡΠΈΠΆΠΈΠΌΠΎΠΌ. ΠΠ΄Π½Π°ΠΊΠΎ ΠΏΡΠΈ ΡΠ΅Π·ΠΊΠ΅ ΠΌΠ΅ΡΠ°Π»Π»Π° ΠΌΠ΅ΠΆΠ΄Ρ Π½ΠΎΠΆΠΎΠΌ ΠΈ ΠΏΡΠΈΠΆΠΈΠΌΠΎΠΌ ΡΡΡΠ΅ΠΌΠΈΡΡΡ ΠΈΠ·ΠΎΠ³Π½ΡΡΡΡΡ ΠΏΠ΅ΡΠΏΠ΅Π½Π΄ΠΈΠΊΡΠ»ΡΡΠ½ΠΎ ΠΏΠ»ΠΎΡΠΊΠΎΡΡΠΈ ΡΠ΅Π·Π°Π½ΠΈΡ. ΠΡΡ ΠΎΠ΄Ρ ΠΈΠ· ΡΡΠΎΠ³ΠΎ, ΡΠ°ΡΡΡΠΎΡΠ½ΠΈΠ΅ ΠΌΠ΅ΠΆΠ΄Ρ ΠΏΡΠΈΠΆΠΈΠΌΠΎΠΌ ΠΈ ΡΠ΅ΠΆΡΡΠ΅ΠΉ ΠΊΡΠΎΠΌΠΊΠΎΠΉ Π½ΠΎΠΆΠ° Π²ΡΠ±ΠΈΡΠ°ΡΡ ΡΠ°ΠΊΠΎΠ΅, ΡΡΠΎΠ±Ρ ΠΈΠ·Π³ΠΈΠ± Π»ΠΈΡΡΠ° Π±ΡΠ» Π½Π°ΠΈΠΌΠ΅Π½ΡΡΠΈΠΌ.
Π ΠΈΡ. 5. Π‘Ρ Π΅ΠΌΠ° ΡΠ°Π±ΠΎΡΡ Π½ΠΎΠΆΠ΅ΠΉ:
Ξ± β ΡΠ³ΠΎΠ» ΡΠ°ΡΡΠ²ΠΎΡΠ° Π½ΠΎΠΆΠ΅ΠΉ; αΊ β ΡΠ³ΠΎΠ» Π·Π°ΠΎΡΡΡΠ΅Π½ΠΈΡ Π½ΠΎΠΆΠ΅ΠΉ; Ι£ β ΡΠ³ΠΎΠ» ΡΠΊΠΎΡΠ°; Ξ΄ β ΡΠ³ΠΎΠ» ΡΠ΅ΠΆΡΡΠ΅ΠΉ ΠΊΡΠΎΠΌΠΊΠΈ.
Β
Π£Π³ΠΎΠ» ΡΠΊΠ°Π»ΡΠ²Π°Π½ΠΈΡ.
Β
ΠΠ»Ρ ΡΠ΅Π·ΠΊΠΈ Π΄Π»ΠΈΠ½Π½ΠΎΠ³ΠΎ Π»ΠΈΡΡΠ° ΠΌΠ΅ΡΠ°Π»Π»Π° Π·Π° ΠΎΠ΄ΠΈΠ½ Ρ
ΠΎΠ΄ Π½ΠΎΠΆΠ° Π½Π΅ΠΎΠ±Ρ
ΠΎΠ΄ΠΈΠΌΠΎ Π½Π΅ΠΌΠ°Π»ΠΎΠ΅ ΡΡΠΈΠ»ΠΈΠ΅, ΠΊΠΎΡΠΎΡΠΎΠ΅ Π±ΡΠ΄Π΅Ρ ΡΡΠ°ΡΠΈΡΡΡΡ Π½Π° Π²ΡΠ΅Π·ΠΊΡ Π½ΠΎΠΆΠ΅ΠΉ Π² ΠΌΠ΅ΡΠ°Π»Π» ΠΈ Π½Π° Π΅Π³ΠΎ ΡΠΊΠ°Π»ΡΠ²Π°Π½ΠΈΠ΅.
Π§ΡΠΎΠ±Ρ ΡΠ½ΠΈΠ·ΠΈΡΡ ΠΏΠΎΡΡΠ΅Π±Π»ΡΠ΅ΠΌΡΡ ΠΌΠΎΡΠ½ΠΎΡΡΡ Π½Π° Π²ΡΠ΅ ΡΡΠΈ ΠΎΠΏΠ΅ΡΠ°ΡΠΈΠΈ, Π½ΠΎΠΆΠΈ ΡΡΡΠ°Π½Π°Π²Π»ΠΈΠ²Π°ΡΡ ΠΏΠΎΠ΄ ΡΠ³Π»ΠΎΠΌ Π΄ΡΡΠ³ ΠΊ Π΄ΡΡΠ³Ρ (ΡΠΈΡ. 5). Π§Π΅ΠΌ Π±ΠΎΠ»ΡΡΠ΅ Π±ΡΠ΄Π΅Ρ ΡΠ³ΠΎΠ» Ξ±, ΡΠ΅ΠΌ ΠΌΠ΅Π½ΡΡΠ΅ Π±ΡΠ΄Π΅Ρ ΡΡΠΈΠ»ΠΈΠ΅ Π½ΡΠΆΠ½ΠΎΠ΅ Π΄Π»Ρ ΡΠ΅Π·ΠΊΠΈ. Π’Π°ΠΊ, Π½Π°ΠΏΡΠΈΠΌΠ΅Ρ, Π΅ΡΠ»ΠΈ ΡΠ΅Π·Π°ΡΡ ΠΎΠ΄ΠΈΠ½Π°ΠΊΠΎΠ²ΠΎΠΉ ΡΠΎΠ»ΡΠΈΠ½Ρ Π»ΠΈΡΡΡ Ρ Π½Π°ΠΊΠ»ΠΎΠ½ΠΎΠΌ Π½ΠΎΠΆΠ΅ΠΉ (ΡΠ³ΠΎΠ» Π½Π°ΠΊΠ»ΠΎΠ½Π° 5Β°) ΠΈ Π±Π΅Π·, ΡΠΎ ΡΠ°Π·Π½ΠΈΡΠ° ΡΡΠΈΠ»ΠΈΠΉ Π±ΡΠ΄Π΅Ρ Π·Π½Π°ΡΠΈΡΠ΅Π»ΡΠ½ΠΎΠΉ:
β ΡΡΠΈΠ»ΠΈΠ΅ Ρ Π½Π°ΠΊΠ»ΠΎΠ½ΠΎΠΌ 8,3 Ρ;
β ΡΡΠΈΠ»ΠΈΠ΅ Π±Π΅Π· Π½Π°ΠΊΠ»ΠΎΠ½Π° (Ρ ΠΏΠ°ΡΠ°Π»Π»Π΅Π»ΡΠ½ΡΠΌΠΈ Π½ΠΎΠΆΠ°ΠΌΠΈ) 120 Ρ.
ΠΠ΄Π½Π°ΠΊΠΎ Π½ΡΠΆΠ½ΠΎ Π·Π°ΠΌΠ΅ΡΠΈΡΡ, ΡΡΠΎ ΠΈΠ·-Π·Π° Π±ΠΎΠ»ΡΡΠΎΠ³ΠΎ ΡΠ³Π»Π° Π½Π°ΠΊΠ»ΠΎΠ½Π° Π½ΠΎΠΆΠ΅ΠΉ ΡΠΎΠ·Π΄Π°Π΅ΡΡΡ ΡΡΠΈΠ»ΠΈΠ΅, ΠΊΠΎΡΠΎΡΠΎΠ΅ Π²ΡΡΠ°Π»ΠΊΠΈΠ²Π°Π΅Ρ Π»ΠΈΡΡ ΠΈΠ·-ΠΏΠΎΠ΄ Π½ΠΎΠΆΠ΅ΠΉ. ΠΠ·-Π·Π° ΡΠ΅Π³ΠΎ ΡΠ³ΠΎΠ» Π½Π°ΠΊΠ»ΠΎΠ½Π° ΡΡΡΠ°Π½Π°Π²Π»ΠΈΠ²Π°ΡΡ Π² ΠΏΡΠ΅Π΄Π΅Π»Π°Ρ ΠΎΡ 6 Π΄ΠΎ 8Β°.
ΠΠ»Ρ ΡΠΎΠ³ΠΎ, ΡΡΠΎΠ±Ρ ΠΎΠ±Π»Π΅Π³ΡΠΈΡΡ Π²ΡΠ΅Π·ΠΊΡ Π½ΠΎΠΆΠ΅ΠΉ Π² ΠΌΠ΅ΡΠ°Π»Π» ΡΠ³ΠΎΠ» ΡΠ΅Π·Π° Ξ΄ ΡΡΡΠ°Π½Π°Π²Π»ΠΈΠ²Π°ΡΡ ΠΌΠ΅Π½ΡΡΠ΅ 90Β°, Π² ΠΏΡΠ΅Π΄Π΅Π»Π°Ρ ΠΎΡ 70 Π΄ΠΎ 85Β°. ΠΠ»Ρ ΠΌΠ΅Π½ΡΡΠ΅Π³ΠΎ ΡΡΠ΅Π½ΠΈΡ Π½ΠΎΠΆΠ΅ΠΉ ΠΎ ΡΠ°Π·ΡΠ΅Π·Π°Π΅ΠΌΡΠΉ ΠΌΠ΅ΡΠ°Π»Π», ΡΠΊΠ°ΡΠΈΠ²Π°ΡΡΡΡ ΠΈΡ ΠΏΠ΅ΡΠ΅Π΄Π½ΠΈΠ΅ Π³ΡΠ°Π½ΠΈ Π½Π° ΡΠ³ΠΎΠ» ΠΎΡ 2 Π΄ΠΎ 3Β°. ΠΠ°Π·ΠΎΡ ΠΌΠ΅ΠΆΠ΄Ρ Π½ΠΎΠΆΠ°ΠΌΠΈ Π·Π°Π²ΠΈΡΠΈΡ ΠΎΡ ΡΠΎΠ»ΡΠΈΠ½Ρ ΡΠ°Π·ΡΠ΅Π·Π°Π΅ΠΌΠΎΠ³ΠΎ ΠΌΠ΅ΡΠ°Π»Π»Π° ΠΈ Π΄ΠΎΠΏΡΡΠΊΠ°Π΅ΡΡΡ Π½Π΅ Π±ΠΎΠ»Π΅Π΅ 0,5 ΠΌΠΌ.
Β
Π ΡΡΠ½ΡΠ΅ ΡΡΡΠ°ΠΆΠ½ΡΠ΅ Π½ΠΎΠΆΠ½ΠΈΡΡ. Π ΡΡΠ½ΡΠ΅ ΡΡΡΠ»ΠΎΠ²ΡΠ΅ Π½ΠΎΠΆΠ½ΠΈΡΡ.
Β
Π Π΅Π·ΠΊΠ° Π»ΠΈΡΡΠΎΠ²ΠΎΠ³ΠΎ ΠΌΠ΅ΡΠ°Π»Π»Π° Π²ΡΡΡΠ½ΡΡ ΠΎΡΡΡΠ΅ΡΡΠ²Π»ΡΠ΅ΡΡΡ Π½Π° ΡΡΡΠ½ΡΡ
, ΡΡΡΠ»ΠΎΠ²ΡΡ
ΠΈ ΡΡΡΠ°ΠΆΠ½ΡΡ
Π½ΠΎΠΆΠ½ΠΈΡΠ°Ρ
.
Π’ΠΎΠ»ΡΠΈΠ½Π° ΡΠ°Π·ΡΠ΅Π·Π°Π΅ΠΌΠΎΠ³ΠΎ ΠΌΠ΅ΡΠ°Π»Π»Π° ΠΎΠ±ΡΠΊΠ½ΠΎΠ²Π΅Π½Π½ΠΎ Π±ΡΠ²Π°Π΅Ρ Π½Π΅Π±ΠΎΠ»ΡΡΠΎΠΉ (2β3 ΠΌΠΌ), Π½ΠΎ Π½Π° ΡΡΡΠ°ΠΆΠ½ΡΡ
Π½ΠΎΠΆΠ½ΠΈΡΠ°Ρ
ΠΌΠΎΠΆΠ½ΠΎ ΡΠ΅Π·Π°ΡΡ Π΄ΠΎ 6β10 ΠΌΠΌ. ΠΠ»ΠΈΠ½Π° ΡΠ΅ΠΆΡΡΠ΅Π³ΠΎ Π½ΠΎΠΆΠ° Π΄ΠΎΡΡΠΈΠ³Π°Π΅Ρ 350 ΠΌΠΌ. Π ΡΡΠ½ΡΠ΅ Π½ΠΎΠΆΠ½ΠΈΡΡ ΠΌΠ°Π»ΠΎ ΠΏΡΠΎΠΈΠ·Π²ΠΎΠ΄ΠΈΡΠ΅Π»ΡΠ½Ρ, ΡΡΠ΅Π±ΡΡΡ Π±ΠΎΠ»ΡΡΠΎΠΉ Π·Π°ΡΡΠ°ΡΡ ΠΌΡΡΠΊΡΠ»ΡΠ½ΠΎΠΉ ΡΠΈΠ»Ρ ΡΠ°Π±ΠΎΡΠ΅Π³ΠΎ.
ΠΠ»Ρ ΡΠ΅Π·ΠΊΠΈ Π±ΠΎΠ»Π΅Π΅ ΡΠΎΠ»ΡΡΠΎΠΉ Π»ΠΈΡΡΠΎΠ²ΠΎΠΉ ΡΡΠ°Π»ΠΈ ΠΈΡΠΏΠΎΠ»ΡΠ·ΡΡΡ Π³ΠΈΠ»ΡΠΎΡΠΈΠ½Π½ΡΠ΅ Π½ΠΎΠΆΠ½ΠΈΡΡ ΠΈ ΠΏΡΠ΅ΡΡ-Π½ΠΎΠΆΠ½ΠΈΡΡ. ΠΡ Π½ΠΎΠΆΠΈ ΠΏΡΠΈΠ²ΠΎΠ΄ΡΡΡΡ Π² Π΄Π΅ΠΉΡΡΠ²ΠΈΠ΅ ΠΎΡ ΡΠ»Π΅ΠΊΡΡΠΎΠ΄Π²ΠΈΠ³Π°ΡΠ΅Π»Π΅ΠΉ.
Β
ΠΡΠ΅ΡΡ Π½ΠΎΠΆΠ½ΠΈΡΡ Π΄Π»Ρ ΡΠ΅Π·ΠΊΠΈ ΠΌΠ΅ΡΠ°Π»Π»Π°.
Β
ΠΠ° ΠΏΡΠ΅ΡΡ-Π½ΠΎΠΆΠ½ΠΈΡΠ°Ρ ΡΠ΅ΠΆΡΡΡΡ ΠΌΠ΅Π»ΠΊΠΈΠ΅ Π΄Π΅ΡΠ°Π»ΠΈ, Π° ΡΠ°ΠΊΠΆΠ΅ Π½Π° Π½ΠΈΡ ΠΌΠΎΠΆΠ½ΠΎ ΡΠ°ΡΠΏΡΡΠΊΠ°ΡΡ Π»ΠΈΡΡΡ Π½Π΅ΠΎΠ³ΡΠ°Π½ΠΈΡΠ΅Π½Π½ΠΎΠΉ Π΄Π»ΠΈΠ½Ρ ΡΠΎΠ»ΡΠΈΠ½ΠΎΠΉ Π΄ΠΎ 32 ΠΌΠΌ. ΠΠΎΠΆΠΈ Π΄Π»ΠΈΠ½ΠΎΠΉ Π΄ΠΎ 600 ΠΌΠΌ ΡΠ°ΡΠΏΠΎΠ»Π°Π³Π°ΡΡΡΡ Π²Π΄ΠΎΠ»Ρ ΠΈΠ»ΠΈ ΠΏΠΎΠΏΠ΅ΡΠ΅ΠΊ ΠΎΡΠΈ ΡΡΠ°Π½ΠΈΠ½Ρ. ΠΠ΅Π΄ΠΎΡΡΠ°ΡΠΊΠ°ΠΌΠΈ Ρ ΠΏΡΠ΅ΡΡ-Π½ΠΎΠΆΠ½ΠΈΡ ΡΠ²Π»ΡΡΡΡΡ Π½ΠΈΠ·ΠΊΠ°Ρ ΡΠΈΡΡΠΎΡΠ° ΡΠ΅Π·Π° ΠΈ ΠΌΠ°Π»Π°Ρ ΠΏΡΠΎΠΈΠ·Π²ΠΎΠ΄ΠΈΡΠ΅Π»ΡΠ½ΠΎΡΡΡ Π²ΡΠ»Π΅Π΄ΡΡΠ²ΠΈΠ΅ ΠΌΠ½ΠΎΠ³ΠΎΠΊΡΠ°ΡΠ½ΠΎΠ³ΠΎ ΠΏΠ΅ΡΠ΅Π΄Π²ΠΈΠΆΠ΅Π½ΠΈΡ Π»ΠΈΡΡΠ° Π²ΠΎ Π²ΡΠ΅ΠΌΡ ΡΠ΅Π·ΠΊΠΈ Π±ΠΎΠ»ΡΡΠΈΡ Π΄Π΅ΡΠ°Π»Π΅ΠΉ. ΠΠ΄Π½Π°ΠΊΠΎ Π½ΠΎΠΆΠ½ΠΈΡΡ ΠΎΡΠ΅Π½Ρ ΡΠ΄ΠΎΠ±Π½Ρ ΠΏΡΠΈ ΡΠ΅Π·ΠΊΠ΅ ΠΌΠ΅Π»ΠΊΠΈΡ Π΄Π΅ΡΠ°Π»Π΅ΠΉ.
Β
Π Π΅Π·ΠΊΠ° Π³ΠΈΠ»ΡΠΎΡΠΈΠ½Π½ΡΠΌΠΈ Π½ΠΎΠΆΠ½ΠΈΡΠ°ΠΌΠΈ.
Β
ΠΡΡΠΎΠΊΡΡ ΡΠΈΡΡΠΎΡΡ ΠΈ Π±ΠΎΠ»ΡΡΡΡ ΠΏΡΠΎΠΈΠ·Π²ΠΎΠ΄ΠΈΡΠ΅Π»ΡΠ½ΠΎΡΡΡ Π΄Π°ΡΡ Π³ΠΈΠ»ΡΠΎΡΠΈΠ½Π½ΡΠ΅ Π½ΠΎΠΆΠ½ΠΈΡΡ.
ΠΠ½ΠΈ ΡΠΎΡΡΠΎΡΡ ΠΈΠ· Π΄Π²ΡΡ
, ΡΠΎΠ΅Π΄ΠΈΠ½Π΅Π½Π½ΡΡ
ΠΌΠ΅ΠΆΠ΄Ρ ΡΠΎΠ±ΠΎΠΉ ΡΡΠ°Π½ΠΈΠ½, ΠΏΡΠΈΠΊΡΠ΅ΠΏΠ»Π΅Π½Π½ΡΡ
ΠΊ ΡΠ°Π±ΠΎΡΠ΅ΠΌΡ ΡΡΠΎΠ»Ρ. Π Π²Π½ΡΡΡΠ΅Π½Π½Π΅ΠΉ ΠΊΡΠΎΠΌΠΊΠ΅ ΡΡΠΎΠ»Π° ΠΊΡΠ΅ΠΏΠΈΡΡΡ Π½Π΅ΠΏΠΎΠ΄Π²ΠΈΠΆΠ½ΡΠΉ Π½ΠΎΠΆ, ΡΠΎΡΡΠΎΡΡΠΈΠΉ ΠΈΠ· ΠΎΡΠ΄Π΅Π»ΡΠ½ΡΡ
ΠΏΠΎΠ»ΠΎΡ, Π΄Π»ΠΈΠ½ΠΎΠΉ 600β1000 ΠΌΠΌ.
Π ΠΏΠ°Π·Π°Ρ ΡΡΠ°Π½ΠΈΠ½ Ρ ΠΎΠ΄ΠΈΡ ΠΏΠΎΠ»Π·ΡΠ½ Ρ ΠΏΡΠΈΡΠΎΠ΅Π΄ΠΈΠ½Π΅Π½Π½ΡΠΌΠΈ ΠΊ Π½Π΅ΠΌΡ ΠΏΠΎΠ»ΠΎΡΠ°ΠΌΠΈ Π²Π΅ΡΡ Π½Π΅Π³ΠΎ Π½ΠΎΠΆΠ°. ΠΠ²ΠΈΠΆΠ΅Π½ΠΈΠ΅ ΠΏΠΎΠ»Π·ΡΠ½Ρ ΠΏΠ΅ΡΠ΅Π΄Π°Π΅ΡΡΡ ΠΎΡ ΡΠ»Π΅ΠΊΡΡΠΎΠ΄Π²ΠΈΠ³Π°ΡΠ΅Π»Ρ ΡΠ΅ΡΠ΅Π· ΠΊΠΎΠ»Π΅Π½ΡΠ°ΡΡΠΉ Π²Π°Π». ΠΠ»Ρ ΡΠ²Π΅Π»ΠΈΡΠ΅Π½ΠΈΡ Π½Π°ΠΏΠΎΡΠ° Π²Π΅ΡΡ Π½Π΅Π³ΠΎ Π½ΠΎΠΆΠ° Π² ΡΠ°Π±ΠΎΡΠ΅ΠΌ Ρ ΠΎΠ΄Π΅ Π½ΠΎΠΆΠ½ΠΈΡΡ ΡΠ½Π°Π±ΠΆΠ΅Π½Ρ ΡΡΠΆΠ΅Π»ΡΠΌ ΠΌΠ°Ρ ΠΎΠ²ΠΈΠΊΠΎΠΌ, ΠΊΠΎΡΠΎΡΡΠΉ Π²ΠΎ Π²ΡΠ΅ΠΌΡ ΡΠ΅Π·ΠΊΠΈ ΡΠ°ΡΡ ΠΎΠ΄ΡΠ΅Ρ Π±ΠΎΠ»ΡΡΡΡ ΡΠΈΠ»Ρ, Π½Π°ΠΊΠΎΠΏΠ»Π΅Π½Π½ΡΡ ΠΏΡΠΈ Ρ ΠΎΠ»ΠΎΡΡΠΎΠΌ Ρ ΠΎΠ΄Π΅. Π Π°Π·ΡΠ΅Π·Π°Π΅ΠΌΡΠΉ Π»ΠΈΡΡ ΡΠΊΠ»Π°Π΄ΡΠ²Π°Π΅ΡΡΡ Π½Π° ΡΡΠΎΠ» Π½ΠΎΠΆΠ½ΠΈΡ ΠΈ ΠΏΡΠΈΠΆΠΈΠΌΠ°Π΅ΡΡΡ ΠΊ Π½Π΅ΠΌΡ ΠΏΡΠΈΠΆΠΈΠΌΠ°ΠΌΠΈ.
ΠΠΈΠ»ΡΠΎΡΠΈΠ½Π½ΡΠΌΠΈ Π½ΠΎΠΆΠ½ΠΈΡΠ°ΠΌΠΈ Π²ΠΎΠ·ΠΌΠΎΠΆΠ½Π° ΡΡΠ±ΠΊΠ° Π»ΠΈΡΡΠ° ΡΠΎΠ»ΡΠΈΠ½ΠΎΠΉ Π΄ΠΎ 40 ΠΌΠΌ ΠΈ ΡΠΈΡΠΈΠ½ΠΎΠΉ Π΄ΠΎ 3000 ΠΌΠΌ. ΠΠ° Π½ΠΈΡ ΠΌΠΎΠΆΠ½ΠΎ Π»Π΅Π³ΠΊΠΎ ΡΠ°ΡΠΏΡΡΡΠΈΡΡ Π»ΠΈΡΡ Π½Π° ΠΏΠΎΠ»ΠΎΡΡ ΡΠΈΡΠΈΠ½ΠΎΠΉ Π½Π΅ΡΠΊΠΎΠ»ΡΠΊΠΎ ΠΌΠ΅Π½ΡΡΠ΅ΠΉ Π²ΡΠ»Π΅ΡΠ° Π·Π΅Π²Π°, ΠΊΠΎΡΠΎΡΡΠΉ Ρ ΠΎΡΠ΄Π΅Π»ΡΠ½ΡΡ ΠΊΠΎΠ½ΡΡΡΡΠΊΡΠΈΠΉ Π½ΠΎΠΆΠ½ΠΈΡ Π΄ΠΎΡ ΠΎΠ΄ΠΈΡ Π΄ΠΎ 600 ΠΌΠΌ.
Β
Π Π΅Π·ΠΊΠ° ΠΌΠ΅ΡΠ°Π»Π»Π° Π²ΠΈΠ±ΡΠ°ΡΠΈΠΎΠ½Π½ΡΠΌΠΈ Π½ΠΎΠΆΠ½ΠΈΡΠ°ΠΌΠΈ.
Β
ΠΠΈΠ±ΡΠ°ΡΠΈΠΎΠ½Π½ΡΠ΅ Π½ΠΎΠΆΠ½ΠΈΡΡ ΠΏΡΠ΅Π΄ΡΡΠ°Π²Π»ΡΡΡ ΡΠΎΠ±ΠΎΠΉ ΡΡΠ°Π½ΠΎΠΊ Ρ ΠΊΠΎΡΠΎΡΠΊΠΈΠΌΠΈ Π½ΠΎΠΆΠ°ΠΌΠΈ.
Π§ΠΈΡΠ»ΠΎ Ρ
ΠΎΠ΄ΠΎΠ² Ρ Π½ΠΈΡ
Π΄ΠΎΡΡΠΈΠ³Π°Π΅Ρ 2500 Π² ΠΌΠΈΠ½., Ρ
ΠΎΠ΄ 2β3 ΠΌΠΌ. ΠΠΎΠΆΠ½ΠΈΡΡ ΠΏΡΠ΅Π΄Π½Π°Π·Π½Π°ΡΠ΅Π½Ρ Π΄Π»Ρ ΡΠ΅Π·ΠΊΠΈ Π΄Π΅ΡΠ°Π»Π΅ΠΉ ΠΊΡΠΈΠ²ΠΎΠ»ΠΈΠ½Π΅ΠΉΠ½ΠΎΠΉ ΠΊΠΎΠ½ΡΠΈΠ³ΡΡΠ°ΡΠΈΠΈ Ρ ΠΌΠ°Π»ΡΠΌΠΈ ΡΠ°Π΄ΠΈΡΡΠ°ΠΌΠΈ (Π΄ΠΎ 15 ΠΌΠΌ). ΠΠΎΠ½ΡΡΡΡΠΊΡΠΈΡ Π½ΠΎΠΆΠ½ΠΈΡ ΠΏΠΎΠ·Π²ΠΎΠ»ΡΠ΅Ρ ΠΏΡΠΎΠΈΠ·Π²ΠΎΠ΄ΠΈΡΡ ΡΠ΅Π·ΠΊΡ Π½Π΅ΠΏΡΠ΅ΡΡΠ²Π½ΠΎ.
ΠΠΈΡΠΊΠΎΠ²ΡΠ΅ ΠΈΠ»ΠΈ ΡΠΎΠ»ΠΈΠΊΠΎΠ²ΡΠ΅ Π½ΠΎΠΆΠ½ΠΈΡΡ ΠΈΠΌΠ΅ΡΡ Π½ΠΎΠΆΠΈ ΠΊΡΡΠ³Π»ΠΎΠΉ ΡΠΎΡΠΌΡ, ΡΡΠΎ ΡΠ°ΠΊΠΆΠ΅ ΠΏΠΎΠ·Π²ΠΎΠ»ΡΠ΅Ρ ΠΏΡΠΎΠΈΠ·Π²ΠΎΠ΄ΠΈΡΡ ΡΠ΅Π·ΠΊΡ Π½Π΅ΠΏΡΠ΅ΡΡΠ²Π½ΠΎ. ΠΠΎΠΆΠΈ Π²ΡΠ°ΡΠ°ΡΡΡΡ ΠΎΡ ΡΠ»Π΅ΠΊΡΡΠΎΠ΄Π²ΠΈΠ³Π°ΡΠ΅Π»Ρ Π² ΠΏΡΠΎΡΠΈΠ²ΠΎΠΏΠΎΠ»ΠΎΠΆΠ½ΡΡ Π½Π°ΠΏΡΠ°Π²Π»Π΅Π½ΠΈΡΡ . ΠΠΎΠΆΠ½ΠΈΡΡ ΠΏΡΠΈΠΌΠ΅Π½ΡΡΡ Π΄Π»Ρ ΡΠ΅Π·ΠΊΠΈ ΠΏΠΎΠ»ΠΎΡ ΠΈΠ· Π»ΠΈΡΡΠ°, Π° ΡΠ°ΠΊΠΆΠ΅ ΠΏΡΠΎΠΈΠ·Π²ΠΎΠ΄ΡΡ ΡΠ΅Π·ΠΊΡ ΠΏΠΎ ΠΊΡΠΈΠ²ΠΎΠ»ΠΈΠ½Π΅ΠΉΠ½ΠΎΠΌΡ ΠΊΠΎΠ½ΡΡΡΡ. ΠΠΎΠΆΠ½ΠΈΡΡ ΡΠΏΠΎΡΠΎΠ±Π½Ρ ΠΏΡΠΎΠΈΠ·Π²ΠΎΠ΄ΠΈΡΡ ΡΠ΅Π· Π»ΠΈΡΡΠ° ΡΠΎΠ»ΡΠΈΠ½ΠΎΠΉ Π½Π΅ Π±ΠΎΠ»Π΅Π΅ 25 ΠΌΠΌ. ΠΠ½ΡΠ΅ΡΠ΅ΡΠ½ΠΎ ΠΏΡΠΈΠΌΠ΅Π½Π΅Π½ΠΈΠ΅ Π΄ΠΈΡΠΊΠΎΠ²ΡΡ Π½ΠΎΠΆΠ΅ΠΉ Π² ΠΊΠΎΠΌΠ±ΠΈΠ½Π°ΡΠΈΠΈ Ρ ΠΏΡΠ°Π²ΠΈΠ»ΡΠ½ΡΠΌΠΈ Π²Π°Π»ΡΡΠ°ΠΌΠΈ. ΠΠ»Ρ ΡΡΠΎΠ³ΠΎ Π΄Π²ΡΡ ΠΏΠ°ΡΠ½ΡΠ΅ Π΄ΠΈΡΠΊΠΎΠ²ΡΠ΅ Π½ΠΎΠΆΠ½ΠΈΡΡ ΡΠΎΠ΅Π΄ΠΈΠ½Π΅Π½Ρ Ρ ΠΏΡΠ°Π²ΠΈΠ»ΡΠ½ΡΠΌΠΈ Π²Π°Π»ΡΡΠ°ΠΌΠΈ. ΠΡΡ ΡΡΡΠ°Π½ΠΎΠ²ΠΊΠ° ΡΠ°Π±ΠΎΡΠ°Π΅Ρ ΠΎΡ ΠΎΠ΄Π½ΠΎΠ³ΠΎ ΠΏΡΠΈΠ²ΠΎΠ΄Π°. ΠΠ±Π΅ ΠΎΠΏΠ΅ΡΠ°ΡΠΈΠΈ β ΠΏΡΠ°Π²ΠΊΠ° ΠΈ ΡΠ΅Π·ΠΊΠ° ΠΏΡΠΎΠ΄ΠΎΠ»ΡΠ½ΡΡ ΠΊΡΠΎΠΌΠΎΠΊ Π»ΠΈΡΡΠΎΠ² β ΠΏΡΠΎΠ²ΠΎΠ΄ΡΡΡΡ Π½Π° ΠΎΠ΄Π½ΠΎΠΌ ΡΡΠ°Π½ΠΊΠ΅ ΠΎΠ΄Π½ΠΎΠ²ΡΠ΅ΠΌΠ΅Π½Π½ΠΎ Π·Π° ΠΎΠ΄ΠΈΠ½ ΠΏΡΠΎΡ ΠΎΠ΄.
ΠΠ±ΡΠ΅Π·Π½ΡΠ΅ ΡΡΠ°ΠΌΠΏΡ ΠΏΡΠΈΠΌΠ΅Π½ΡΡΡΡΡ Π΄Π»Ρ ΡΠ΅Π·ΠΊΠΈ ΡΠ·ΠΊΠΈΡ ΠΏΠΎΠ»ΠΎΡ ΠΈ ΠΏΡΠΎΡΠΈΠ»ΡΠ½ΠΎΠ³ΠΎ ΠΌΠ°ΡΠ΅ΡΠΈΠ°Π»Π° Π½Π° ΡΡΡΡΠ½ΡΠ΅ Π·Π°Π³ΠΎΡΠΎΠ²ΠΊΠΈ.
Π Π΅Π·ΠΊΠ° ΠΏΡΠΎΡΠΈΠ»ΡΠ½ΠΎΠ³ΠΎ ΠΌΠ°ΡΠ΅ΡΠΈΠ°Π»Π° Π½Π΅ ΠΎΡΠ»ΠΈΡΠ°Π΅ΡΡΡ ΠΎΡ ΡΠ΅Π·ΠΊΠΈ Π»ΠΈΡΡΠΎΠ²ΠΎΠ³ΠΎ.
ΠΠΎΠΆΠ½ΠΈΡΡ ΡΠ°ΠΊΠΆΠ΅ ΠΈΠΌΠ΅ΡΡ Π½ΠΎΠΆΠΈ, ΠΎΠ΄ΠΈΠ½ ΠΈΠ· ΠΊΠΎΡΠΎΡΡΡ
Π½Π΅ΠΏΠΎΠ΄Π²ΠΈΠΆΠ½ΡΠΉ, Π° Π΄ΡΡΠ³ΠΎΠΉ ΠΏΠΎΠ΄Π²ΠΈΠΆΠ½ΡΠΉ. ΠΡΠΎΠ±Π΅Π½Π½ΠΎΡΡΡΡ Π½ΠΎΠΆΠ΅ΠΉ ΡΠ²Π»ΡΠ΅ΡΡΡ ΠΈΡ
ΡΠΎΡΠΌΠ° (ΡΠΈΡ. 6), ΠΎΡΠ²Π΅ΡΠ°ΡΡΠ°Ρ ΠΏΡΠΎΡΠΈΠ»Ρ ΡΠ°Π·ΡΠ΅Π·Π°Π΅ΠΌΠΎΠ³ΠΎ ΠΌΠ°ΡΠ΅ΡΠΈΠ°Π»Π°. ΠΠΎΠΆΠ½ΠΈΡΡ Π΄Π΅Π»ΡΡ Π½Π°:
β ΡΡΡΠ½ΡΠ΅;
β ΠΏΡΠΈΠ²ΠΎΠ΄Π½ΡΠ΅.
Π’Π°ΠΊΠΆΠ΅, ΡΠ°ΡΡΠΎ Π²ΡΡΡΠ΅ΡΠ°ΡΡΡΡ Π½ΠΎΠΆΠ½ΠΈΡΡ ΠΊΠΎΠΌΠ±ΠΈΠ½ΠΈΡΠΎΠ²Π°Π½Π½ΠΎΠ³ΠΎ ΡΠΈΠΏΠ° Π΄Π»Ρ ΡΠ΅Π·ΠΊΠΈ ΠΏΡΠΎΡΠΈΠ»ΡΠ½ΠΎΠ³ΠΎ ΠΈ Π»ΠΈΡΡΠΎΠ²ΠΎΠ³ΠΎ ΠΌΠ°ΡΠ΅ΡΠΈΠ°Π»Π°.
Π ΠΈΡ. 6. Π€ΠΎΡΠΌΡ Π½ΠΎΠΆΠ΅ΠΉ Π΄Π»Ρ ΡΠ΅Π·ΠΊΠΈ ΡΠ°ΡΠΎΠ½Π½ΠΎΠ³ΠΎ ΠΌΠ΅ΡΠ°Π»Π»Π°:
1 β Π²Π΅ΡΡ Π½ΠΈΠΉ Π½ΠΎΠΆ; 2 β ΠΏΡΠΎΡΠΈΠ»ΡΠ½ΡΠΉ (ΡΠ°Π·ΡΠ΅Π·Π°Π΅ΠΌΡΠΉ) ΠΌΠ΅ΡΠ°Π»Π»; 3 β ΡΠΏΠΎΡΡ; 4 β Π½Π°ΠΆΠΈΠΌΠ½ΡΠ΅ Π²ΠΈΠ½ΡΡ.
Β
Π ΡΠ²Π°ΡΠ½ΡΡ ΠΊΠΎΠ½ΡΡΡΡΠΊΡΠΈΡΡ Π΄Π»Ρ ΠΏΠ»ΠΎΡΠ½ΠΎΠ³ΠΎ ΠΏΡΠΈΠ»Π΅Π³Π°Π½ΠΈΡ Π΄Π΅ΡΠ°Π»Π΅ΠΉ ΠΏΡΠΈ ΡΠ±ΠΎΡΠ΅ ΠΈ ΡΠ²Π°ΡΠΊΠ΅ ΠΎΡΠ΅Π½Ρ ΡΠ°ΡΡΠΎ Π²ΠΎΠ·Π½ΠΈΠΊΠ°Π΅Ρ Π½Π΅ΠΎΠ±Ρ ΠΎΠ΄ΠΈΠΌΠΎΡΡΡ Π΄Π΅Π»Π°ΡΡ Π² ΠΏΡΠΎΡΠΈΠ»ΡΠ½ΠΎΠΌ ΠΌΠ°ΡΠ΅ΡΠΈΠ°Π»Π΅ Π²ΡΡΠΊΠΎΠ³ΠΎ ΡΠΎΠ΄Π° Π·Π°ΡΡΠ±Ρ, Π·Π°ΠΊΡΡΠ³Π»Π΅Π½ΠΈΡ, Π²ΡΠ΅ΠΌΠΊΠΈ (ΡΠΈΡ. 7). ΠΠ»Ρ ΡΡΠΎΠΉ ΡΠ΅Π»ΠΈ ΠΏΡΠΈΠΌΠ΅Π½ΡΡΡΡΡ ΡΠ°ΠΊ Π½Π°Π·ΡΠ²Π°Π΅ΠΌΡΠ΅ Π·Π°ΡΡΠ±ΠΎΡΠ½ΡΠ΅ ΠΌΠ°ΡΠΈΠ½Ρ. ΠΠ° ΡΡΠΈΡ ΠΌΠ°ΡΠΈΠ½Π°Ρ , ΠΊΡΠΎΠΌΠ΅ ΡΠΊΠ°Π·Π°Π½Π½ΡΡ ΡΠ°Π±ΠΎΡ, ΠΌΠΎΠΆΠ½ΠΎ ΠΎΡΡΡΠ΅ΡΡΠ²Π»ΡΡΡ ΡΠ΅Π·ΠΊΡ ΠΏΡΠΎΡΠΈΠ»ΡΠ½ΠΎΠ³ΠΎ ΠΌΠ°ΡΠ΅ΡΠΈΠ°Π»Π°.
Π ΠΈΡ. 7. Π€ΠΎΡΠΌΡ Π·Π°ΡΡΠ±ΠΎΠΊ Π½Π° ΠΏΠΎΠ»ΠΊΠ°Ρ ΡΠ³ΠΎΠ»ΠΊΠ°.
Β
Π ΡΠ°ΡΡΠ½ΡΡ
ΡΠ»ΡΡΠ°ΡΡ
Π΄ΠΎΠΏΡΡΠΊΠ°Π΅ΡΡΡ ΡΠ΅Π·ΠΊΠ° Π½Π° Π½ΠΎΠΆΠ½ΠΈΡΠ°Ρ
ΠΏΠΎ ΡΠ°Π·ΠΌΠ΅ΡΠΊΠ΅, Π΄Π»Ρ ΡΡΠΎΠ³ΠΎ Π»ΠΈΡΡ ΡΡΡΠ°Π½Π°Π²Π»ΠΈΠ²Π°Π΅ΡΡΡ Π΄ΠΎ ΡΠΎΠ²ΠΏΠ°Π΄Π΅Π½ΠΈΡ Π»ΠΈΠ½ΠΈΠΈ ΡΠ°Π·ΠΌΠ΅ΡΠΊΠΈ Ρ Π²Π½ΡΡΡΠ΅Π½Π½Π΅ΠΉ ΠΏΠ»ΠΎΡΠΊΠΎΡΡΡΡ Π½ΠΎΠΆΠ°.
ΠΡΠΈ ΡΠ΅ΡΠΈΠΉΠ½ΠΎΠΌ ΠΏΡΠΎΠΈΠ·Π²ΠΎΠ΄ΡΡΠ²Π΅ Π΄Π΅ΡΠ°Π»ΠΈ Ρ ΠΊΠΎΠ½ΡΡΡΠΎΠΌ, ΠΎΠ³ΡΠ°Π½ΠΈΡΠ΅Π½Π½ΡΠΌ ΠΏΡΡΠΌΡΠΌΠΈ Π»ΠΈΠ½ΠΈΡΠΌΠΈ, Π²ΡΠ³ΠΎΠ΄Π½Π΅Π΅ ΡΠ΅Π·Π°ΡΡ ΠΏΠΎ ΡΠΏΠΎΡΠ°ΠΌ. ΠΡΠΈ ΡΠΏΠΎΡΡ ΡΠ°ΡΠΏΠΎΠ»Π°Π³Π°ΡΡΡΡ Π·Π° ΠΏΠΎΠ΄Π²ΠΈΠΆΠ½ΡΠΌ Π½ΠΎΠΆΠΎΠΌ ΠΈ Π½Π°Π·ΡΠ²Π°ΡΡΡΡ Π·Π°Π΄Π½ΠΈΠΌΠΈ. Π§Π°ΡΠ΅ Π²ΡΠ΅Π³ΠΎ ΠΎΠ½ΠΈ Π±ΡΠ²Π°ΡΡ ΡΠ½ΠΈΠ²Π΅ΡΡΠ°Π»ΡΠ½ΡΠΌΠΈ, ΠΏΠΎΠ·Π²ΠΎΠ»ΡΡΡΠΈΠΌΠΈ Π½Π°ΡΡΡΠ°ΠΈΠ²Π°ΡΡ ΠΈΡ ΠΏΠΎ Π·Π°Π΄Π°Π½Π½ΡΠΌ ΡΠ°Π·ΠΌΠ΅ΡΠ°ΠΌ Π΄Π΅ΡΠ°Π»Π΅ΠΉ. ΠΡΠΎΠΌΠ΅ Π·Π°Π΄Π½ΠΈΡ ΡΠΏΠΎΡΠΎΠ², ΠΏΡΠΈΠΌΠ΅Π½ΡΡΡΡΡ ΡΠΏΠΎΡΡ ΠΏΠ΅ΡΠ΅Π΄Π½ΠΈΠ΅ ΠΈ Π±ΠΎΠΊΠΎΠ²ΡΠ΅, ΡΡΡΠ°Π½Π°Π²Π»ΠΈΠ²Π°Π΅ΠΌΡΠ΅ Π² Π·Π°Π²ΠΈΡΠΈΠΌΠΎΡΡΠΈ ΠΎΡ ΠΊΠΎΠ½ΡΠΈΠ³ΡΡΠ°ΡΠΈΠΈ Π΄Π΅ΡΠ°Π»ΠΈ Π½Π° ΡΡΠΎΠ»Π΅ Π½ΠΎΠΆΠ½ΠΈΡ.
ΠΠΈΡΠΊΠΎΠ²ΡΠ΅ ΠΈ Π²ΠΈΠ±ΡΠ°ΡΠΈΠΎΠ½Π½ΡΠ΅ Π½ΠΎΠΆΠ½ΠΈΡΡ ΡΠ»ΡΠΆΠ°Ρ Π΄Π»Ρ Π²ΡΡΠ΅Π·Π°Π½ΠΈΡ Π΄Π΅ΡΠ°Π»ΠΈ ΠΈΠ»ΠΈ Π·Π°Π³ΠΎΡΠΎΠ²ΠΊΠΈ ΠΏΠΎ ΡΠ°Π±Π»ΠΎΠ½Ρ. ΠΠ»Π°Π³ΠΎΠ΄Π°ΡΡ ΡΠΏΠΎΡΠ°ΠΌ ΠΈ ΡΠ°Π±Π»ΠΎΠ½Π°ΠΌ ΠΏΡΠΈ ΡΠ΅Π·ΠΊΠ΅ ΠΏΠ»ΠΎΡΠΊΠΎΠ³ΠΎ ΠΈΠ»ΠΈ ΠΏΡΠΎΡΠΈΠ»ΡΠ½ΠΎΠ³ΠΎ ΠΌΠ΅ΡΠ°Π»Π»ΠΎΠΏΡΠΎΠΊΠ°ΡΠ° ΠΌΠΎΠΆΠ½ΠΎ ΠΎΡΠΊΠ°Π·Π°ΡΡΡΡ ΠΎΡ ΠΈΡ ΠΏΡΠ΅Π΄Π²Π°ΡΠΈΡΠ΅Π»ΡΠ½ΠΎΠΉ ΡΠ°Π·ΠΌΠ΅ΡΠΊΠΈ.
ΠΠ»Ρ ΠΎΠ±Π»Π΅Π³ΡΠ΅Π½ΠΈΡ ΡΠ°Π±ΠΎΡΡ ΠΏΠΎΠ΄Π°ΡΠ° Π»ΠΈΡΡΠΎΠ²ΠΎΠ³ΠΎ ΠΈ ΠΏΡΠΎΡΠΈΠ»ΡΠ½ΠΎΠ³ΠΎ ΠΌΠ°ΡΠ΅ΡΠΈΠ°Π»ΠΎΠ² ΠΊ Π½ΠΎΠΆΠ½ΠΈΡΠ°ΠΌ ΠΎΡΡΡΠ΅ΡΡΠ²Π»ΡΠ΅ΡΡΡ Ρ ΠΏΠΎΠΌΠΎΡΡΡ Π²ΡΡΠΊΠΎΠ³ΠΎ ΡΠΎΠ΄Π° ΠΏΡΠΈΡΠΏΠΎΡΠΎΠ±Π»Π΅Π½ΠΈΠΉ: ΡΡΠΎΠ»ΠΎΠ² ΠΈΠ· ΡΠΎΠ»ΠΈΠΊΠΎΠ²ΡΡ ΡΠ΅Π»Π΅ΠΆΠ΅ΠΊ, ΡΠΎΠ»ΡΠ³Π°Π½Π³ΠΎΠ², ΡΡΠΎΠ»ΠΎΠ² Β«Π³ΡΡΠΈΠ½ΡΠ΅ ΡΠ΅ΠΉΠΊΠΈΒ», ΠΌΠ΅ΡΠ°Π»Π»ΠΈΡΠ΅ΡΠΊΠΈΡ ΡΠ°ΡΠΎΠ². ΠΡΠΎΠΌΠ΅ ΡΠΎΠ³ΠΎ, Π½Π΅ΠΊΠΎΡΠΎΡΡΠ΅ ΠΌΠΎΠ΄Π΅Π»ΠΈ Π½ΠΎΠΆΠ½ΠΈΡ ΠΌΠΎΠ½ΡΠΈΡΡΡΡΡΡ Π½Π° ΠΏΠΎΠ²ΠΎΡΠΎΡΠ½ΠΎΠΌ ΡΡΠΎΠ»Π΅, ΡΡΠΎ ΠΏΠΎΠ·Π²ΠΎΠ»ΡΠ΅Ρ Π·Π½Π°ΡΠΈΡΠ΅Π»ΡΠ½ΠΎ ΡΠΎΠΊΡΠ°ΡΠΈΡΡ ΠΎΠΏΠ΅ΡΠ°ΡΠΈΠΈ, ΡΠ²ΡΠ·Π°Π½Π½ΡΠ΅ Ρ ΠΊΠ°Π½ΡΠΎΠ²ΠΊΠΎΠΉ Π³ΡΠΎΠΌΠΎΠ·Π΄ΠΊΠΈΡ Π΄Π΅ΡΠ°Π»Π΅ΠΉ.
Π Π΅Π·ΠΊΠ° ΡΠΊΠ°Π»ΡΠ²Π°Π½ΠΈΠ΅ΠΌ Π½Π°ΡΠ»Π° ΡΠΈΡΠΎΠΊΠΎΠ΅ ΠΏΡΠΈΠΌΠ΅Π½Π΅Π½ΠΈΠ΅ ΠΏΡΠΈ ΠΈΠ·Π³ΠΎΡΠΎΠ²Π»Π΅Π½ΠΈΠΈ ΠΊΠΎΡΠ΅Π»ΡΠ½ΡΡ
ΠΊΠΎΠ½ΡΡΡΡΠΊΡΠΈΠΉ.
Β
| ΠΠ°ΠΆΠ½ΠΎΡΡΡ | ΠΠΈΠ΄Ρ Π΄Π΅ΡΡΠ΅Π»ΡΠ½ΠΎΡΡΠΈ |
|---|---|
ΠΠΎΠ»ΡΡΠ΅Π½ΠΈΠ΅ ΠΈΠ½ΡΠΎΡΠΌΠ°ΡΠΈΠΈ β ΠΠ°Π±Π»ΡΠ΄Π΅Π½ΠΈΠ΅, ΠΏΠΎΠ»ΡΡΠ΅Π½ΠΈΠ΅ ΠΈ ΠΈΠ½ΠΎΠ΅ ΠΏΠΎΠ»ΡΡΠ΅Π½ΠΈΠ΅ ΠΈΠ½ΡΠΎΡΠΌΠ°ΡΠΈΠΈ ΠΈΠ· Π²ΡΠ΅Ρ
ΡΠΎΠΎΡΠ²Π΅ΡΡΡΠ²ΡΡΡΠΈΡ
ΠΈΡΡΠΎΡΠ½ΠΈΠΊΠΎΠ². | |
Π£ΠΏΡΠ°Π²Π»Π΅Π½ΠΈΠ΅ ΠΌΠ°ΡΠΈΠ½Π°ΠΌΠΈ ΠΈ ΠΏΡΠΎΡΠ΅ΡΡΠ°ΠΌΠΈ β ΠΈΡΠΏΠΎΠ»ΡΠ·ΠΎΠ²Π°Π½ΠΈΠ΅ Π»ΠΈΠ±ΠΎ ΠΌΠ΅Ρ Π°Π½ΠΈΠ·ΠΌΠΎΠ² ΡΠΏΡΠ°Π²Π»Π΅Π½ΠΈΡ, Π»ΠΈΠ±ΠΎ ΠΏΡΡΠΌΠΎΠΉ ΡΠΈΠ·ΠΈΡΠ΅ΡΠΊΠΎΠΉ Π°ΠΊΡΠΈΠ²Π½ΠΎΡΡΠΈ Π΄Π»Ρ ΡΠΏΡΠ°Π²Π»Π΅Π½ΠΈΡ ΠΌΠ°ΡΠΈΠ½Π°ΠΌΠΈ ΠΈΠ»ΠΈ ΠΏΡΠΎΡΠ΅ΡΡΠ°ΠΌΠΈ (Π·Π° ΠΈΡΠΊΠ»ΡΡΠ΅Π½ΠΈΠ΅ΠΌ ΠΊΠΎΠΌΠΏΡΡΡΠ΅ΡΠΎΠ² ΠΈΠ»ΠΈ ΡΡΠ°Π½ΡΠΏΠΎΡΡΠ½ΡΡ ΡΡΠ΅Π΄ΡΡΠ²). | |
ΠΠ±ΡΠ°ΡΠ΅Π½ΠΈΠ΅ Ρ ΠΏΡΠ΅Π΄ΠΌΠ΅ΡΠ°ΠΌΠΈ ΠΈ ΠΈΡ ΠΏΠ΅ΡΠ΅ΠΌΠ΅ΡΠ΅Π½ΠΈΠ΅. ΠΡΠΏΠΎΠ»ΡΠ·ΠΎΠ²Π°Π½ΠΈΠ΅ ΡΡΠΊ ΠΈ ΡΡΠΊ ΠΏΡΠΈ ΠΏΠ΅ΡΠ΅ΠΌΠ΅ΡΠ΅Π½ΠΈΠΈ, ΡΡΡΠ°Π½ΠΎΠ²ΠΊΠ΅, ΡΠ°Π·ΠΌΠ΅ΡΠ΅Π½ΠΈΠΈ ΠΈ ΠΏΠ΅ΡΠ΅ΠΌΠ΅ΡΠ΅Π½ΠΈΠΈ ΠΌΠ°ΡΠ΅ΡΠΈΠ°Π»ΠΎΠ², Π° ΡΠ°ΠΊΠΆΠ΅ ΠΌΠ°Π½ΠΈΠΏΡΠ»ΠΈΡΠΎΠ²Π°Π½ΠΈΠΈ Π²Π΅ΡΠ°ΠΌΠΈ. | |
ΠΡΠΎΠ²Π΅ΡΠΊΠ° ΠΎΠ±ΠΎΡΡΠ΄ΠΎΠ²Π°Π½ΠΈΡ, ΠΊΠΎΠ½ΡΡΡΡΠΊΡΠΈΠΉ ΠΈΠ»ΠΈ ΠΌΠ°ΡΠ΅ΡΠΈΠ°Π»ΠΎΠ². ΠΡΠΎΠ²Π΅ΡΠΊΠ° ΠΎΠ±ΠΎΡΡΠ΄ΠΎΠ²Π°Π½ΠΈΡ, ΠΊΠΎΠ½ΡΡΡΡΠΊΡΠΈΠΉ ΠΈΠ»ΠΈ ΠΌΠ°ΡΠ΅ΡΠΈΠ°Π»ΠΎΠ² Π΄Π»Ρ Π²ΡΡΠ²Π»Π΅Π½ΠΈΡ ΠΏΡΠΈΡΠΈΠ½ ΠΎΡΠΈΠ±ΠΎΠΊ ΠΈΠ»ΠΈ Π΄ΡΡΠ³ΠΈΡ ΠΏΡΠΎΠ±Π»Π΅ΠΌ ΠΈΠ»ΠΈ Π΄Π΅ΡΠ΅ΠΊΡΠΎΠ². | |
ΠΡΠΏΠΎΠ»Π½Π΅Π½ΠΈΠ΅ ΠΎΠ±ΡΠΈΡ
ΡΠΈΠ·ΠΈΡΠ΅ΡΠΊΠΈΡ
ΡΠΏΡΠ°ΠΆΠ½Π΅Π½ΠΈΠΉ. | |
ΠΠΎΠ½ΠΈΡΠΎΡΠΈΠ½Π³ ΠΏΡΠΎΡΠ΅ΡΡΠΎΠ², ΠΌΠ°ΡΠ΅ΡΠΈΠ°Π»ΠΎΠ² ΠΈΠ»ΠΈ ΠΎΠΊΡΡΠΆΠ΅Π½ΠΈΡ β ΠΠΎΠ½ΠΈΡΠΎΡΠΈΠ½Π³ ΠΈ Π°Π½Π°Π»ΠΈΠ· ΠΈΠ½ΡΠΎΡΠΌΠ°ΡΠΈΠΈ ΠΈΠ· ΠΌΠ°ΡΠ΅ΡΠΈΠ°Π»ΠΎΠ², ΡΠΎΠ±ΡΡΠΈΠΉ ΠΈΠ»ΠΈ ΠΎΠΊΡΡΠΆΠ°ΡΡΠ΅ΠΉ ΡΡΠ΅Π΄Ρ Π΄Π»Ρ ΠΎΠ±Π½Π°ΡΡΠΆΠ΅Π½ΠΈΡ ΠΈΠ»ΠΈ ΠΎΡΠ΅Π½ΠΊΠΈ ΠΏΡΠΎΠ±Π»Π΅ΠΌ. | |
ΠΡΠΈΠ½ΡΡΠΈΠ΅ ΡΠ΅ΡΠ΅Π½ΠΈΠΉ ΠΈ ΡΠ΅ΡΠ΅Π½ΠΈΠ΅ ΠΏΡΠΎΠ±Π»Π΅ΠΌ β Π°Π½Π°Π»ΠΈΠ· ΠΈΠ½ΡΠΎΡΠΌΠ°ΡΠΈΠΈ ΠΈ ΠΎΡΠ΅Π½ΠΊΠ° ΡΠ΅Π·ΡΠ»ΡΡΠ°ΡΠΎΠ² Π΄Π»Ρ Π²ΡΠ±ΠΎΡΠ° Π½Π°ΠΈΠ»ΡΡΡΠ΅Π³ΠΎ ΡΠ΅ΡΠ΅Π½ΠΈΡ ΠΈ ΡΠ΅ΡΠ΅Π½ΠΈΡ ΠΏΡΠΎΠ±Π»Π΅ΠΌ. | |
ΠΠ±ΡΠ΅Π½ΠΈΠ΅ Ρ ΡΡΠΊΠΎΠ²ΠΎΠ΄ΠΈΡΠ΅Π»ΡΠΌΠΈ, ΠΊΠΎΠ»Π»Π΅Π³Π°ΠΌΠΈ ΠΈΠ»ΠΈ ΠΏΠΎΠ΄ΡΠΈΠ½Π΅Π½Π½ΡΠΌΠΈ β ΠΡΠ΅Π΄ΠΎΡΡΠ°Π²Π»Π΅Π½ΠΈΠ΅ ΠΈΠ½ΡΠΎΡΠΌΠ°ΡΠΈΠΈ ΡΡΠΊΠΎΠ²ΠΎΠ΄ΠΈΡΠ΅Π»ΡΠΌ, ΠΊΠΎΠ»Π»Π΅Π³Π°ΠΌ ΠΈ ΠΏΠΎΠ΄ΡΠΈΠ½Π΅Π½Π½ΡΠΌ ΠΏΠΎ ΡΠ΅Π»Π΅ΡΠΎΠ½Ρ, Π² ΠΏΠΈΡΡΠΌΠ΅Π½Π½ΠΎΠΉ ΡΠΎΡΠΌΠ΅, ΠΏΠΎ ΡΠ»Π΅ΠΊΡΡΠΎΠ½Π½ΠΎΠΉ ΠΏΠΎΡΡΠ΅ ΠΈΠ»ΠΈ Π»ΠΈΡΠ½ΠΎ. | |
ΠΠ΄Π΅Π½ΡΠΈΡΠΈΠΊΠ°ΡΠΈΡ ΠΎΠ±ΡΠ΅ΠΊΡΠΎΠ², Π΄Π΅ΠΉΡΡΠ²ΠΈΠΉ ΠΈ ΡΠΎΠ±ΡΡΠΈΠΉ — ΠΠ΄Π΅Π½ΡΠΈΡΠΈΠΊΠ°ΡΠΈΡ ΠΈΠ½ΡΠΎΡΠΌΠ°ΡΠΈΠΈ ΠΏΡΡΠ΅ΠΌ ΠΊΠ»Π°ΡΡΠΈΡΠΈΠΊΠ°ΡΠΈΠΈ, ΠΎΡΠ΅Π½ΠΊΠΈ, ΡΠ°ΡΠΏΠΎΠ·Π½Π°Π²Π°Π½ΠΈΡ ΡΠ°Π·Π»ΠΈΡΠΈΠΉ ΠΈΠ»ΠΈ ΡΡ ΠΎΠ΄ΡΡΠ² ΠΈ ΠΎΠ±Π½Π°ΡΡΠΆΠ΅Π½ΠΈΡ ΠΈΠ·ΠΌΠ΅Π½Π΅Π½ΠΈΠΉ Π² ΠΎΠ±ΡΡΠΎΡΡΠ΅Π»ΡΡΡΠ²Π°Ρ ΠΈΠ»ΠΈ ΡΠΎΠ±ΡΡΠΈΡΡ . | |
Π Π΅ΠΌΠΎΠ½Ρ ΠΈ ΡΠ΅Ρ Π½ΠΈΡΠ΅ΡΠΊΠΎΠ΅ ΠΎΠ±ΡΠ»ΡΠΆΠΈΠ²Π°Π½ΠΈΠ΅ ΠΌΠ΅Ρ Π°Π½ΠΈΡΠ΅ΡΠΊΠΎΠ³ΠΎ ΠΎΠ±ΠΎΡΡΠ΄ΠΎΠ²Π°Π½ΠΈΡ — ΠΠ±ΡΠ»ΡΠΆΠΈΠ²Π°Π½ΠΈΠ΅, ΡΠ΅ΠΌΠΎΠ½Ρ, ΡΠ΅Π³ΡΠ»ΠΈΡΠΎΠ²ΠΊΠ° ΠΈ ΠΈΡΠΏΡΡΠ°Π½ΠΈΠ΅ ΠΌΠ°ΡΠΈΠ½, ΡΡΡΡΠΎΠΉΡΡΠ², Π΄Π²ΠΈΠΆΡΡΠΈΡ ΡΡ ΡΠ°ΡΡΠ΅ΠΉ ΠΈ ΠΎΠ±ΠΎΡΡΠ΄ΠΎΠ²Π°Π½ΠΈΡ, ΠΊΠΎΡΠΎΡΡΠ΅ ΡΠ°Π±ΠΎΡΠ°ΡΡ Π² ΠΎΡΠ½ΠΎΠ²Π½ΠΎΠΌ Π½Π° ΠΎΡΠ½ΠΎΠ²Π΅ ΠΌΠ΅Ρ Π°Π½ΠΈΡΠ΅ΡΠΊΠΈΡ (Π½Π΅ ΡΠ»Π΅ΠΊΡΡΠΎΠ½Π½ΡΡ ) ΠΏΡΠΈΠ½ΡΠΈΠΏΠΎΠ². | |
ΠΡΠ΅Π°ΡΠΈΠ²Π½ΠΎΠ΅ ΠΌΡΡΠ»Π΅Π½ΠΈΠ΅ β ΡΠ°Π·ΡΠ°Π±ΠΎΡΠΊΠ°, ΠΏΡΠΎΠ΅ΠΊΡΠΈΡΠΎΠ²Π°Π½ΠΈΠ΅ ΠΈΠ»ΠΈ ΡΠΎΠ·Π΄Π°Π½ΠΈΠ΅ Π½ΠΎΠ²ΡΡ ΠΏΡΠΈΠ»ΠΎΠΆΠ΅Π½ΠΈΠΉ, ΠΈΠ΄Π΅ΠΉ, ΠΎΡΠ½ΠΎΡΠ΅Π½ΠΈΠΉ, ΡΠΈΡΡΠ΅ΠΌ ΠΈΠ»ΠΈ ΠΏΡΠΎΠ΄ΡΠΊΡΠΎΠ², Π²ΠΊΠ»ΡΡΠ°Ρ ΡΠ²ΠΎΡΡΠ΅ΡΠΊΠΈΠΉ Π²ΠΊΠ»Π°Π΄. | |
ΠΠ±ΡΠ°Π±ΠΎΡΠΊΠ° ΠΈΠ½ΡΠΎΡΠΌΠ°ΡΠΈΠΈ. | |
ΠΡΠ΅Π½ΠΊΠ° ΠΈΠ½ΡΠΎΡΠΌΠ°ΡΠΈΠΈ Π΄Π»Ρ ΠΎΠΏΡΠ΅Π΄Π΅Π»Π΅Π½ΠΈΡ ΡΠΎΠΎΡΠ²Π΅ΡΡΡΠ²ΠΈΡ ΡΡΠ°Π½Π΄Π°ΡΡΠ°ΠΌ β ΠΈΡΠΏΠΎΠ»ΡΠ·ΠΎΠ²Π°Π½ΠΈΠ΅ ΡΠΎΠΎΡΠ²Π΅ΡΡΡΠ²ΡΡΡΠ΅ΠΉ ΠΈΠ½ΡΠΎΡΠΌΠ°ΡΠΈΠΈ ΠΈ ΠΈΠ½Π΄ΠΈΠ²ΠΈΠ΄ΡΠ°Π»ΡΠ½ΡΡ ΡΡΠΆΠ΄Π΅Π½ΠΈΠΉ Π΄Π»Ρ ΠΎΠΏΡΠ΅Π΄Π΅Π»Π΅Π½ΠΈΡ ΡΠΎΠ³ΠΎ, ΡΠΎΠΎΡΠ²Π΅ΡΡΡΠ²ΡΡΡ Π»ΠΈ ΡΠΎΠ±ΡΡΠΈΡ ΠΈΠ»ΠΈ ΠΏΡΠΎΡΠ΅ΡΡΡ Π·Π°ΠΊΠΎΠ½Π°ΠΌ, ΠΏΡΠ°Π²ΠΈΠ»Π°ΠΌ ΠΈΠ»ΠΈ ΡΡΠ°Π½Π΄Π°ΡΡΠ°ΠΌ. | |
ΠΡΠ³Π°Π½ΠΈΠ·Π°ΡΠΈΡ, ΠΏΠ»Π°Π½ΠΈΡΠΎΠ²Π°Π½ΠΈΠ΅ ΠΈ ΡΠ°ΡΡΡΠ°Π½ΠΎΠ²ΠΊΠ° ΠΏΡΠΈΠΎΡΠΈΡΠ΅ΡΠΎΠ² Π² ΡΠ°Π±ΠΎΡΠ΅ β Π Π°Π·ΡΠ°Π±ΠΎΡΠΊΠ° ΠΊΠΎΠ½ΠΊΡΠ΅ΡΠ½ΡΡ ΡΠ΅Π»Π΅ΠΉ ΠΈ ΠΏΠ»Π°Π½ΠΎΠ² Π΄Π»Ρ ΡΠ°ΡΡΡΠ°Π½ΠΎΠ²ΠΊΠΈ ΠΏΡΠΈΠΎΡΠΈΡΠ΅ΡΠΎΠ², ΠΎΡΠ³Π°Π½ΠΈΠ·Π°ΡΠΈΠΈ ΠΈ Π²ΡΠΏΠΎΠ»Π½Π΅Π½ΠΈΡ Π²Π°ΡΠ΅ΠΉ ΡΠ°Π±ΠΎΡΡ. | |
ΠΠ±Π½ΠΎΠ²Π»Π΅Π½ΠΈΠ΅ ΠΈ ΠΈΡΠΏΠΎΠ»ΡΠ·ΠΎΠ²Π°Π½ΠΈΠ΅ ΡΠ΅Π»Π΅Π²Π°Π½ΡΠ½ΡΡ Π·Π½Π°Π½ΠΈΠΉ. ΠΠΎΡΡΠΎΡΠ½Π½ΠΎΠ΅ ΠΎΠ±Π½ΠΎΠ²Π»Π΅Π½ΠΈΠ΅ ΡΠ΅Ρ Π½ΠΈΡΠ΅ΡΠΊΠΈΡ Π·Π½Π°Π½ΠΈΠΉ ΠΈ ΠΏΡΠΈΠΌΠ΅Π½Π΅Π½ΠΈΠ΅ Π½ΠΎΠ²ΡΡ Π·Π½Π°Π½ΠΈΠΉ Π² ΡΠ²ΠΎΠ΅ΠΉ ΡΠ°Π±ΠΎΡΠ΅. | |
ΠΡΠ΅Π½ΠΊΠ° ΠΊΠΎΠ»ΠΈΡΠ΅ΡΡΠ²Π΅Π½Π½ΡΡ
Ρ
Π°ΡΠ°ΠΊΡΠ΅ΡΠΈΡΡΠΈΠΊ ΠΏΡΠΎΠ΄ΡΠΊΡΠΎΠ², ΡΠΎΠ±ΡΡΠΈΠΉ ΠΈΠ»ΠΈ ΠΈΠ½ΡΠΎΡΠΌΠ°ΡΠΈΠΈ — ΠΡΠ΅Π½ΠΊΠ° ΡΠ°Π·ΠΌΠ΅ΡΠΎΠ², ΡΠ°ΡΡΡΠΎΡΠ½ΠΈΠΉ ΠΈ ΠΊΠΎΠ»ΠΈΡΠ΅ΡΡΠ²; ΠΈΠ»ΠΈ ΠΎΠΏΡΠ΅Π΄Π΅Π»Π΅Π½ΠΈΠ΅ Π²ΡΠ΅ΠΌΠ΅Π½ΠΈ, Π·Π°ΡΡΠ°Ρ, ΡΠ΅ΡΡΡΡΠΎΠ² ΠΈΠ»ΠΈ ΠΌΠ°ΡΠ΅ΡΠΈΠ°Π»ΠΎΠ², Π½Π΅ΠΎΠ±Ρ
ΠΎΠ΄ΠΈΠΌΡΡ
Π΄Π»Ρ Π²ΡΠΏΠΎΠ»Π½Π΅Π½ΠΈΡ ΡΠ°Π±ΠΎΡΠ΅ΠΉ Π΄Π΅ΡΡΠ΅Π»ΡΠ½ΠΎΡΡΠΈ. | |
ΠΠΊΡΠΏΠ»ΡΠ°ΡΠ°ΡΠΈΠΎΠ½Π½ΡΠ΅ ΡΡΠ°Π½ΡΠΏΠΎΡΡΠ½ΡΠ΅ ΡΡΠ΅Π΄ΡΡΠ²Π°, ΠΌΠ΅Ρ Π°Π½ΠΈΠ·ΠΈΡΠΎΠ²Π°Π½Π½ΡΠ΅ ΡΡΡΡΠΎΠΉΡΡΠ²Π° ΠΈΠ»ΠΈ ΠΎΠ±ΠΎΡΡΠ΄ΠΎΠ²Π°Π½ΠΈΠ΅ — ΠΠ²ΠΈΠΆΠ΅Π½ΠΈΠ΅, ΠΌΠ°Π½Π΅Π²ΡΠΈΡΠΎΠ²Π°Π½ΠΈΠ΅, Π½Π°Π²ΠΈΠ³Π°ΡΠΈΡ ΠΈΠ»ΠΈ ΡΠΏΡΠ°Π²Π»Π΅Π½ΠΈΠ΅ ΡΡΠ°Π½ΡΠΏΠΎΡΡΠ½ΡΠΌΠΈ ΡΡΠ΅Π΄ΡΡΠ²Π°ΠΌΠΈ ΠΈΠ»ΠΈ ΠΌΠ΅Ρ Π°Π½ΠΈΠ·ΠΈΡΠΎΠ²Π°Π½Π½ΡΠΌ ΠΎΠ±ΠΎΡΡΠ΄ΠΎΠ²Π°Π½ΠΈΠ΅ΠΌ, ΡΠ°ΠΊΠΈΠΌ ΠΊΠ°ΠΊ Π²ΠΈΠ»ΠΎΡΠ½ΡΠ΅ ΠΏΠΎΠ³ΡΡΠ·ΡΠΈΠΊΠΈ, ΠΏΠ°ΡΡΠ°ΠΆΠΈΡΡΠΊΠΈΠ΅ ΡΡΠ°Π½ΡΠΏΠΎΡΡΠ½ΡΠ΅ ΡΡΠ΅Π΄ΡΡΠ²Π°, ΡΠ°ΠΌΠΎΠ»Π΅ΡΡ ΠΈΠ»ΠΈ ΠΏΠ»Π°Π²ΡΡΠ΅Π΄ΡΡΠ²Π°. | |
ΠΠΎΠΊΡΠΌΠ΅Π½ΡΠΈΡΠΎΠ²Π°Π½ΠΈΠ΅/ΡΠ΅Π³ΠΈΡΡΡΠ°ΡΠΈΡ ΠΈΠ½ΡΠΎΡΠΌΠ°ΡΠΈΠΈ — Π²Π²ΠΎΠ΄, ΡΠ°ΡΡΠΈΡΡΠΎΠ²ΠΊΠ°, Π·Π°ΠΏΠΈΡΡ, Ρ ΡΠ°Π½Π΅Π½ΠΈΠ΅ ΠΈΠ»ΠΈ Π²Π΅Π΄Π΅Π½ΠΈΠ΅ ΠΈΠ½ΡΠΎΡΠΌΠ°ΡΠΈΠΈ Π² ΠΏΠΈΡΡΠΌΠ΅Π½Π½ΠΎΠΉ ΠΈΠ»ΠΈ ΡΠ»Π΅ΠΊΡΡΠΎΠ½Π½ΠΎΠΉ/ΠΌΠ°Π³Π½ΠΈΡΠ½ΠΎΠΉ ΡΠΎΡΠΌΠ΅. | |
ΠΡΠ΅Π½ΠΊΠ° ΠΊΠ°ΡΠ΅ΡΡΠ²Π° ΠΎΠ±ΡΠ΅ΠΊΡΠΎΠ², ΡΡΠ»ΡΠ³ ΠΈΠ»ΠΈ Π»ΡΠ΄Π΅ΠΉ — ΠΡΠ΅Π½ΠΊΠ° ΡΠ΅Π½Π½ΠΎΡΡΠΈ, Π²Π°ΠΆΠ½ΠΎΡΡΠΈ ΠΈΠ»ΠΈ ΠΊΠ°ΡΠ΅ΡΡΠ²Π° Π²Π΅ΡΠ΅ΠΉ ΠΈΠ»ΠΈ Π»ΡΠ΄Π΅ΠΉ. | |
ΠΠ±ΡΡΠ΅Π½ΠΈΠ΅ ΠΈ ΠΎΠ±ΡΡΠ΅Π½ΠΈΠ΅ Π΄ΡΡΠ³ΠΈΡ
β ΠΡΡΠ²Π»Π΅Π½ΠΈΠ΅ ΠΎΠ±ΡΠ°Π·ΠΎΠ²Π°ΡΠ΅Π»ΡΠ½ΡΡ
ΠΏΠΎΡΡΠ΅Π±Π½ΠΎΡΡΠ΅ΠΉ Π΄ΡΡΠ³ΠΈΡ
, ΡΠ°Π·ΡΠ°Π±ΠΎΡΠΊΠ° ΡΠΎΡΠΌΠ°Π»ΡΠ½ΡΡ
ΠΎΠ±ΡΠ°Π·ΠΎΠ²Π°ΡΠ΅Π»ΡΠ½ΡΡ
ΠΈΠ»ΠΈ ΠΎΠ±ΡΡΠ°ΡΡΠΈΡ
ΠΏΡΠΎΠ³ΡΠ°ΠΌΠΌ ΠΈΠ»ΠΈ ΠΊΠ»Π°ΡΡΠΎΠ², Π° ΡΠ°ΠΊΠΆΠ΅ ΠΎΠ±ΡΡΠ΅Π½ΠΈΠ΅ ΠΈΠ»ΠΈ ΠΈΠ½ΡΡΡΡΠΊΡΠΈΡΠΎΠ²Π°Π½ΠΈΠ΅ Π΄ΡΡΠ³ΠΈΡ
. | |
Π£ΡΡΠ°Π½ΠΎΠ²Π»Π΅Π½ΠΈΠ΅ ΠΈ ΠΏΠΎΠ΄Π΄Π΅ΡΠΆΠ°Π½ΠΈΠ΅ ΠΌΠ΅ΠΆΠ»ΠΈΡΠ½ΠΎΡΡΠ½ΡΡ ΠΎΡΠ½ΠΎΡΠ΅Π½ΠΈΠΉ — Π Π°Π·Π²ΠΈΡΠΈΠ΅ ΠΊΠΎΠ½ΡΡΡΡΠΊΡΠΈΠ²Π½ΡΡ ΠΈ ΡΠΎΠ²ΠΌΠ΅ΡΡΠ½ΡΡ ΡΠ°Π±ΠΎΡΠΈΡ ΠΎΡΠ½ΠΎΡΠ΅Π½ΠΈΠΉ Ρ Π΄ΡΡΠ³ΠΈΠΌΠΈ Π»ΡΠ΄ΡΠΌΠΈ ΠΈ ΠΏΠΎΠ΄Π΄Π΅ΡΠΆΠ°Π½ΠΈΠ΅ ΠΈΡ Ρ ΡΠ΅ΡΠ΅Π½ΠΈΠ΅ΠΌ Π²ΡΠ΅ΠΌΠ΅Π½ΠΈ. | |
Π Π°Π±ΠΎΡΠ° Ρ ΠΊΠΎΠΌΠΏΡΡΡΠ΅ΡΠ°ΠΌΠΈ — ΠΡΠΏΠΎΠ»ΡΠ·ΠΎΠ²Π°Π½ΠΈΠ΅ ΠΊΠΎΠΌΠΏΡΡΡΠ΅ΡΠΎΠ² ΠΈ ΠΊΠΎΠΌΠΏΡΡΡΠ΅ΡΠ½ΡΡ ΡΠΈΡΡΠ΅ΠΌ (Π²ΠΊΠ»ΡΡΠ°Ρ Π°ΠΏΠΏΠ°ΡΠ°ΡΠ½ΠΎΠ΅ ΠΈ ΠΏΡΠΎΠ³ΡΠ°ΠΌΠΌΠ½ΠΎΠ΅ ΠΎΠ±Π΅ΡΠΏΠ΅ΡΠ΅Π½ΠΈΠ΅) Π΄Π»Ρ ΠΏΡΠΎΠ³ΡΠ°ΠΌΠΌΠΈΡΠΎΠ²Π°Π½ΠΈΡ, Π½Π°ΠΏΠΈΡΠ°Π½ΠΈΡ ΠΏΡΠΎΠ³ΡΠ°ΠΌΠΌΠ½ΠΎΠ³ΠΎ ΠΎΠ±Π΅ΡΠΏΠ΅ΡΠ΅Π½ΠΈΡ, Π½Π°ΡΡΡΠΎΠΉΠΊΠΈ ΡΡΠ½ΠΊΡΠΈΠΉ, Π²Π²ΠΎΠ΄Π° Π΄Π°Π½Π½ΡΡ ΠΈΠ»ΠΈ ΠΎΠ±ΡΠ°Π±ΠΎΡΠΊΠΈ ΠΈΠ½ΡΠΎΡΠΌΠ°ΡΠΈΠΈ. | |
ΠΠ½Π°Π»ΠΈΠ· Π΄Π°Π½Π½ΡΡ ΠΈΠ»ΠΈ ΠΈΠ½ΡΠΎΡΠΌΠ°ΡΠΈΠΈ. ΠΠΏΡΠ΅Π΄Π΅Π»Π΅Π½ΠΈΠ΅ ΠΎΡΠ½ΠΎΠ²Π½ΡΡ ΠΏΡΠΈΠ½ΡΠΈΠΏΠΎΠ², ΠΏΡΠΈΡΠΈΠ½ ΠΈΠ»ΠΈ ΡΠ°ΠΊΡΠΎΠ² ΠΈΠ½ΡΠΎΡΠΌΠ°ΡΠΈΠΈ ΠΏΡΡΠ΅ΠΌ ΡΠ°Π·Π±ΠΈΠ΅Π½ΠΈΡ ΠΈΠ½ΡΠΎΡΠΌΠ°ΡΠΈΠΈ ΠΈΠ»ΠΈ Π΄Π°Π½Π½ΡΡ Π½Π° ΠΎΡΠ΄Π΅Π»ΡΠ½ΡΠ΅ ΡΠ°ΡΡΠΈ. | |
Π Π°Π·ΡΠ°Π±ΠΎΡΠΊΠ° ΡΠ΅Π»Π΅ΠΉ ΠΈ ΡΡΡΠ°ΡΠ΅Π³ΠΈΠΉ. | |
ΠΠΎΡΡΠΈΠ½Π³ ΠΈ ΡΠ°Π·Π²ΠΈΡΠΈΠ΅ Π΄ΡΡΠ³ΠΈΡ β ΠΡΡΠ²Π»Π΅Π½ΠΈΠ΅ ΠΏΠΎΡΡΠ΅Π±Π½ΠΎΡΡΠ΅ΠΉ Π΄ΡΡΠ³ΠΈΡ Π² ΡΠ°Π·Π²ΠΈΡΠΈΠΈ ΠΈ ΠΎΠ±ΡΡΠ΅Π½ΠΈΠ΅, Π½Π°ΡΡΠ°Π²Π½ΠΈΡΠ΅ΡΡΠ²ΠΎ ΠΈΠ»ΠΈ ΠΈΠ½Π°Ρ ΠΏΠΎΠΌΠΎΡΡ Π΄ΡΡΠ³ΠΈΠΌ Π² ΡΠ»ΡΡΡΠ΅Π½ΠΈΠΈ ΠΈΡ Π·Π½Π°Π½ΠΈΠΉ ΠΈΠ»ΠΈ Π½Π°Π²ΡΠΊΠΎΠ². | |
ΠΠ½ΡΠ΅ΡΠΏΡΠ΅ΡΠ°ΡΠΈΡ Π·Π½Π°ΡΠ΅Π½ΠΈΡ ΠΈΠ½ΡΠΎΡΠΌΠ°ΡΠΈΠΈ Π΄Π»Ρ Π΄ΡΡΠ³ΠΈΡ — ΠΠ΅ΡΠ΅Π²ΠΎΠ΄ ΠΈΠ»ΠΈ ΠΎΠ±ΡΡΡΠ½Π΅Π½ΠΈΠ΅ ΡΠΎΠ³ΠΎ, ΡΡΠΎ ΠΎΠ·Π½Π°ΡΠ°Π΅Ρ ΠΈΠ½ΡΠΎΡΠΌΠ°ΡΠΈΡ ΠΈ ΠΊΠ°ΠΊ Π΅Π΅ ΠΌΠΎΠΆΠ½ΠΎ ΠΈΡΠΏΠΎΠ»ΡΠ·ΠΎΠ²Π°ΡΡ. | |
Π Π΅ΠΌΠΎΠ½Ρ ΠΈ ΡΠ΅Ρ Π½ΠΈΡΠ΅ΡΠΊΠΎΠ΅ ΠΎΠ±ΡΠ»ΡΠΆΠΈΠ²Π°Π½ΠΈΠ΅ ΡΠ»Π΅ΠΊΡΡΠΎΠ½Π½ΠΎΠ³ΠΎ ΠΎΠ±ΠΎΡΡΠ΄ΠΎΠ²Π°Π½ΠΈΡ — ΠΠ±ΡΠ»ΡΠΆΠΈΠ²Π°Π½ΠΈΠ΅, ΡΠ΅ΠΌΠΎΠ½Ρ, ΠΊΠ°Π»ΠΈΠ±ΡΠΎΠ²ΠΊΠ°, ΡΠ΅Π³ΡΠ»ΠΈΡΠΎΠ²ΠΊΠ°, ΡΠΎΡΠ½Π°Ρ Π½Π°ΡΡΡΠΎΠΉΠΊΠ° ΠΈΠ»ΠΈ ΠΈΡΠΏΡΡΠ°Π½ΠΈΠ΅ ΠΌΠ°ΡΠΈΠ½, ΡΡΡΡΠΎΠΉΡΡΠ² ΠΈ ΠΎΠ±ΠΎΡΡΠ΄ΠΎΠ²Π°Π½ΠΈΡ, ΠΊΠΎΡΠΎΡΡΠ΅ ΡΠ°Π±ΠΎΡΠ°ΡΡ Π² ΠΎΡΠ½ΠΎΠ²Π½ΠΎΠΌ Π½Π° ΠΎΡΠ½ΠΎΠ²Π΅ ΡΠ»Π΅ΠΊΡΡΠΈΡΠ΅ΡΠΊΠΈΡ ΠΈΠ»ΠΈ ΡΠ»Π΅ΠΊΡΡΠΎΠ½Π½ΡΡ (Π½Π΅ ΠΌΠ΅Ρ Π°Π½ΠΈΡΠ΅ΡΠΊΠΈΡ ) ΠΏΡΠΈΠ½ΡΠΈΠΏΠΎΠ². | |
Π Π°Π·Π²ΠΈΡΠΈΠ΅ ΠΈ ΡΠΎΠ·Π΄Π°Π½ΠΈΠ΅ ΠΊΠΎΠΌΠ°Π½Π΄ β ΠΠΎΠΎΡΡΠ΅Π½ΠΈΠ΅ ΠΈ ΡΠΊΡΠ΅ΠΏΠ»Π΅Π½ΠΈΠ΅ Π²Π·Π°ΠΈΠΌΠ½ΠΎΠ³ΠΎ Π΄ΠΎΠ²Π΅ΡΠΈΡ, ΡΠ²Π°ΠΆΠ΅Π½ΠΈΡ ΠΈ ΡΠΎΡΡΡΠ΄Π½ΠΈΡΠ΅ΡΡΠ²Π° ΠΌΠ΅ΠΆΠ΄Ρ ΡΠ»Π΅Π½Π°ΠΌΠΈ ΠΊΠΎΠΌΠ°Π½Π΄Ρ. | |
ΠΠ»Π°Π½ΠΈΡΠΎΠ²Π°Π½ΠΈΠ΅ ΡΠ°Π±ΠΎΡΡ ΠΈ ΠΌΠ΅ΡΠΎΠΏΡΠΈΡΡΠΈΠΉ β ΠΠ»Π°Π½ΠΈΡΠΎΠ²Π°Π½ΠΈΠ΅ ΠΌΠ΅ΡΠΎΠΏΡΠΈΡΡΠΈΠΉ, ΠΏΡΠΎΠ³ΡΠ°ΠΌΠΌ ΠΈ ΠΌΠ΅ΡΠΎΠΏΡΠΈΡΡΠΈΠΉ, Π° ΡΠ°ΠΊΠΆΠ΅ ΡΠ°Π±ΠΎΡΡ Π΄ΡΡΠ³ΠΈΡ . | |
ΠΠΎΠΎΡΠ΄ΠΈΠ½Π°ΡΠΈΡ ΡΠ°Π±ΠΎΡΡ ΠΈ Π΄Π΅ΡΡΠ΅Π»ΡΠ½ΠΎΡΡΠΈ Π΄ΡΡΠ³ΠΈΡ β ΠΡΠΈΠ²Π»Π΅ΡΠ΅Π½ΠΈΠ΅ ΡΠ»Π΅Π½ΠΎΠ² Π³ΡΡΠΏΠΏΡ ΠΊ ΡΠΎΠ²ΠΌΠ΅ΡΡΠ½ΠΎΠΉ ΡΠ°Π±ΠΎΡΠ΅ Π΄Π»Ρ Π²ΡΠΏΠΎΠ»Π½Π΅Π½ΠΈΡ Π·Π°Π΄Π°Ρ. |
ΠΠΈΡΠ°ΠΉ ΠΡΡΠ΅Π·Π½ΠΎΠΉ Π΄ΠΈΡΠΊ ΠΡΠΎΠΈΠ·Π²ΠΎΠ΄ΠΈΡΠ΅Π»Ρ ΠΌΠ°ΡΠΈΠ½Ρ Π΄Π»Ρ ΠΏΡΠΎΠΈΠ·Π²ΠΎΠ΄ΡΡΠ²Π° ΠΎΡΡΠ΅Π·Π½ΡΡ Π΄ΠΈΡΠΊΠΎΠ², ΠΠ°ΡΠΈΠ½Π° Π΄Π»Ρ ΠΏΡΠΎΠΈΠ·Π²ΠΎΠ΄ΡΡΠ²Π° ΠΎΡΡΠ΅Π·Π½ΡΡ Π΄ΠΈΡΠΊΠΎΠ² Ρ Π°Π±ΡΠ°Π·ΠΈΠ²Π½ΡΠΌ ΠΌΠ°ΡΠ΅ΡΠΈΠ°Π»ΠΎΠΌ, ΠΠΎΡΡΠ°Π²ΡΠΈΠΊ ΠΎΠ±ΠΎΡΡΠ΄ΠΎΠ²Π°Π½ΠΈΡ Π΄Π»Ρ ΠΏΡΠΎΠΈΠ·Π²ΠΎΠ΄ΡΡΠ²Π° ΡΠ»ΠΈΡΠΎΠ²Π°Π»ΡΠ½ΡΡ Π΄ΠΈΡΠΊΠΎΠ²
Π‘ΡΠ°Π½ΠΎΠΊ Π΄Π»Ρ ΠΏΡΠΎΠΈΠ·Π²ΠΎΠ΄ΡΡΠ²Π° ΠΎΡΡΠ΅Π·Π½ΡΡ Π΄ΠΈΡΠΊΠΎΠ² Π‘ΡΠ°Π½ΠΎΠΊ Π΄Π»Ρ ΠΏΡΠΎΠΈΠ·Π²ΠΎΠ΄ΡΡΠ²Π° ΡΠ»ΠΈΡΠΎΠ²Π°Π»ΡΠ½ΡΡ Π΄ΠΈΡΠΊΠΎΠ² Π‘ΡΠ°Π½ΠΎΠΊ Π΄Π»Ρ ΠΏΡΠΎΠΈΠ·Π²ΠΎΠ΄ΡΡΠ²Π° ΠΎΡΡΠ΅Π·Π½ΡΡ Π΄ΠΈΡΠΊΠΎΠ²
ΠΠΈΠ΄Π΅ΠΎ
Π‘Π²ΡΠΆΠΈΡΠ΅ΡΡ ΡΠ΅ΠΉΡΠ°Ρ
ΠΠΈΠ΄Π΅ΠΎ
Π‘Π²ΡΠΆΠΈΡΠ΅ΡΡ ΡΠ΅ΠΉΡΠ°Ρ
ΠΠΈΠ΄Π΅ΠΎ
Π‘Π²ΡΠΆΠΈΡΠ΅ΡΡ ΡΠ΅ΠΉΡΠ°Ρ
ΠΠΈΠ΄Π΅ΠΎ
Π‘Π²ΡΠΆΠΈΡΠ΅ΡΡ ΡΠ΅ΠΉΡΠ°Ρ
Π‘Π²ΡΠΆΠΈΡΠ΅ΡΡ ΡΠ΅ΠΉΡΠ°Ρ
Π‘Π²ΡΠΆΠΈΡΠ΅ΡΡ ΡΠ΅ΠΉΡΠ°Ρ
Π‘Π²ΡΠΆΠΈΡΠ΅ΡΡ ΡΠ΅ΠΉΡΠ°Ρ
Π‘Π²ΡΠΆΠΈΡΠ΅ΡΡ ΠΏΡΡΠΌΠΎ ΡΠ΅ΠΉΡΠ°Ρ
ΠΠ°ΡΠΈΠ½Π° Ρ Π»Π΅ΠΏΠ΅ΡΡΠΊΠΎΠ²ΡΠΌ Π΄ΠΈΡΠΊΠΎΠΌ ΠΠ°ΡΠΈΠ½Π° Ρ Π»Π΅ΠΏΠ΅ΡΡΠΊΠΎΠ²ΡΠΌ Π΄ΠΈΡΠΊΠΎΠΌ ΠΠ°ΡΠΈΠ½Π° Π΄Π»Ρ ΡΠ½ΡΡΠΈΡ ΡΠΊΡΡ Ρ Π°Π±ΡΠ°Π·ΠΈΠ²Π½ΠΎΠΉ Π»Π΅Π½ΡΠΎΠΉ ΠΠ°ΡΠΈΠ½Π° Π΄Π»Ρ ΠΏΡΠΎΠ΄ΠΎΠ»ΡΠ½ΠΎΠΉ ΡΠ΅Π·ΠΊΠΈ Ρ Π°Π±ΡΠ°Π·ΠΈΠ²Π½ΠΎΠΉ Π»Π΅Π½ΡΠΎΠΉ ΠΠ°ΡΠΈΠ½Π° Π΄Π»Ρ ΠΏΡΠ΅ΡΡΠΎΠ²Π°Π½ΠΈΡ Ρ Π°Π±ΡΠ°Π·ΠΈΠ²Π½ΠΎΠΉ Π»Π΅Π½ΡΠΎΠΉ
ΠΠΈΠ΄Π΅ΠΎ
Π‘Π²ΡΠΆΠΈΡΠ΅ΡΡ ΡΠ΅ΠΉΡΠ°Ρ
ΠΠΈΠ΄Π΅ΠΎ
Π‘Π²ΡΠΆΠΈΡΠ΅ΡΡ ΡΠ΅ΠΉΡΠ°Ρ
ΠΠΈΠ΄Π΅ΠΎ
Π‘Π²ΡΠΆΠΈΡΠ΅ΡΡ ΡΠ΅ΠΉΡΠ°Ρ
ΠΠΈΠ΄Π΅ΠΎ
Π‘Π²ΡΠΆΠΈΡΠ΅ΡΡ ΡΠ΅ΠΉΡΠ°Ρ
ΠΠΈΠ΄Π΅ΠΎ
Π‘Π²ΡΠΆΠΈΡΠ΅ΡΡ ΡΠ΅ΠΉΡΠ°Ρ
Π‘Π²ΡΠΆΠΈΡΠ΅ΡΡ ΡΠ΅ΠΉΡΠ°Ρ
ΠΠΈΠ΄Π΅ΠΎ
Π‘Π²ΡΠΆΠΈΡΠ΅ΡΡ ΡΠ΅ΠΉΡΠ°Ρ
ΠΠΈΠ΄Π΅ΠΎ
Π‘Π²ΡΠΆΠΈΡΠ΅ΡΡ ΠΏΡΡΠΌΠΎ ΡΠ΅ΠΉΡΠ°Ρ
Π’ΠΎΡΠΈΠ»ΡΠ½ΡΠΉ ΠΊΠ°ΠΌΠ΅Π½Ρ ΠΠ°ΡΠ»ΡΠ½ΡΠΉ ΠΊΠ°ΠΌΠ΅Π½Ρ ΠΠ°Π»ΠΎΡΠΊΠΈ Π΄Π»Ρ ΠΏΡΠ°Π²ΠΊΠΈ Π¨Π»ΠΈΡΠΎΠ²Π°Π»ΡΠ½ΡΠ΅ ΠΏΠ°Π»ΠΎΡΠΊΠΈ ΠΡΡΠ΅Π·Π½ΠΎΠΉ Π΄ΠΈΡΠΊ Π’ΠΎΡΠΈΠ»ΡΠ½ΡΠΉ ΠΊΡΡΠ³
Π‘Π²ΡΠΆΠΈΡΠ΅ΡΡ ΡΠ΅ΠΉΡΠ°Ρ
Π‘Π²ΡΠΆΠΈΡΠ΅ΡΡ ΡΠ΅ΠΉΡΠ°Ρ
Π‘Π²ΡΠΆΠΈΡΠ΅ΡΡ ΡΠ΅ΠΉΡΠ°Ρ
Π‘Π²ΡΠΆΠΈΡΠ΅ΡΡ ΡΠ΅ΠΉΡΠ°Ρ
Π‘Π²ΡΠΆΠΈΡΠ΅ΡΡ ΡΠ΅ΠΉΡΠ°Ρ
Π‘Π²ΡΠΆΠΈΡΠ΅ΡΡ ΡΠ΅ΠΉΡΠ°Ρ
Π‘Π²ΡΠΆΠΈΡΠ΅ΡΡ ΡΠ΅ΠΉΡΠ°Ρ
Π‘Π²ΡΠΆΠΈΡΠ΅ΡΡ ΡΠ΅ΠΉΡΠ°Ρ
ΠΡΠΎΡΠΈΠ»Ρ ΠΊΠΎΠΌΠΏΠ°Π½ΠΈΠΈ
{{ util.
each(imageUrls, ΡΡΠ½ΠΊΡΠΈΡ(imageUrl){}}
{{ }) }}
{{ Π΅ΡΠ»ΠΈ (ΠΈΠ·ΠΎΠ±ΡΠ°ΠΆΠ΅Π½ΠΈΠ΅Urls.length > 1){ }}
{{ } }}
| ΠΠΈΠ΄ Π±ΠΈΠ·Π½Π΅ΡΠ°: | ΠΡΠΎΠΈΠ·Π²ΠΎΠ΄ΠΈΡΠ΅Π»Ρ/Π€Π°Π±ΡΠΈΠΊΠ° | |
| ΠΡΠ½ΠΎΠ²Π½ΡΠ΅ ΠΏΡΠΎΠ΄ΡΠΊΡΡ: | ΠΡΡΠ΅Π·Π½ΠΎΠΉ Π΄ΠΈΡΠΊ Π‘ΡΠ°Π½ΠΎΠΊ Π΄Π»Ρ ΠΈΠ·Π³ΠΎΡΠΎΠ²Π»Π΅Π½ΠΈΡ ΠΎΡΡΠ΅Π·Π½ΡΡ
Π΄ΠΈΡΠΊΠΎΠ² , ΠΠ°ΡΠΈΠ½Π° Π΄Π»Ρ ΠΏΡΠΎΠΈΠ·Π²ΠΎΠ΄ΡΡΠ²Π° Π°Π±ΡΠ°Π·ΠΈΠ²Π½ΡΡ Π΄ΠΈΡΠΊΠΎΠ² , . .. | |
| ΠΠ°ΡΠ΅Π³ΠΈΡΡΡΠΈΡΠΎΠ²Π°Π½Π½ΡΠΉ ΠΊΠ°ΠΏΠΈΡΠ°Π»: | 1000000 ΡΠ°Π½Π΅ΠΉ | |
| ΠΠ»ΠΎΡΠ°Π΄Ρ Π·Π°Π²ΠΎΠ΄Π°: | 101~500 ΠΊΠ²Π°Π΄ΡΠ°ΡΠ½ΡΡ ΠΌΠ΅ΡΡΠΎΠ² | |
| Π‘Π΅ΡΡΠΈΡΠΈΠΊΠ°ΡΠΈΡ ΡΠΈΡΡΠ΅ΠΌΡ ΠΌΠ΅Π½Π΅Π΄ΠΆΠΌΠ΅Π½ΡΠ°: | ΠΠ‘Π 9001 | |
| Π‘ΡΠ΅Π΄Π½Π΅Π΅ Π²ΡΠ΅ΠΌΡ Π²ΡΠΏΠΎΠ»Π½Π΅Π½ΠΈΡ: | ΠΡΠ΅ΠΌΡ Π²ΡΠΏΠΎΠ»Π½Π΅Π½ΠΈΡ Π·Π°ΠΊΠ°Π·Π° Π² ΠΏΠΈΠΊΠΎΠ²ΡΠΉ ΡΠ΅Π·ΠΎΠ½: 3-6 ΠΌΠ΅ΡΡΡΠ΅Π² ΠΡΠ΅ΠΌΡ Π²ΡΠΏΠΎΠ»Π½Π΅Π½ΠΈΡ Π·Π°ΠΊΠ°Π·Π° Π² ΠΌΠ΅ΠΆΡΠ΅Π·ΠΎΠ½ΡΠ΅: 1-3 ΠΌΠ΅ΡΡΡΠ° |
ΠΠ½ΡΠΎΡΠΌΠ°ΡΠΈΡ ΠΎ ΠΊΠΎΠΌΠΏΠ°Π½ΠΈΠΈ:
ISHARP ABRASIVES TOOLS SCIENCE INSTITUTE ΡΠ²Π»ΡΠ΅ΡΡΡ Π²Π΅Π΄ΡΡΠΈΠΌ ΠΏΠΎΡΡΠ°Π²ΡΠΈΠΊΠΎΠΌ ΡΠ»ΠΈΡΠΎΠ²Π°Π»ΡΠ½ΡΡ
ΡΠ΅ΡΠ΅Π½ΠΈΠΉ Ρ 1991.
Π£ Π½Π°Ρ Π΅ΡΡΡ 25-Π»Π΅ΡΠ½ΠΈΠΉ ΠΎΠΏΡΡ ΠΏΡΠΎΠΈΠ·Π²ΠΎΠ΄ΡΡΠ²Π° Π°Π±ΡΠ°Π·ΠΈΠ²Π½ΠΎΠ³ΠΎ ΠΎΠ±ΠΎΡΡΠ΄ΠΎΠ²Π°Π½ΠΈΡ. ΠΡΡΠ»Π΅Π΄ΠΎΠ²Π°ΡΠ΅Π»ΡΡΠΊΠ°Ρ Π³ΡΡΠΏΠΏΠ° ΡΠΎΡΡΠΎΠΈΡ ΠΈΠ· ΠΎΠΏΡΡΠ½ΡΡ
ΠΈΠ½ΠΆΠ΅Π½Π΅ΡΠΎΠ²-Π°Π±ΡΠ°Π·ΠΈΠ²ΠΈΡΡΠΎΠ². Π£ Π½Π°Ρ Π΅ΡΡΡ Π·Π°Π²ΠΎΠ΄Ρ, ΠΏΡΠΎΠΈΠ·Π²ΠΎΠ΄ΡΡΠΈΠ΅ ΠΈ ΠΏΡΠΎΠΈΠ·Π²ΠΎΠ΄ΡΡΠΈΠ΅ ΡΠ»ΠΈΡΠΎΠ²Π°Π»ΡΠ½ΡΠ΅ ΠΊΡΡΠ³ΠΈ, Π°Π±ΡΠ°Π·ΠΈΠ²Ρ Ρ ΠΏΠΎΠΊΡΡΡΠΈΠ΅ΠΌ ΠΈ Π°ΠΊΡΠ΅ΡΡΡΠ°ΡΡ. ISharp ΠΏΠΎΠΌΠΎΠ³Π°Π΅Ρ ΠΏΠΎΠ»ΡΠ·ΠΎΠ²Π°ΡΠ΅Π»Ρ ΠΏΠΎΠ²ΡΡΠΈΡΡ ΡΡΡΠ΅ΠΊΡΠΈΠ²Π½ΠΎΡΡΡ ΠΈ ΠΊΠ°ΡΠ΅ΡΡΠ²ΠΎ ΡΠ»ΠΈΡΠΎΠ²Π°Π½ΠΈΡ, ΡΠ½ΠΈΠ·ΠΈΡΡ Π·Π°ΡΡΠ°ΡΡ Π½Π° ΡΠ»ΠΈΡΠΎΠ²Π°Π½ΠΈΠ΅, ΠΏΠΎΠ²ΡΡΠΈΡΡ ΡΠ²ΠΎΡ ΠΊΠΎΠ½ΠΊΡΡΠ΅Π½ΡΠΎΡΠΏΠΎΡΠΎΠ±Π½ΠΎΡΡΡ ΠΈ Π΄ΠΎΡΡΠΈΡΡ ΡΠ²ΠΎΠ΅ΠΉ ΡΠ΅Π½Π½ΠΎΡΡΠΈ.
ΠΡΠ½ΠΎΠ²Π½Π°Ρ ΠΏΡΠΎΠ΄ΡΠΊΡΠΈΡ ISharp:
…
ΠΡΠΎΡΠΌΠΎΡΡΠ΅ΡΡ Π²ΡΠ΅
Π‘Π΅ΡΡΠΈΡΠΈΠΊΠ°ΡΡ
9ΠΡΠ΅Π΄ΠΌΠ΅ΡΡ
Π‘ΡΠ°Π½ΠΎΠΊ Π΄Π»Ρ ΠΈΠ·Π³ΠΎΡΠΎΠ²Π»Π΅Π½ΠΈΡ ΠΎΡΡΠ΅Π·Π½ΡΡ ΠΊΡΡΠ³ΠΎΠ² CE
ΠΠ°ΡΠΈΠ½Π° Π΄Π»Ρ ΠΈΠ·Π³ΠΎΡΠΎΠ²Π»Π΅Π½ΠΈΡ Π»Π΅ΠΏΠ΅ΡΡΠΊΠΎΠ²ΡΡ Π΄ΠΈΡΠΊΠΎΠ² Π‘Π΅ΡΡΠΈΡΠΈΠΊΠ°Ρ CE
Π Π°Π·ΡΠ΅Π·Π½ΠΎΠΉ ΡΡΠ°Π½ΠΎΠΊ CE
Π¨Π»ΠΈΡΠΎΠ²Π°Π»ΡΠ½ΡΠΉ ΡΡΠ°Π½ΠΎΠΊ CE
ΠΠ±ΡΠ°Π·ΠΈΠ²Π½ΡΠΉ Π»Π΅Π½ΡΠΎΡΠ½ΡΠΉ ΠΏΡΠ΅ΡΡ CE
ΠΠ°ΡΠΈΠ½Π° Π΄Π»Ρ ΠΏΠΎΠΏΠ΅ΡΠ΅ΡΠ½ΠΎΠΉ ΡΠ΅Π·ΠΊΠΈ CE
Π’Π΅ΡΡΠ΅Ρ ΡΡΠ°ΡΠΈΡΠ΅ΡΠΊΠΎΠ³ΠΎ Π±Π°Π»Π°Π½ΡΠ° CE
ΠΠ»Π΅ΠΊΡΡΠΈΡΠ΅ΡΠΊΠ°Ρ ΡΡΡΠΈΠ»ΡΠ½Π°Ρ ΠΏΠ΅ΡΡ CE
ΠΠ°ΡΠΈΠ½Π° Π΄Π»Ρ ΠΈΡΠΏΡΡΠ°Π½ΠΈΡ ΠΏΡΠΎΡΠ½ΠΎΡΡΠΈ Π½Π° Π²ΡΠ°ΡΠ΅Π½ΠΈΠ΅ CE
ΠΠΎΡΠ»ΠΈΡΠ΅ ΠΠ°ΡΠ΅ ΡΠΎΠΎΠ±ΡΠ΅Π½ΠΈΠ΅ ΡΡΠΎΠΌΡ ΠΏΠΎΡΡΠ°Π²ΡΠΈΠΊΡ
* ΠΡ:
* ΠΠΎΠΌΡ:
ΠΠΈΡΡ ΠΠ½Π½ΠΈ
* Π‘ΠΎΠΎΠ±ΡΠ΅Π½ΠΈΠ΅:
ΠΠ²Π΅Π΄ΠΈΡΠ΅ ΠΎΡ 20 Π΄ΠΎ 4000 ΡΠΈΠΌΠ²ΠΎΠ»ΠΎΠ².
ΠΡΠΏΠΎΠ»ΡΠ·ΠΎΠ²Π°Π½ΠΈΠ΅ ΡΠ»Π΅ΠΊΡΡΠΎΠΌΠ΅Ρ
Π°Π½ΠΈΡΠ΅ΡΠΊΠΈΡ
Π³ΠΈΠ»ΡΠΎΡΠΈΠ½ ΠΏΠΎΠ·Π²ΠΎΠ»ΡΠ΅Ρ ΡΠ°Π±ΠΎΡΠ°ΡΡ Ρ Π±ΠΎΠ»Π΅Π΅ Π²ΡΡΠΎΠΊΠΎΠΉ ΠΏΡΠΎΠΈΠ·Π²ΠΎΠ΄ΠΈΡΠ΅Π»ΡΠ½ΠΎΡΡΡΡ.
Π Π°Π·ΠΌΠ΅ΡΠ°Π΅ΡΡΡ Π² Π²Π΅ΡΡ
Π½Π΅ΠΉ ΡΠ°ΡΡΠΈ ΡΡΠ°Π½ΠΊΠ° ΠΈ ΠΎΡΠ½Π°ΡΠ΅Π½Π° Π»Π΅Π·Π²ΠΈΠ΅ΠΌ. Π‘ Π΅Π΅ ΠΏΠΎΠΌΠΎΡΡΡ Π½Π΅ΠΏΠΎΡΡΠ΅Π΄ΡΡΠ²Π΅Π½Π½ΠΎ ΠΎΡΡΡΠ΅ΡΡΠ²Π»ΡΠ΅ΡΡΡ ΡΡΠ±ΠΊΠ° ΠΌΠ΅ΡΠ°Π»Π»Π°;
ΠΡΠΈ ΠΈΡ
Π½Π°Π»ΠΈΡΠΈΠΈ ΡΠ΅Π·ΡΠ»ΡΡΠ°Ρ ΠΌΠΎΠΆΠ΅Ρ Π±ΡΡΡ ΠΌΠ΅Π½Π΅Π΅ ΠΊΠ°ΡΠ΅ΡΡΠ²Π΅Π½Π½ΡΠΌ, Π° ΡΠ΄Π°Ρ Π½Π΅Π΄ΠΎΡΡΠ°ΡΠΎΡΠ½ΠΎ ΡΠΎΡΠ½ΡΠΌ. ΠΡΠΎΠΌΠ΅ ΡΠΎΠ³ΠΎ, ΠΏΠΎΠ²ΡΡΠ°Π΅ΡΡΡ ΡΠΈΡΠΊ ΡΡΠ°Π²ΠΌΠΈΡΠΎΠ²Π°Π½ΠΈΡ ΡΠ°Π±ΠΎΡΠ½ΠΈΠΊΠ°. ΠΠ΅ΠΎΠ±Ρ
ΠΎΠ΄ΠΈΠΌΠΎ ΠΏΡΠΎΠΊΠΎΠ½ΡΡΠΎΠ»ΠΈΡΠΎΠ²Π°ΡΡ, ΡΡΠΎΠ±Ρ ΠΏΠ°ΡΠ°ΠΌΠ΅ΡΡΡ ΡΠ°Π±ΠΎΡΡ ΠΎΠ±ΠΎΡΡΠ΄ΠΎΠ²Π°Π½ΠΈΡ Π½Π΅ Π²ΡΡ
ΠΎΠ΄ΠΈΠ»ΠΈ Π·Π° ΠΏΡΠ΅Π΄Π΅Π»Ρ Π½ΠΎΡΠΌΠ°ΡΠΈΠ²Π½ΡΡ
, ΠΈ ΠΏΡΠΎΠ²Π΅ΡΡΠΈ ΠΈΡ
Π½Π°ΡΡΡΠΎΠΉΠΊΡ Ρ ΡΡΠ΅ΡΠΎΠΌ ΡΠ²ΠΎΠΉΡΡΠ² ΠΌΠ°ΡΠ΅ΡΠΈΠ°Π»Π°, ΠΊΠΎΡΠΎΡΡΠΉ Π±ΡΠ΄Π΅Ρ ΠΎΠ±ΡΠ°Π±Π°ΡΡΠ²Π°ΡΡΡΡ. Π’ΠΎΠ»ΡΠΊΠΎ ΠΏΠΎΡΠ»Π΅ Π²ΡΠΏΠΎΠ»Π½Π΅Π½ΠΈΡ ΡΡΠΈΡ
ΡΡΠ΅Π±ΠΎΠ²Π°Π½ΠΈΠΉ ΠΌΠΎΠΆΠ½ΠΎ Π½Π°ΡΠΈΠ½Π°ΡΡ ΡΡΠ±ΠΊΡ. Π ΡΠ»ΡΡΠ°Π΅ ΠΈΡΠΏΠΎΠ»ΡΠ·ΠΎΠ²Π°Π½ΠΈΡ Π³ΠΈΠ»ΡΠΎΡΠΈΠ½Ρ ΡΠ»Π΅Π΄ΡΠ΅Ρ ΠΏΡΠΈΠ΄Π΅ΡΠΆΠΈΠ²Π°ΡΡΡΡ ΡΠΎΠ΄Π΅ΡΠΆΠ°ΡΠΈΡ
ΡΡ Π² ΡΠ΅Ρ
Π½ΠΈΡΠ΅ΡΠΊΠΎΠΉ Π΄ΠΎΠΊΡΠΌΠ΅Π½ΡΠ°ΡΠΈΠΈ ΠΏΡΠ°Π²ΠΈΠ».

ΠΡΠΏΠΎΠ»Π½Π΅Π½ΠΈΠ΅ ΡΠΈΠ·ΠΈΡΠ΅ΡΠΊΠΈΡ
Π΄Π΅ΠΉΡΡΠ²ΠΈΠΉ, ΡΡΠ΅Π±ΡΡΡΠΈΡ
Π·Π½Π°ΡΠΈΡΠ΅Π»ΡΠ½ΠΎΠ³ΠΎ ΠΈΡΠΏΠΎΠ»ΡΠ·ΠΎΠ²Π°Π½ΠΈΡ ΡΡΠΊ ΠΈ Π½ΠΎΠ³ ΠΈ Π΄Π²ΠΈΠΆΠ΅Π½ΠΈΠΉ Π²ΡΠ΅Π³ΠΎ ΡΠ΅Π»Π°, ΡΠ°ΠΊΠΈΡ
ΠΊΠ°ΠΊ Π»Π°Π·Π°Π½ΠΈΠ΅, ΠΏΠΎΠ΄Π½ΡΡΠΈΠ΅ ΡΡΠΆΠ΅ΡΡΠ΅ΠΉ, Π±Π°Π»Π°Π½ΡΠΈΡΠΎΠ²Π°Π½ΠΈΠ΅, Ρ
ΠΎΠ΄ΡΠ±Π°, Π½Π°ΠΊΠ»ΠΎΠ½Ρ ΠΈ ΡΠ°Π±ΠΎΡΠ° Ρ ΠΌΠ°ΡΠ΅ΡΠΈΠ°Π»Π°ΠΌΠΈ.
Π‘Π±ΠΎΡ, ΠΊΠΎΠ΄ΠΈΡΠΎΠ²Π°Π½ΠΈΠ΅, ΠΊΠ°ΡΠ΅Π³ΠΎΡΠΈΠ·Π°ΡΠΈΡ, ΡΠ°ΡΡΠ΅Ρ, ΡΠ°Π±ΡΠ»ΠΈΡΠΎΠ²Π°Π½ΠΈΠ΅, Π°ΡΠ΄ΠΈΡ ΠΈΠ»ΠΈ ΠΏΡΠΎΠ²Π΅ΡΠΊΠ° ΠΈΠ½ΡΠΎΡΠΌΠ°ΡΠΈΠΈ ΠΈΠ»ΠΈ Π΄Π°Π½Π½ΡΡ
.

ΠΠΎΡΡΠ°Π½ΠΎΠ²ΠΊΠ° Π΄ΠΎΠ»Π³ΠΎΡΡΠΎΡΠ½ΡΡ
ΡΠ΅Π»Π΅ΠΉ ΠΈ ΠΎΠΏΡΠ΅Π΄Π΅Π»Π΅Π½ΠΈΠ΅ ΡΡΡΠ°ΡΠ΅Π³ΠΈΠΉ ΠΈ Π΄Π΅ΠΉΡΡΠ²ΠΈΠΉ Π΄Π»Ρ ΠΈΡ
Π΄ΠΎΡΡΠΈΠΆΠ΅Π½ΠΈΡ.
..